Запчасти Case IH 9370 (6-100) - 24 SPEED SYNCHROSHIFT TRANSMISSION ASSEMBLY (06) - POWER TRAIN

Схема запчастей Case IH 9370 - (6-100) - 24 SPEED SYNCHROSHIFT TRANSMISSION ASSEMBLY (06) - POWER TRAIN
8
11
14
7
3
5
6
16
9
20
21
15
12
2
18
2
1
19
13
4
22
8
17
FIT
1:1
100%

Артикул

Название

Примечание

Количество

90-7812T91

TRANSMISSION

ASSEMBLY - mechanical shift, 24-speed, parts list Figures 6-066 - 6-100, Includes: Ref. 1 - 9

1шт.

90-8009T91

VALVE

ASSEMBLY - lock out, Includes: Ref. 1 - 9

1шт.

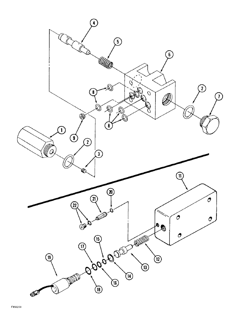
1

90-8151T1

PLUG

- hex cap

1шт.

2

90-8152T1

GASKET

O-RING - plug

2шт.

3

90-8021T1

PLUG

- orifice, lock out valve

1шт.

4

90-8153T1

SPOOL

- lock out valve

1шт.

5

90-8154T1

SPRING

- return

1шт.

6

90-8019T1

VALVE BODY

BODY - lock out valve

1шт.

7

90-8155T1

PLUG

- port

1шт.

8

90-8020T1

GASKET

O-RING - seal

5шт.

9

90-8156T1

PLUG

- orifice

1шт.

90-7812T91

TRANSMISSION

ASSEMBLY - mechanical shift, 24-speed, parts list Figures 6-066 - 6-100, hi-lo contol valve, Includes: Ref. 11 - 22

1шт.

90-8260T1

VALVE

ASSEMBLY - control, hi-lo, Includes: Ref. 11 - 22

1шт.

11

NSS

NOT SOLD SEPARAT

BODY - valve, hi-lo control

1шт.

12

NSS

NOT SOLD SEPARAT

SPRING - spool, hi-lo contol valve

1шт.

13

NSS

NOT SOLD SEPARAT

SPOOL - valve selector, hi-lo contol

1шт.

14

33-1534T1

RING, SNAP

RING - snap, hi-lo contol valve

1шт.

33-1535T1

SOLENOID

VALVE ASSEMBLY - solenoid, hi-lo contol, Includes: Ref. 15 - 19

1шт.

371737A1R

REMAN-SOLENOID

Reman for New PN 33-1535T1

1шт.

371737A1C

CORE-SOLENOID

Return Number

1шт.

33-1536T1

SEAL PACKAGE

KIT - O-ring, solenoid valve, hi-lo contol, Includes: Ref. 15 - 18

1шт.

15

NSS

NOT SOLD SEPARAT

O-RING - solenoid, hi-lo contol valve

1шт.

16

NSS

NOT SOLD SEPARAT

O-RING - solenoid, hi-lo contol valve

1шт.

17

NSS

NOT SOLD SEPARAT

O-RING - solenoid, hi-lo contol valve

1шт.

18

NSS

NOT SOLD SEPARAT

O-RING - solenoid, hi-lo contol valve

1шт.

19

NSS

NOT SOLD SEPARAT

VALVE - solenoid, hi-lo contol valve

1шт.

20

33-1537T1

O-RING

- seal, filter, hi-lo contol valve

1шт.

21

33-1538T1

FILTER

- conical, hi-lo contol valve

1шт.

22

33-1539T1

PLUG

- filter, hi-lo contol valve

1шт.

90-7927T92

GASKET KIT

KIT - gasket, transmission, Includes: parts on Figures 6-066 - 6-100, prior to P.I.N. JEE0071001, hi-lo contol valve

1шт.

90-8401T91

GASKET KIT

KIT - gasket, transmission, Includes: Ref. 2 and 8 and parts on Figures 6-066 - 6-100, P.I.N. JEE0071001 and after

1шт.

Выбрано товаров: 31