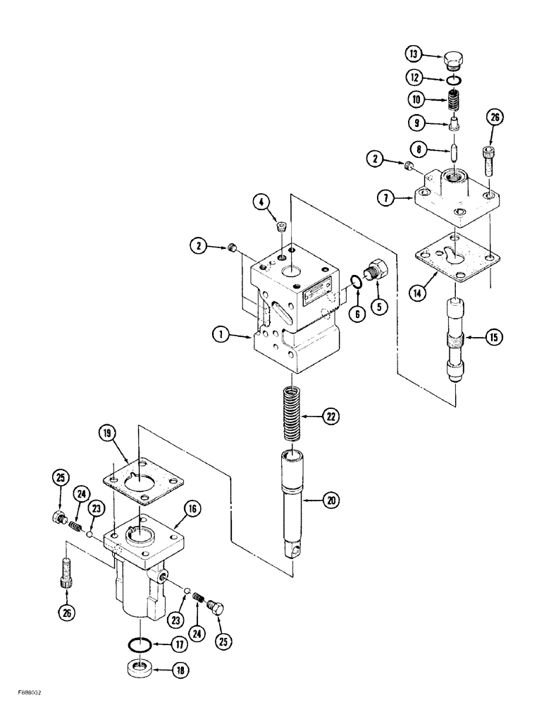
Запчасти Case IH 9370 (6-142) - PTO CLUTCH ASSEMBLY, CONTROL VALVE ASSEMBLY (CONTD) (06) - POWER TRAIN

Схема запчастей Case IH 9370 - (6-142) - PTO CLUTCH ASSEMBLY, CONTROL VALVE ASSEMBLY (CONTD) (06) - POWER TRAIN
2
18
10
4
1
6
23
23
14
19
24
24
25
17
20
16
26
13
22
9
8
26
25
5
7
12
15
2
FIT
1:1
100%

Артикул

Название

Примечание

Количество

90-7045T93

REAR PTO ASSY

CLUTCH ASSEMBLY - PTO, Includes: Ref. 1 - 26 and parts listed on Figures 6-136 - 6-142

1шт.

S9500S00F

VALVE

ASSEMBLY - PTO control, Includes: Ref. 1 - 26

1шт.

1

S9580S00F

BODY

- modulator

1шт.

2

S9720S00F

PLUG

- pipe

4шт.

4

S9730S00F

PLUG

- orifice

1шт.

5

S1390S00F

PLUG

- O-ring boss

2шт.

6

S1320S00F

O-RING

- plug

2шт.

7

S9610S00F

COVER

- valve

1шт.

8

S9620S00F

PISTON

SPOOL - reducing, valve

1шт.

9

S9640S00F

PIN

- centering

1шт.

10

S9650S00F

SPRING

- compression

1шт.

12

S9660S00F

GASKET

O-RING - plug

1шт.

13

S9670S00F

PLUG

- O-ring boss

1шт.

14

S9600S00F

GASKET

- cover

1шт.

Part of PTO clutch overhaul kit P/N S9870S01F.

1шт.

15

S9590S00F

PISTON

SPOOL - modulator

1шт.

16

S9550S00F

CAP

COVER - control stem

1шт.

17

S9540S00F

GASKET

O-RING - seal

1шт.

18

S9530S00F

SEAL

- control stem

1шт.

19

S9570S00F

GASKET

- stem cover

1шт.

Part of PTO clutch overhaul kit P/N S9870S01F.

1шт.

20

S9520S00F

STEM

- control

1шт.

22

S9560S00F

SPRING

- compression

1шт.

23

S9690S00F

BALL

- steel

2шт.

24

S9700S00F

SPRING

- compression

2шт.

25

S9710S00F

PLUG

- hex

2шт.

26

S9680S00F

SCREW

BOLT - hex

8шт.

S9870S01F

KIT

- overhaul, PTO clutch, Includes: Ref. 14 and 19, and parts on Figures 6-136 - 6-142

1шт.

Выбрано товаров: 28