Запчасти Case IH 9370 (2-02) - RADIATOR MOUNTING AND SHROUD, 9370 AND 9380 ONLY (02) - ENGINE

Схема запчастей Case IH 9370 - (2-02) - RADIATOR MOUNTING AND SHROUD, 9370 AND 9380 ONLY (02) - ENGINE
10
9
24
13
12
6
9
20
14
16
4
28
24
15
17
22
5
7
3
2
1
23
9
8
29
11
21
23
19
FIT
1:1
100%

Артикул

Название

Примечание

Количество

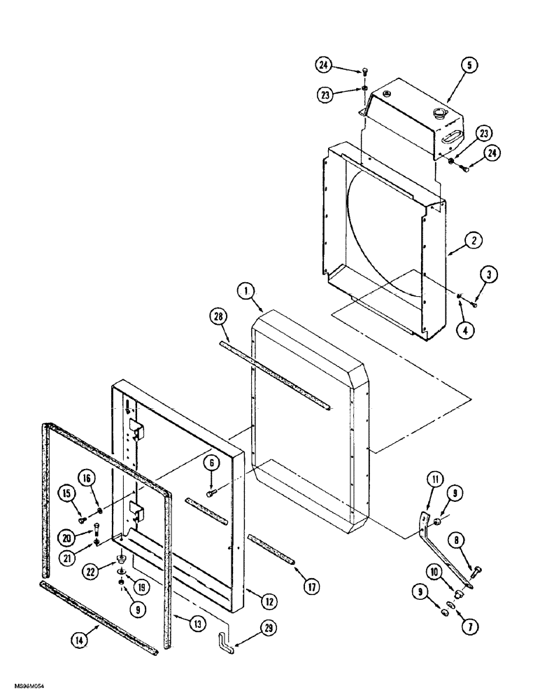
1

90-8369T1

RADIATOR

- engine cooling, 9370 tractor, replaces 90-7675T1 radiator

1шт.

1

90-8263T1

RADIATOR

- engine cooling, 9380 tractor, replaces 90-7674T1 radiator

1шт.

2

90-7680T1

DEFLECTOR

SHROUD - fan, prior to P.I.N. JEE003660

1шт.

2

90-8363T2

SHROUD

- fan, P.I.N. JEE003660 and after

1шт.

3

426-410

BOLT,Hex, 1/4" - 20 x 5/8", Gr 8

- hex, 1/4 NC x 5/8 inch, grade 8

10шт.

4

495-21031

WASHER,1/4"

- flat, 5/16 x 3/4 x 1/16 inch

10шт.

5

90-7701T1

RESERVOIR

TANK - fill, radiator, See Figure 2-04 for service parts

1шт.

6

426-824

BOLT,Hex, 1/2" - 13 x 1-1/2", Gr 8

- hex, 1/2 NC x 1-1/2 inch, grade 8

2шт.

7

19-961

WASHER,17/32" x 1 1/2" x 1/8"

- flat

2шт.

8

426-836

BOLT,Hex, 1/2" - 13 x 2-1/4", Gr 8

- hex, 1/2 NC x 2-1/4 inch, grade 8

2шт.

9

231-1448

NUT,1/2"-13, GB

- hex, self-locking, 1/2 inch NC

6шт.

10

L13142

BUSHING

MOUNT - isolator, rubber

2шт.

11

90-7598T1

SUPPORT

- radiator

2шт.

12

90-7683T1

FRAME

PLATE - mounting, radiator

1шт.

13

70-2987T1

SEAL

- formed rubber, adhesive-backed, 3302 mm (130 inch) long, cut from F43117X bulk seal, see below

1шт.

14

90-6832T1

SEAL

- formed rubber, 1124 mm (44-1/4 inch) long, cut from L107724 bulk seal, see below

1шт.

15

426-610

BOLT,Hex, 3/8" - 16 x 5/8", Gr 8

- hex, 3/8 NC x 5/8 inch, grade 8

10шт.

16

495-11041

WASHER,0.406" ID x 0.812" OD x 0.065" W

(Flat, 13/32 x 13/16 x 1/16") 3/8", SAE

10шт.

17

70-5265T1

SEAL

- foam, 711 mm (28 inch) long, cut from 70-5259T1X bulk seal, see below

1шт.

19

495-21050

WASHER,7/16"

- flat, 1/2 x 1-1/4 x 5/64 inch

2шт.

20

426-848

BOLT,Hex, 1/2" - 13 x 3", Gr 8

- hex, 1/2 NC x 3 inch, grade 8

2шт.

21

19-961

WASHER,17/32" x 1 1/2" x 1/8"

- flat, 1/2 x 1-3/4 x 1/8 inch

2шт.

22

47-4208

RUBBER BUSHING

MOUNT - insulator, rubber

2шт.

23

495-11034

WASHER,5/16", SAE

5/16" SAE (flat, 11/32 x 11/16 x 1/16")

8шт.

24

426-512

BOLT,Hex, 5/16" - 18 x 3/4", Gr 8

- hex, 5/16 NC x 3/4 inch, grade 8

8шт.

28

70-5265T1

SEAL

- foam, 711 mm (28 inch) long, cut from 70-5259T1X bulk seal, see below

1шт.

29

70-5848T1

SEAL

TRIM - edge, 140 mm (5-1/2 inch) long, cut from F64277X bulk trim, see below

1шт.

70-5259T1X

SEAL

- foam, bulk, 3048 mm (120 inch) long

1шт.

F43117X

SEAL

- formed rubber, adhesive-backed, bulk, 15 (9/16) x 31 (1-3/16) x 30480 mm (1200 inch) long

1шт.

L107724

SEAL

SEAL - formed rubber, 1232 mm (48-1/2 inch) long

1шт.

F64277X

SEAL

TRIM - edge, bulk, 14478 mm (570 inch) long

1шт.

Выбрано товаров: 31