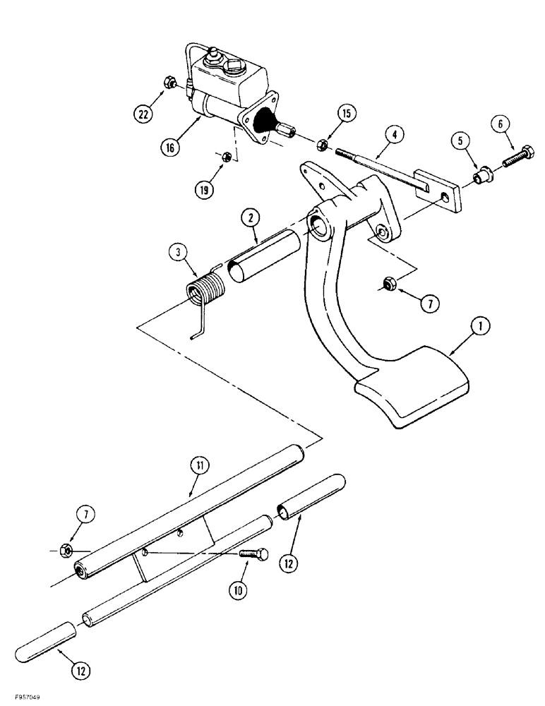
Запчасти Case IH 9380 (7-04) - BRAKE CONTROLS, 9380 AND 9390 ONLY (07) - BRAKES

Схема запчастей Case IH 9380 - (7-04) - BRAKE CONTROLS, 9380 AND 9390 ONLY (07) - BRAKES
3
4
11
7
22
19
12
10
16
12
7
2
1
6
15
5
FIT
1:1
100%

Артикул

Название

Примечание

Количество

1

60-6835T1

PEDAL

- brake

1шт.

2

60-6836T1

RING RACE

BUSHING - pivot

1шт.

3

11-19

SPRING

- torsion, pedal return

1шт.

4

60-4306T1

THREADED ROD

ROD - push, master cylinder

1шт.

5

60-4337T1

FLANGED BEARING

BUSHING - flanged

1шт.

6

326-832

BOLT,Hex, 1/2" - 13 x 2", Gr 8

1шт.

7

425-108

NUT,1/2" - 13, Gr 5

NUT, , Hex 1/2"-13, G5

3шт.

10

426-820

BOLT,Hex, 1/2" - 13 x 1-1/4", Gr 8

2шт.

11

60-5074T1

PEDAL

MOUNT - pedal, brake and clutch

1шт.

12

1-3520

BUMPER

- pedal stop, brake and clutch

2шт.

15

425-1510

JAM NUT,Jam, 5/8"-18, G5

- hex, jam, 5/8 inch NF

1шт.

16

60-2821T91

MASTER CYLINDER

CYLINDER ASSEMBLY - brake master, parts list Figure 7-18

1шт.

19

231-1446

NUT,3/8" - 16, Gr 5

NUT, LOCK, 3/8"-16, GB

3шт.

22

217-430

PLUG,Hex Soc, 1/8" - 27 NPTF

- hex socket headless, 1/8 inch PT

1шт.

Выбрано товаров: 14