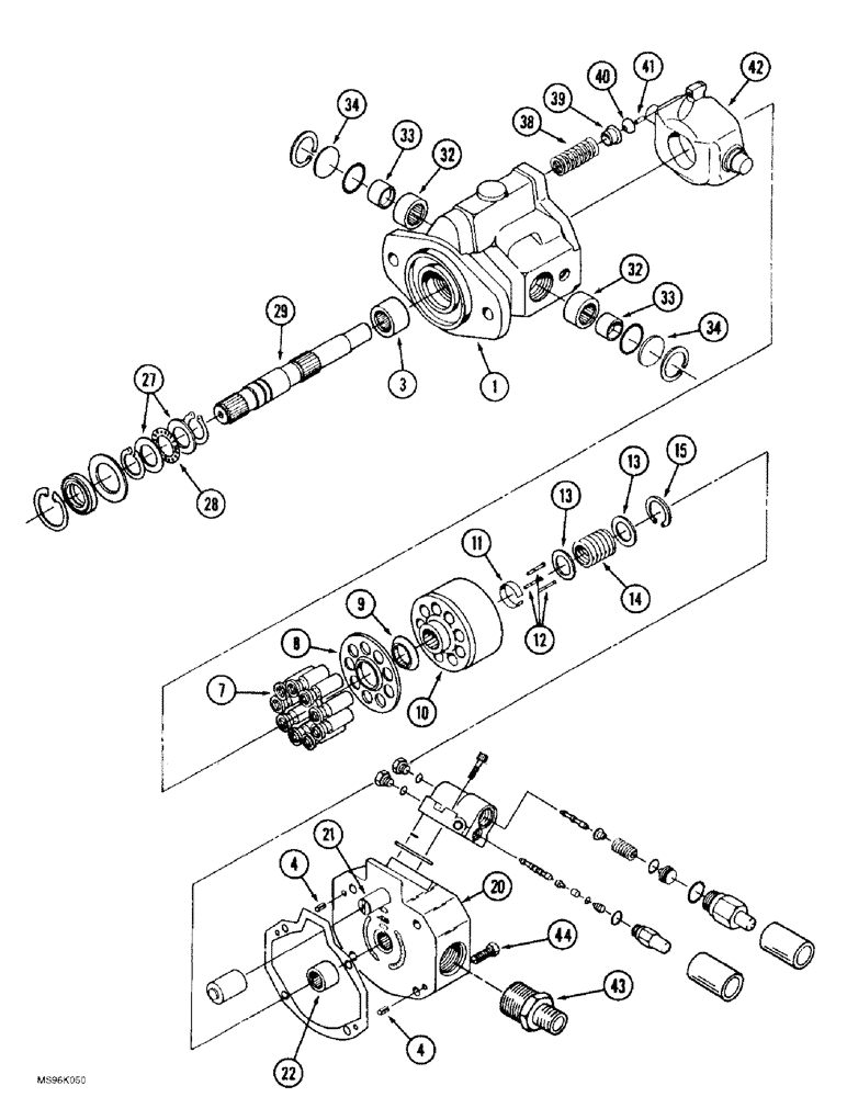
Запчасти Case IH 9380 (8-024) - HYDRAULIC PISTON PUMP ASSEMBLY (08) - HYDRAULICS

Схема запчастей Case IH 9380 - (8-024) - HYDRAULIC PISTON PUMP ASSEMBLY (08) - HYDRAULICS
4
11
40
39
3
32
29
7
9
44
20
38
28
21
34
13
33
43
41
1
34
8
15
12
27
22
32
33
4
42
13
10
14
FIT
1:1
100%

Артикул

Название

Примечание

Количество

50-3547T92

PUMP,45.39 CC

ASSEMBLY - piston, hydraulic, Includes: Ref. 1 - 43 and 47 - 87 on Figure 8-026

1шт.

392985a1 is the housing sub assembly of 50-3547T92. bj 22mar00.

1шт.

50-3547T92R

REMAN-HYD PUMP

9370, 9380, 9390

1шт.

50-3547T92C

CORE-HYDRAULIC PUMP

Return Number

1шт.

50-2791T92

HOUSING

ASSEMBLY - pump, Includes: Ref. 1 - 4

1шт.

1

NSS

NOT SOLD SEPARAT

HOUSING - pump

1шт.

3

F60368

NEEDLE BEARING

BEARING - needle

1шт.

4

38-11608

LOCK PIN,1/4" x 1/2", Slotted

PIN, LOCK, , Replaces 138-127 pin 1/4" x 1/2", Slotted

2шт.

50-2801T1

CYLINDER

KIT - rotating, piston, Includes: Ref. 7 - 15

1шт.

7

NSS

NOT SOLD SEPARAT

PISTON - pump

9шт.

8

NSS

NOT SOLD SEPARAT

PLATE - shoe

1шт.

9

NSS

NOT SOLD SEPARAT

WASHER - spherical

1шт.

10

NSS

NOT SOLD SEPARAT

BLOCK - cylinder, piston

1шт.

11

NSS

NOT SOLD SEPARAT

RETAINER - hydraulic piston

1шт.

12

NSS

NOT SOLD SEPARAT

PIN - block

3шт.

13

NSS

NOT SOLD SEPARAT

WASHER - spring

2шт.

14

NSS

NOT SOLD SEPARAT

SPRING - block

1шт.

15

NSS

NOT SOLD SEPARAT

RING - retaining

1шт.

50-2804T91

PLATE

ASSEMBLY - back, Includes: Ref. 20 & 21

1шт.

20

NSS

NOT SOLD SEPARAT

PLATE - back

1шт.

21

NSS

NOT SOLD SEPARAT

GUIDE - pin

1шт.

22

G10642

NEEDLE BEARING,Needle, 22.23mm ID x 28.57mm OD x 19.05mm W

BEARING - needle

1шт.

27

50-2788T1

RING RACE

WASHER - thrust, bearing

2шт.

28

T36441

THRUST BEARING,1.127" ID x 1.74" OD x 0.0781"

BEARING - thrust

1шт.

29

50-3275T1

SHAFT

- drive, pump

1шт.

32

A14858

NEEDLE BEARING,Needle, 28.56mm ID x 34.94mm OD x 19.05mm W

BEARING - needle

2шт.

33

D66352

BUSHING

RACE - bearing

2шт.

34

D66359

COVER

- trunnion

2шт.

38

50-2798T1

SPRING

- cam plate

1шт.

39

50-2799T1

COLLAR

- spring

1шт.

40

50-1793T1

BUTTON

- pivot

1шт.

41

38-11208

LOCK PIN,3/16" x 1/2", Slotted

Pin, 3/16" x 1/2", Slotted

1шт.

42

1266919C1

PLATE

CAM - piston

1шт.

43

218-5062

HYD CONNECTOR,7/8"-14, 37 Degree x 7/8"-14, O-Ring

ADAPTER - straight, 7/8-14 inch flare x O-ring boss

2шт.

44

19-799

BOLT,Hex, 3/8" - 16 x 1 1/4", Gr 8

1шт.

Выбрано товаров: 35