Запчасти Case IH 9380 (8-040) - HYDRAULIC OIL COOLER MOUNTING (08) - HYDRAULICS

Схема запчастей Case IH 9380 - (8-040) - HYDRAULIC OIL COOLER MOUNTING (08) - HYDRAULICS
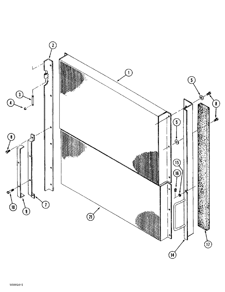
21
1
9
4
17
7
16
2
14
5
3
8
10
15
8
5
FIT
1:1
100%

Артикул

Название

Примечание

Количество

1

90-6708T1

OIL COOLER

COOLER - oil, hydraulic, 17.12" tall, used on 9370 and 9380

1шт.

1

90-8163T1

COOLER, OIL

COOLER - oil, hydraulic, 20.12" tall, used on 9380 and 9390

1шт.

2

90-6847T1

SUPPORT

BRACE - cooler mounting, with hinge, used on the 9370 and 9380

1шт.

2

246513A1

SUPPORT

BRACE - cooler mounting, with hinge, used on the 9390

1шт.

3

70-1996T3

PIN,6.35mm OD x 111mm L

- hinge

2шт.

4

70-2600T2

CIRCLIP

RING - retaining

4шт.

5

495-21038

WASHER,5/16"

(flat, 3/8 x 7/8 x 3/32") 5/16"

2шт.

7

90-6846T1

SUPPORT

BRACKET - mounting

1шт.

8

426-58

BOLT,Hex, 5/16" - 18 x 1/2", Gr 8

- hex, 5/16 NC x 1/2 inch, grade 8

12шт.

9

90-6845T1

MOUNTING CLIP

CLAMP - hose

1шт.

10

426-528

BOLT,Hex, 5/16" - 18 x 1-3/4", Gr 8

- hex, 5/16 NC x 1-3/4 inch, grade 8

2шт.

14

90-6965T1

ANGLE BAR

BRACE - cooler mounting, with handle, used on the 9370 and 9380

1шт.

14

246515A1

ANGLE

BRACE - cooler mounting, with handle, used on the 9390

1шт.

15

495-21044

WASHER,3/8"

(7/16 x 1 x 5/64 inch) 3/8"

1шт.

16

19-5400

PIN

- hair, 1/8 inch

1шт.

17

60-6505T1

FOAM

SEAL - foam, 746 mm (29-3/8 inch) long, cut from 60-4595T1 bulk seal, See below

1шт.

21

60-6711T1

CONDENSER

- air conditioning

1шт.

60-4595T1

FOAM

SEAL - foam, bulk, 2743 mm (108 inch) long

1шт.

Выбрано товаров: 18