Запчасти Case IH 9380 (9-022) - DRAWBAR, REYNOLDS, IF USED (09) - CHASSIS/ATTACHMENTS

Схема запчастей Case IH 9380 - (9-022) - DRAWBAR, REYNOLDS, IF USED (09) - CHASSIS/ATTACHMENTS
12
13
1
7
6
3
5
11
2
9
16
17
4
8
10
12
14
15
11
FIT
1:1
100%

Артикул

Название

Примечание

Количество

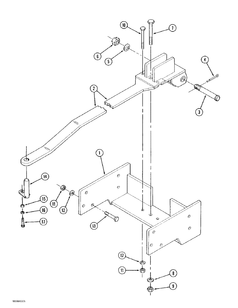
334662A1

DRAWBAR

ASSEMBLY - Reynolds, Includes: Ref. 1 - 17

1шт.

Purchase this part along with its component parts direct from Reynolds, McAllen, Texas.

1шт.

1

336135A1

HANGER

- drawbar

1шт.

2

336136A1

DRAWBAR

- Reynolds

1шт.

336133A1

HITCH PIN

PIN ASSEMBLY - drawbar, Includes: Ref. 3 - 6

1шт.

3

NSS

NOT SOLD SEPARAT

PIN - drawbar

1шт.

4

NSS

NOT SOLD SEPARAT

PIN - cotter

1шт.

5

NSS

NOT SOLD SEPARAT

WASHER - flat, 5/8 inch

1шт.

6

NSS

NOT SOLD SEPARAT

NUT - hex slotted, 1-1/2-6 inch

1шт.

7

326-24144

BOLT,Hex, 1-1/2" - 6 x 9", Gr 8

- hex

1шт.

8

495-11162

WASHER,1 1/2" x 3" x .165"

- flat, 1-5/8 x 3 x 5/32 inch

1шт.

9

329-1024

NUT,1 1/2"-6, G8

1шт.

10

413-16112

BOLT,Hex, 1" - 8 x 7", Gr 5

- hex, 1 NC x 7 inch

2шт.

Per ECN F98936 correct bolt is 426-16112 it is a HEX HD 1.00 x 7.00 Grade 8 rather than the Grade 5 listed in parts list in catalog. NAPO TECH NOTE

1шт.

11

429-1016

NUT,1"-8, G8

- hex, 1 inch NC, grade 8

12шт.

12

496-21106

WASHER,1 1/16" x 2" x .209", HDN

- flat, 1-1/16 x 2 x 13/64 inch, Hardened

22шт.

13

426-1648

BOLT,Hex, 1" - 8 x 3", Gr 8

- hex, 1 NC x 3 inch, grade 8

10шт.

14

70-6013T2

PIN

- pivot, knuckle

1шт.

15

70-5967T1

SPACER,16.7mm ID x 22.2mm OD x 11.2mm

- pin

1шт.

16

496-21066

WASHER,16.6mm ID x 33.5mm OD x 3.8mm Thk

- flat, 21/32 x 1-5/16 x 5/32 inch, hardened

1шт.

17

426-1024

BOLT,Hex, 5/8" - 11 x 1-1/2", Gr 8

- hex, 5/8 NC x 1-1/2 inch, grade 8

1шт.

Выбрано товаров: 21