Запчасти Case IH 9380 (9-064) - CAB OVERHEAD CONSOLE (09) - CHASSIS/ATTACHMENTS

Схема запчастей Case IH 9380 - (9-064) - CAB OVERHEAD CONSOLE (09) - CHASSIS/ATTACHMENTS
7
11
2
23
5
13
36
16
40
34
39
25
10
4
7
35
9
8
20
6
24
12
3
15
5
19
21
31
3
37
22
12
30
18
38
14
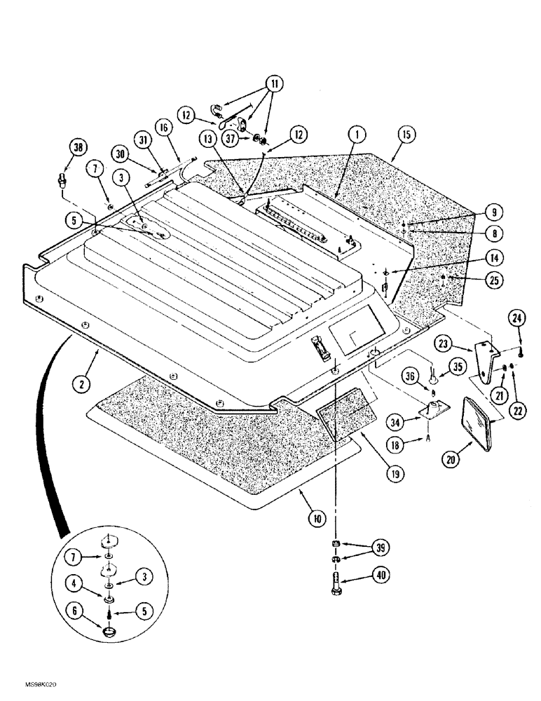
1
FIT
1:1
100%

Артикул

Название

Примечание

Количество

1

REF

INSTRUCTION

DOOR - overhead, See Figure 9-066 for correct assembly and component parts

1шт.

2

60-6254T3

PADDING

HEADLINER - cab

1шт.

3

495-31022

WASHER,#10

8шт.

4

1-8674

CAP WASHER

- trim

6шт.

5

60-6688T1

SCREW

- hex washer head, self-tapping, special

6шт.

6

60-5920T1

CAP

- trim, gray

6шт.

7

19-5668

WASHER

- flat, 1/4 x 3/4 x 3/16 inch

6шт.

8

495-11034

WASHER,5/16", SAE

5/16" SAE (flat, 11/32 x 11/16 x 1/16")

3шт.

9

425-105

NUT,5/16"-18, G5

- hex, 5/16 inch NC

3шт.

10

60-6351T1

FOAM

PAD - insulation

1шт.

11

70-5275T1

MOUNTING CLIP

CLAMP - includes U-bolt and nut

2шт.

12

60-4137T1

ROPE

- plastic coated wire, 394 mm (15-1/2 inch) long, cut from 70-5252T1 bulk rope, see below

2шт.

13

70-5269T1

FERRULE

- wire rope

4шт.

14

131-837

SPRING NUT,Tinn, U, 1/4"-20

2шт.

15

60-5924T1

NOISE PROTECTION

PAD - insulation, gray

1шт.

16

60-6516T1

HARNESS

- overhead, cab

1шт.

18

24379R1

SELF-TAP SCREW,Cross Pan Hd, #8 x 1/2"

SCREW - self-tapping, pan Phillips, No. 8-18 x 1/2 inch

2шт.

19

60-5922T1

FOAM

PAD - speaker cover, gray

2шт.

20

A177462

MIRROR

- rear view, includes mounting hardware, Includes: Ref. 21 & 22

1шт.

21

493-41026

LOCK WASHER,Ext Tooth, 1/4"

WASHER - external tooth lock, 1/4 inch

1шт.

22

19-5565

LOCK NUT,1/4"-28, GB

NUT, LOCK, 1/4"-28, GB

1шт.

23

64-86T3

SUPPORT

BRACKET - rear view mirror

1шт.

24

463-41012

SCREW,Slot Hex Wash Hd, #10-24 x 3/4"

- machine, hex slotted washer head, No. 10 NC x 3/4 inch

2шт.

25

86632551

NUT,#10-24, GB

NUT, LOCK, #10-24, GB

2шт.

30

22-823

MOUNT

MOUNT - adhesive back, strap

1шт.

31

22-824

CABLE TIE,3/16" x 7 1/4"

STRAP - tie, 7 inch

1шт.

34

83882C91

LAMP

ASSEMBLY - console illumination, Includes: Ref. 35 & 36

1шт.

35

107329C1

WIRE HARNESS

SOCKET AND CABLE - bulb

1шт.

36

D71346

TAIL LAMP,12V

BULB - lamp, No. 168

1шт.

37

492-11010

LOCK WASHER,#10

WASHER, LOCK, #10

2шт.

38

60-6256T1

ANCHOR

STUD - anchor

1шт.

39

80679

LOCK WASHER,1/20.507 CST ZND

WASHER, LOCK, 1/2"

2шт.

40

426-816

BOLT,Hex, 1/2" - 13 x 1", Gr 8

- hex, 1/2 NC x 1 inch, grade 8

1шт.

70-5252T1

ROPE

- wire, bulk, 7620 mm (300 inch) long

1шт.

Выбрано товаров: 34