Запчасти Case IH 9390 (2-06) - RADIATOR MOUNTING AND SHROUD, 9390 ONLY (02) - ENGINE

Схема запчастей Case IH 9390 - (2-06) - RADIATOR MOUNTING AND SHROUD, 9390 ONLY (02) - ENGINE
4
17
11
14
8
25
20
6
22
13
1
15
26
8
8
30
10
28
2
9
12
16
10
3
8
25
29
FIT
1:1
100%

Артикул

Название

Примечание

Количество

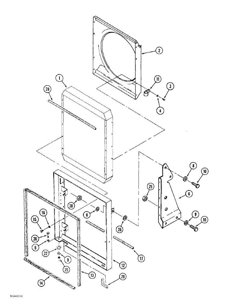
1

90-8361T1

RADIATOR

- engine cooling, See Figure 2-08

1шт.

2

90-8379T1

DEFLECTOR

SHROUD - fan

1шт.

3

426-410

BOLT,Hex, 1/4" - 20 x 5/8", Gr 8

- hex, 1/4 NC x 5/8 inch, grade 8

8шт.

4

495-21031

WASHER,1/4"

- flat, 5/16 x 3/4 x 1/16 inch

8шт.

6

70-6857T1

SUPPORT

MOUNT - radiator, right-hand

1шт.

7

70-6858T1

SUPPORT

MOUNT - radiator, left-hand, not shown

1шт.

8

19-961

WASHER,17/32" x 1 1/2" x 1/8"

- flat

8шт.

9

495-11053

WASHER,1/2", SAE

(17/32" x 1-1/16" x 3/32") 1/2", SAE

8шт.

10

326-832

BOLT,Hex, 1/2" - 13 x 2", Gr 8

6шт.

11

515-23190

CLAMP,3/4", Insul, 3/8" Bolt

P-type 3/4", Insul, 3/8" Bolt

1шт.

12

90-8380T1

FRAME ASSY

PLATE - mounting, radiator

1шт.

13

70-2987T1

SEAL

- formed rubber, adhesive-backed, 3302 mm (130 inch) long, cut from F43117X bulk seal, see below

1шт.

14

90-6832T1

SEAL

- formed rubber, 1124 mm (44-1/4 inch) long, cut from L107724 bulk seal, see below

1шт.

15

426-610

BOLT,Hex, 3/8" - 16 x 5/8", Gr 8

- hex, 3/8 NC x 5/8 inch, grade 8

8шт.

16

495-11041

WASHER,0.406" ID x 0.812" OD x 0.065" W

(Flat, 13/32 x 13/16 x 1/16") 3/8", SAE

8шт.

17

70-5265T1

SEAL

- foam, 711 mm (28 inch) long, cut from 70-5259T1X bulk seal, see below

1шт.

20

426-848

BOLT,Hex, 1/2" - 13 x 3", Gr 8

- hex, 1/2 NC x 3 inch, grade 8

2шт.

22

47-4208

RUBBER BUSHING

MOUNT - insulator, rubber

2шт.

25

231-1448

NUT,1/2"-13, GB

- hex, self-locking, 1/2 inch NC

6шт.

26

L13142

BUSHING

MOUNT - isolator, rubber

2шт.

28

70-5265T1

SEAL

- foam, 711 mm (28 inch) long, cut from 70-5259T1X bulk seal, see below

1шт.

29

70-5848T1

SEAL

TRIM - edge, 140 mm (5-1/2 inch) long, cut from F64277X bulk trim, see below

1шт.

30

425-108

NUT,1/2" - 13, Gr 5

NUT, , Hex 1/2"-13, G5

2шт.

70-5259T1X

SEAL

- foam, bulk, 3048 mm (120 inch) long

1шт.

F43117X

SEAL

- formed rubber, adhesive-backed, bulk, 15 (9/16) x 31 (1-3/16) x 30480 mm (1200 inch) long

1шт.

L107724

SEAL

SEAL - formed rubber, 1232 mm (48-1/2 inch) long

1шт.

F64277X

SEAL

TRIM - edge, bulk, 14478 mm (570 inch) long

1шт.

Выбрано товаров: 27