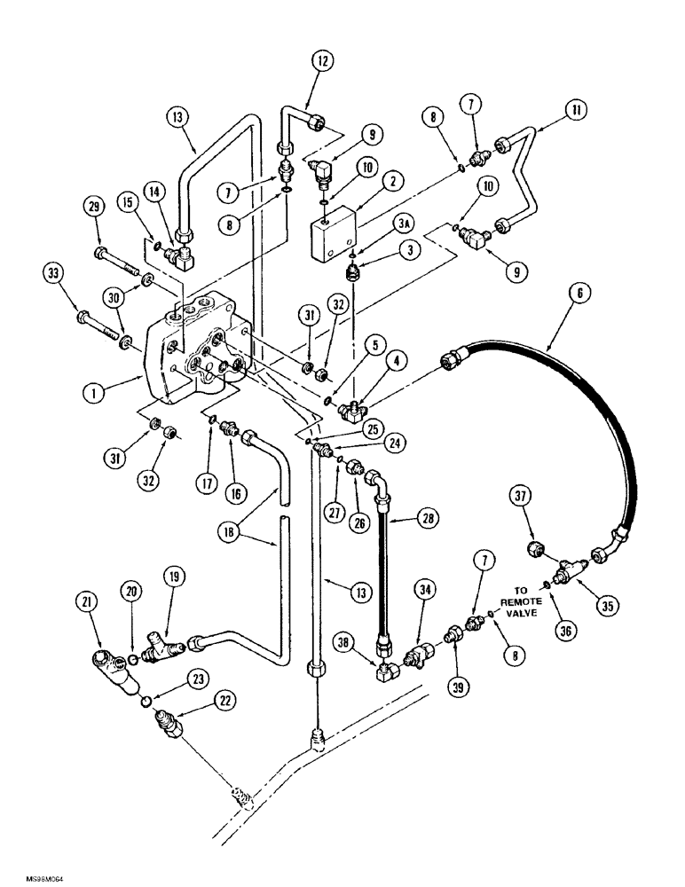
Запчасти Case IH 9390 (8-084) - THREE POINT HITCH HYDRAULICS, ELECTRONIC CONTROLLED VALVE SYSTEM, P.I.N. JEE0069665 AND AFTER (08) - HYDRAULICS

Схема запчастей Case IH 9390 - (8-084) - THREE POINT HITCH HYDRAULICS, ELECTRONIC CONTROLLED VALVE SYSTEM, P.I.N. JEE0069665 AND AFTER (08) - HYDRAULICS
16
27
1
9
31
23
13
9
3
31
32
21
2
14
38
5
12
8
20
7
29
6
7
22
30
17
7
10
32
13
3a
15
4
35
10
26
39
34
28
11
24
8
37
19
25
18
36
33
8
FIT
1:1
100%

Артикул

Название

Примечание

Количество

1

246245A1

VALVE

ASSEMBLY - control, parts list Figure 8-096

1шт.

2

50-3293T91

VALVE

ASSEMBLY - pressure reducing, parts list Figure 8-098

1шт.

3

31-3087

FITTING

ADAPTER - straight, Includes: Ref. 3A

1шт.

4

50-3621T1

ELBOW

- 90 degree, 7/8-14 flare x 1-1/16-12 inch O-ring boss, Includes: Ref. 5

1шт.

5

237-6012

O-RING,0.116" Thk x 0.924" ID, -912, Cl 6, 90 Duro

12-1, 90 Duro, .924 ID x .116" Thk

1шт.

6

31-3216

HOSE

- pressure supply

1шт.

7

218-5057

HYD CONNECTOR,9/16" - 18 JIC x 9/16" - 18 ORB

ADAPTER - straight, 9/16-18 inch flare x O-ring boss, Incl. Ref. 8

2шт.

9

218-5105

ELBOW,90 Degree Elbow, 9/16" - 18 Male JIC x 9/16" - 18 Male ORB

- 90 degree, 9/16-18 inch flare x adj O-ring boss, Includes: Ref. 10

2шт.

11

50-3639T1

HYD TUBE

TUBE - pilot pressure, pressure valve to control valve

1шт.

12

50-3638T1

HYD TUBE

TUBE - pressure reducing

1шт.

13

50-3637T1

HYD TUBE

TUBE - return, control valve to return tube

1шт.

14

218-5108

ELBOW,90 Degree Elbow, 1-1/16" - 12 Male JIC x 1-1/16" - 12 Male ORB

90º, 1-1/16-12 inch flare x adj O-ring boss, Incl. Ref. 15

1шт.

15

237-6012

O-RING,0.116" Thk x 0.924" ID, -912, Cl 6, 90 Duro

12-1, 90 Duro, .924 ID x .116" Thk

1шт.

16

218-5062

HYD CONNECTOR,7/8"-14, 37 Degree x 7/8"-14, O-Ring

ADAPTER - straight, 7/8-14 inch flare x O-ring boss, Includes: Ref. 17

1шт.

17

237-6010

O-RING,0.097" Thk x 0.755" ID, -910, Cl 6, 90 Duro

10-1, 90 Duro, .755" ID x .097" Thk

1шт.

18

50-3641T1

HYD TUBE

TUBE - pressure, control valve to return tube

1шт.

19

218-5241

TEE,7/8" - 14 Male JIC x 7/8" - 14 Male JIC x 7/8" - 14 Male ORB

- 7/8-14 inch flare branch x flare x adj O-ring boss, Includes: Ref. 20

1шт.

20

237-6010

O-RING,0.097" Thk x 0.755" ID, -910, Cl 6, 90 Duro

10-1, 90 Duro, .755" ID x .097" Thk

1шт.

21

50-2291T91

VALVE

ASSEMBLY - relief, parts list Figure 8-098

1шт.

22

31-2964

TEE

ADAPTER - straight, 7/8-14 inch thread, Includes: Ref. 23

1шт.

23

237-6010

O-RING,0.097" Thk x 0.755" ID, -910, Cl 6, 90 Duro

10-1, 90 Duro, .755" ID x .097" Thk

1шт.

24

201-101

HYD CONNECTOR,11/16" - 16 Male ORFS x 9/16" - 18 Male ORB

Adapter - straight, Incl Ref. 25 11/16"-16 ORFS x 9/16"-18 ORB

1шт.

25

238-6012

O-RING,0.07" Thk x 0.364" ID, -12, Cl 6, 90 Duro

1шт.

26

50-3649T1

VALVE

- check

1шт.

27

238-6012

O-RING,0.07" Thk x 0.364" ID, -12, Cl 6, 90 Duro

1шт.

28

31-3215

HOSE

- pressure sensing

1шт.

29

426-664

BOLT,Hex, 3/8" - 16 x 4", Gr 8

- hex, 3/8 NC x 4 inch, grade 8

1шт.

30

495-11041

WASHER,0.406" ID x 0.812" OD x 0.065" W

(Flat, 13/32 x 13/16 x 1/16") 3/8", SAE

2шт.

31

492-11038

LOCK WASHER,3/8"

WASHER, LOCK, 3/8"

2шт.

32

425-106

NUT,3/8"-16, Cl 5

2шт.

33

426-656

BOLT,Hex, 3/8" - 16 x 3-1/2", Gr 8

- hex, 3/8 NC x 3-1/2 inch, grade 8

1шт.

34

50-3593T1

TEE

VALVE - shuttle

1шт.

35

218-5247

TEE,37 Degree, 7/8"-14, 1 1/16"-12 O-Ring Run, 1 5/16"-12

- 1-5/16-12 fl branch x 7/8-14 fl x 1-1/16-12 adj O-ring, Includes: Ref. 36

1шт.

36

237-6016

O-RING,0.116" Thk x 1.171" ID, -916, Cl 6, 90 Duro

- 1-11/64 ID x 7/64 inch wide

1шт.

37

218-758

CAP,37 Degree, 1 5/16"-12

- hex, 1-5/16-12 inch, used without High Output hydraulic system

1шт.

38

218-980

ELBOW,90 Degree, 9/16"-18, 37 Degree x 9/16"-18, 37 Degree Fem Sw

- 90 degree, 9/16-18 inch flare x swivel

1шт.

39

31-2685

FITTING

ADAPTER - orfice

1шт.

3a

237-6006

O-RING,0.078" Thk x 0.468" ID, -906, Cl 6, 90 Duro

6-1, 90 Duro, .468" ID x .078" Thk

1шт.

8

237-6006

O-RING,0.078" Thk x 0.468" ID, -906, Cl 6, 90 Duro

6-1, 90 Duro, .468" ID x .078" Thk

3шт.

10

237-6006

O-RING,0.078" Thk x 0.468" ID, -906, Cl 6, 90 Duro

6-1, 90 Duro, .468" ID x .078" Thk

2шт.

Выбрано товаров: 40