Запчасти Case IH 9390 (9-004) - THREE POINT HITCH UPPER AND LOWER LINK MOUNTS, P.I.N. JEE0069308 AND AFTER (09) - CHASSIS/ATTACHMENTS

Схема запчастей Case IH 9390 - (9-004) - THREE POINT HITCH UPPER AND LOWER LINK MOUNTS, P.I.N. JEE0069308 AND AFTER (09) - CHASSIS/ATTACHMENTS
5
14
28
27
20
27
15
10
1
13
29
16
15
6
2
9
21
6
19
15
25
12
15
27
6
2
8
28
6
17
18
11
19
29
2
17
22
6
28
4
20
27
24
27
26
13
6
2
3
7
23
3
15
21
14
FIT
1:1
100%

Артикул

Название

Примечание

Количество

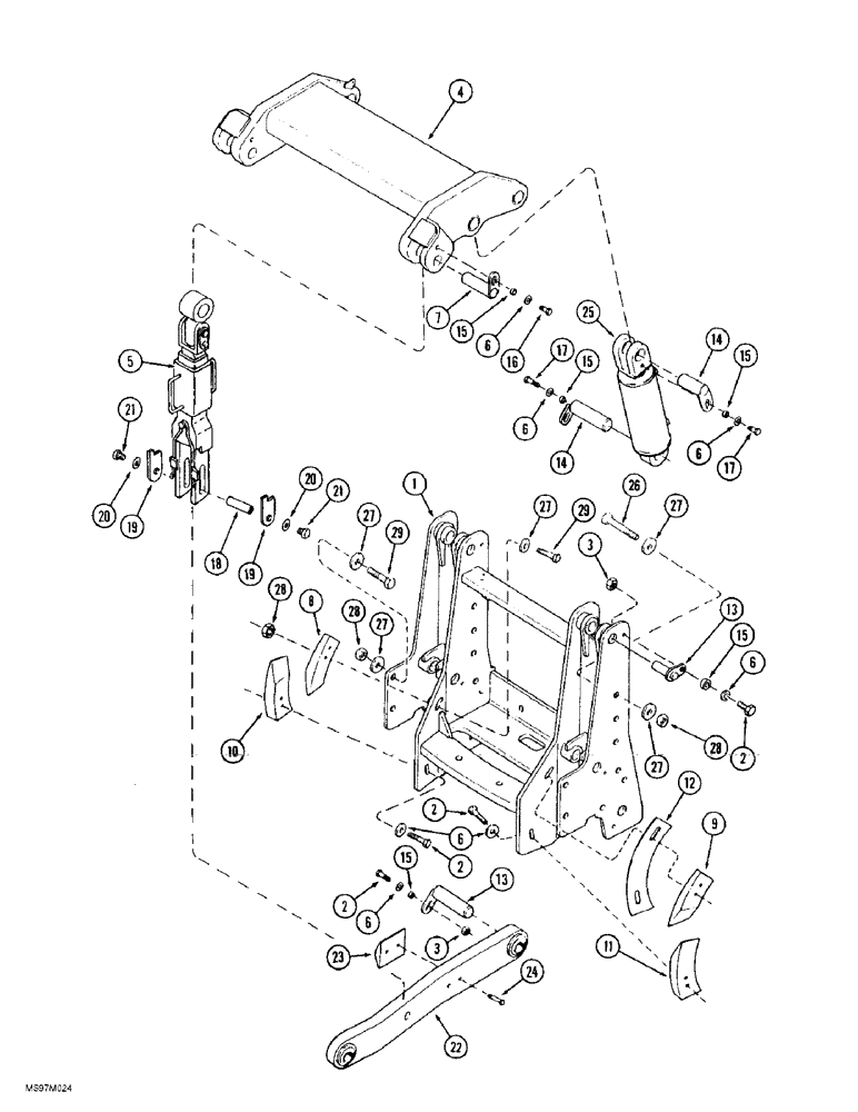
1

252653A1

SUPPORT

MOUNT - rear frame, three point hitch

1шт.

2

627-16050

BOLT,Hex, M16 x 2 x 50mm, Cl 10.9, Full Thd

14шт.

3

829-1416

NUT,M16, Cl 10

- hex, 16 mm - 2.0, class 10

6шт.

4

REF

INSTRUCTION

ROCKERSHAFT ASSEMBLY - hitch, parts list Figure 9-010

1шт.

5

253909A1

ROCKER ARM

LINK ASSEMBLY - lift, parts list Figure 9-014

2шт.

6

896-11016

WASHER,17.5mm ID x 30mm OD x 4mm Thk

18шт.

7

70-6076T2

PIN

- lift link, upper

2шт.

8

279608A1

BLOCK ASSY.

BLOCK - no sway, left-hand upper

1шт.

9

279611A1

BLOCK ASSY.

BLOCK - no sway, right-hand upper

1шт.

10

279607A1

BLOCK ASSY.

BLOCK - no sway, left-hand lower

1шт.

11

279610A1

BLOCK ASSY.

BLOCK - no sway, right-hand lower

1шт.

12

70-6387T1

LARGE PLATE

PLATE - sway block

2шт.

13

70-5972T2

PIN

- rockershaft

6шт.

14

70-5973T2

PIN

- cylinder, upper

2шт.

15

70-5967T1

SPACER,16.7mm ID x 22.2mm OD x 11.2mm

- pin

10шт.

16

627-16035

BOLT,Hex, M16 x 2 x 35mm, Cl 10.9, Full Thd

2шт.

17

426-1020

BOLT,Hex, 5/8" - 11 x 1-1/4", Gr 8

- hex, 5/8 NC x 1-1/4 inch, grade 8

2шт.

18

253900A1

PIN

- lower, draft arm

2шт.

19

253901A1

LARGE PLATE

PLATE - lockout

4шт.

20

495-21069

WASHER,5/8"

- flat, 11/16 x 1-3/4 x 9/64 inch

4шт.

21

627-16030

BOLT,Hex, M16 x 2 x 30mm, Cl 10.9, Full Thd

4шт.

22

278604A1

LINK

ARM - draft, lower link

2шт.

23

279613A1

BLOCK ASSY.

BLOCK - wear

2шт.

24

827-12065

BOLT,Hex, M12 x 1.75 x 65mm, Cl 10.9

- hex, 12 - 1.75 x 65 mm, class 10.9

4шт.

25

50-3410T91

CYLINDER ASSY.

CYLINDER ASSEMBLY - lift, parts list Figure 8-93

2шт.

26

827-24250

BOLT,Hex, M24 x 3 x 250mm, Cl 10.9

- hex, 24 - 3.0 x 250 mm, class 10.9

10шт.

27

896-11024

WASHER,26mm ID x 44mm OD x 5mm Thk

- flat, 26 ID x 44 x 5 mm, hardened

32шт.

28

829-1424

NUT,M24, Cl 10

- hex, 24 mm - 3.0, class 10.9

16шт.

29

627-24070

BOLT,Hex, M24 x 3 x 70mm, Cl 10.9, Full Thd

- hex, full threads, 24 - 3.0 x 70 mm, class 10.9

6шт.

Выбрано товаров: 29