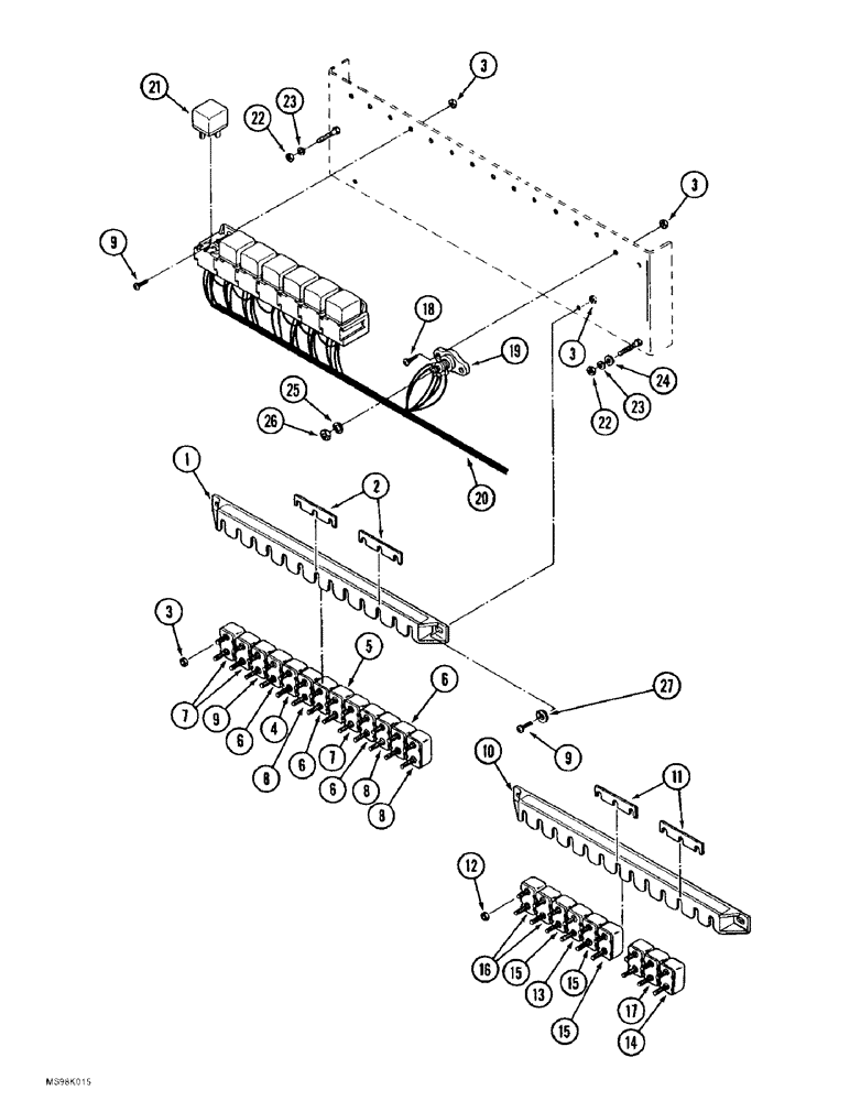
Запчасти Case IH 9390 (4-14) - OVERHEAD CIRCUIT BREAKERS AND SOLENOIDS (04) - ELECTRICAL SYSTEMS

Схема запчастей Case IH 9390 - (4-14) - OVERHEAD CIRCUIT BREAKERS AND SOLENOIDS (04) - ELECTRICAL SYSTEMS
7
22
14
10
26
11
18
15
24
3
6
3
6
27
4
15
8
9
3
2
7
19
20
8
23
21
22
16
1
5
23
12
13
6
25
6
9
9
3
8
17
15
FIT
1:1
100%

Артикул

Название

Примечание

Количество

60-7057T92

BREAKER

ASSEMBLY - circuit, no longer available, order component parts separately, Includes: Ref. 1 - 9

2шт.

1

22-674

BRACKET

- mounting, circuit breaker

1шт.

2

22-676

BREAKER

CONNECTOR - circuit breaker

2шт.

3

193-1000

NUT,Keps, w/LW,#10-32

- hex, with external tooth lock washer, No. 10 NF

1шт.

4

22-809

BREAKER

- circuit, 5 ampere

1шт.

5

22-670

BREAKER

- circuit, 10 ampere

1шт.

6

22-671

BREAKER

- circuit, 15 ampere

4шт.

7

245765C1

CIRCUIT-BREAKER,30A

BREAKER - circuit, 30 ampere

3шт.

8

22-672

BREAKER

- circuit, 20 ampere

3шт.

9

A45686

CIRCUIT-BREAKER

BREAKER - circuit, 40 ampere

1шт.

60-7063T91

BREAKER

ASSEMBLY - circuit, Includes: Ref. 10 - 17

1шт.

10

22-674

BRACKET

- mounting, circuit breaker

1шт.

11

22-676

BREAKER

CONNECTOR - circuit breaker

2шт.

12

193-1000

NUT,Keps, w/LW,#10-32

- hex, with external tooth lock washer, No. 10 NF

9шт.

13

22-809

BREAKER

- circuit, 5 ampere

1шт.

14

22-670

BREAKER

- circuit, 10 ampere

1шт.

15

22-671

BREAKER

- circuit, 15 ampere

4шт.

16

245765C1

CIRCUIT-BREAKER,30A

BREAKER - circuit, 30 ampere, replaces 22-673 breaker

2шт.

17

22-672

BREAKER

- circuit, 20 ampere

1шт.

18

459-5108

SCREW,Slotted Pan Hd, #10-32 x 1/2", G5

- machine, pan head slotted, No. 10 NF x 1/2 inch

1шт.

19

20-1451T1

BLOCK

- junction

1шт.

20

REF

INSTRUCTION

HARNESS - main cab, See Figures 4-02 and 4-04 for correct harness

1шт.

20

REF

INSTRUCTION

HARNESS - main ROPS, See Figures 4-06 and 4-08 for correct harness

1шт.

21

1983394C2

RELAY

- mini, 12 volt

8шт.

22

425-104

NUT,1/4"-20, Cl 5

- hex, 1/4 inch NC

3шт.

23

492-11025

LOCK WASHER,1/4"

WASHER, LOCK, 1/4"

2шт.

24

495-21031

WASHER,1/4"

- flat, 5/16 x 3/4 x 1/16 inch

2шт.

25

19-5577

LOCK WASHER

- lock, 3/8 inch

1шт.

26

115772

NUT

- hex, special, 3/8 inch NC

1шт.

27

495-31022

WASHER,#10

2шт.

Выбрано товаров: 30