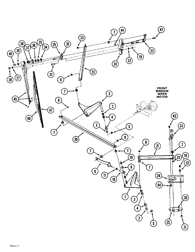
Запчасти Case IH 9390 (4-60) - SIDE WINDOW WIPERS, IF EQUIPPED (04) - ELECTRICAL SYSTEMS

Схема запчастей Case IH 9390 - (4-60) - SIDE WINDOW WIPERS, IF EQUIPPED (04) - ELECTRICAL SYSTEMS
33
26
8
33
46
1
32
25
7
3
27
23
20
38
47
8
4
43
24
19
10
3
44
37
28
40
19
25
2
5
32
35
31
24
19
43
8
4
35
3
22
7
5
7
7
9
44
6
7
8
36
7
31
23
39
45
7
21
26
11
3
FIT
1:1
100%

Артикул

Название

Примечание

Количество

35-1926T91

KIT - wiper, side and rear window with washer, order from Machinery Price List, Includes: Ref. 1 - 47

1шт.

Wiper kit also includes the parts shown on Figures 4-62 and 4-64.

1шт.

1

60-5903T1

SUPPORT

BRACKET - pivot, left-hand

1шт.

2

60-5904T1

SUPPORT

BRACKET - pivot, right-hand

1шт.

3

19-5370

WAVE WASHER

- wave, 7/16 x 5/8 x 3/64 inch

4шт.

4

19-6263

NYLON BEARING,0.38" ID x 0.59" OD x 0.38"

BEARING - flanged

4шт.

5

19-5866

RING, SNAP

RING - snap, main pivots

2шт.

6

60-6630T1

PITMAN

ARM - link, actuating

1шт.

7

19-6262

RING RACE

BEARING - snap in

7шт.

8

19-5992

RING, SNAP

RING - snap

4шт.

9

60-5994T1

SPACER

- ball joint

2шт.

10

A146456

BALL

JOINT - ball, 1/4 inch NF, actuating

1шт.

11

425-114

NUT,1/4"-28, G5

1шт.

19

111626C1

NUT

- hex, self-locking, special, 1/4 inch NC

5шт.

20

60-5899T1

ANGLE BAR

ANGLE - actuating, front

1шт.

21

60-5900T1

ANGLE BAR

ANGLE - actuating, left-hand

1шт.

22

60-5901T1

ANGLE BAR

ANGLE - actuating, right-hand

1шт.

23

D71414

CLIP

RETAINER - spring clip

2шт.

24

60-6529T2

SPACER

- shaft, pivot

2шт.

60-1436T91

PIVOT ASSY.

KIT - pivot, wiper blade, Includes: Ref. 25 - 28

2шт.

25

NSS

NOT SOLD SEPARAT

PIVOT - body and shaft, wiper blade

2шт.

26

2-4190T1

GASKET

- pivot

2шт.

27

2-4191T1

WASHER

- flat

2шт.

28

2-4192T1

NUT

- hex cap

2шт.

31

426-424

BOLT,Hex, 1/4" - 20 x 1-1/2", Gr 8

- hex, 1/4 NC x 1-1/2 inch, grade 8

4шт.

32

495-11028

WASHER,1/4", SAE

(flat, 9/32 x 5/8 x 1/16") 1/4", SAE

4шт.

F96719

SHAFT

DRIVE ASSEMBLY - shaft and pivot arm, Includes: Ref. 33 - 40

2шт.

33

NSS

NOT SOLD SEPARAT

SHAFT - wiper pivot

2шт.

34

D71417

SPECIAL WASHER

WASHER - special, flat

2шт.

35

495-81032

WASHER,18.26mm ID x 31.75mm OD x 1.7mm Thk

- flat, 23/32 x 1-1/4 x 3/64 inch

2шт.

36

D71419

NUT

- special, hex jam

2шт.

37

D71420

CAP

- shaft

2шт.

38

1267556C1

BUTTON

NUT - knurled drive

2шт.

39

1-9422

WASHER

- lock

2шт.

40

D71422

NUT

- hex, dome

2шт.

43

463-41012

SCREW,Slot Hex Wash Hd, #10-24 x 3/4"

- machine, hex slotted washer head, No. 10 NC x 3/4 inch

4шт.

44

86632551

NUT,#10-24, GB

NUT, LOCK, #10-24, GB

4шт.

45

60-1144T1

WIPER ARM

ARM - wiper, 17 inch

2шт.

60-1145T91

WIPER BLADE

BLADE ASSEMBLY - wiper, Includes: Ref. 46, 47

2шт.

46

NSS

NOT SOLD SEPARAT

FRAME - wiper

1шт.

47

2-4194T1

WIPER BLADE

BLADE - wiper, rubber, 18 inch

1шт.

Выбрано товаров: 41