Запчасти Case IH 9390 (4-72) - HORN AND MOUNTING (04) - ELECTRICAL SYSTEMS

Схема запчастей Case IH 9390 - (4-72) - HORN AND MOUNTING (04) - ELECTRICAL SYSTEMS
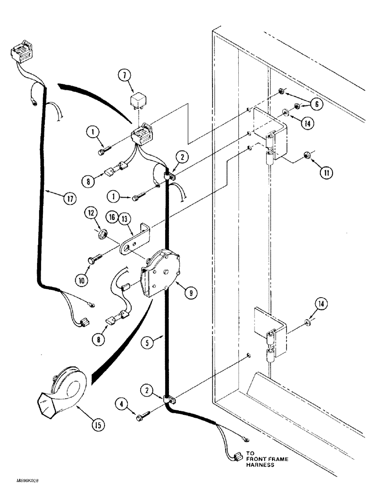
1
6
1
8
10
17
13
14
2
5
2
9
11
4
14
15
8
12
16
7
FIT
1:1
100%

Артикул

Название

Примечание

Количество

1

463-41012

SCREW,Slot Hex Wash Hd, #10-24 x 3/4"

- machine, hex slotted washer head, No. 10 NC x 3/4 inch

2шт.

2

515-2395

CLAMP,3/8", Insul, 3/8" Bolt

2шт.

4

282-44712

SELF-TAP SCREW,Hex Wash Hd, 1/4"-20 x 3/4"

SCREW - self-drilling tapping, hex washer head, 1/4 NC x 3/4 inch

1шт.

5

60-6290T1

HARNESS

- horn, replaced by 60-7241T1 harness, Ref. 17

1шт.

6

193-1004

NUT,Keps, #10 - 24, w/ Ext Tooth LW

NUT - hex, with external tooth lock washer, No. 10 NC

2шт.

7

1983394C2

RELAY

- mini, 12 volt

1шт.

8

22-738

DIODE

- electrical

2шт.

9

R45962

HORN

- "F" Note, 12 volt, electrical, replaced by 60-7242T1 horn, Ref. 15

1шт.

10

426-512

BOLT,Hex, 5/16" - 18 x 3/4", Gr 8

- hex, 5/16 NC x 3/4 inch, grade 8

1шт.

11

231-1445

NUT,5/16"-18, GB

NUT - hex, self-locking, 5/16 inch NC

1шт.

12

L30866

LOCK NUT

- hex, special

1шт.

13

L73799

BRACKET

- mounting, horn, used with R45962 horn, Ref. 9

1шт.

14

495-11028

WASHER,1/4", SAE

(flat, 9/32 x 5/8 x 1/16") 1/4", SAE

2шт.

15

60-7242T1

HORN

- 12 volt, replaces R45962 horn, Ref. 9, Includes: Ref. 16

1шт.

16

NSS

NOT SOLD SEPARAT

BRACKET - mounting, horn

1шт.

17

60-7241T1

HARNESS

- horn, replaces 60-6290T1 harness, Ref. 5

1шт.

Выбрано товаров: 16