Запчасти Case IH 9390 (5-02) - STEERING WHEEL AND COLUMN (05) - STEERING

Схема запчастей Case IH 9390 - (5-02) - STEERING WHEEL AND COLUMN (05) - STEERING
42
48
25
42
37
41
12
4
21
5
13
40
1
14
6
31
2
38
19
3
30
44
35
43
10
18
50
36
22
20
28
11
29
24
FIT
1:1
100%

Артикул

Название

Примечание

Количество

2-3755T92

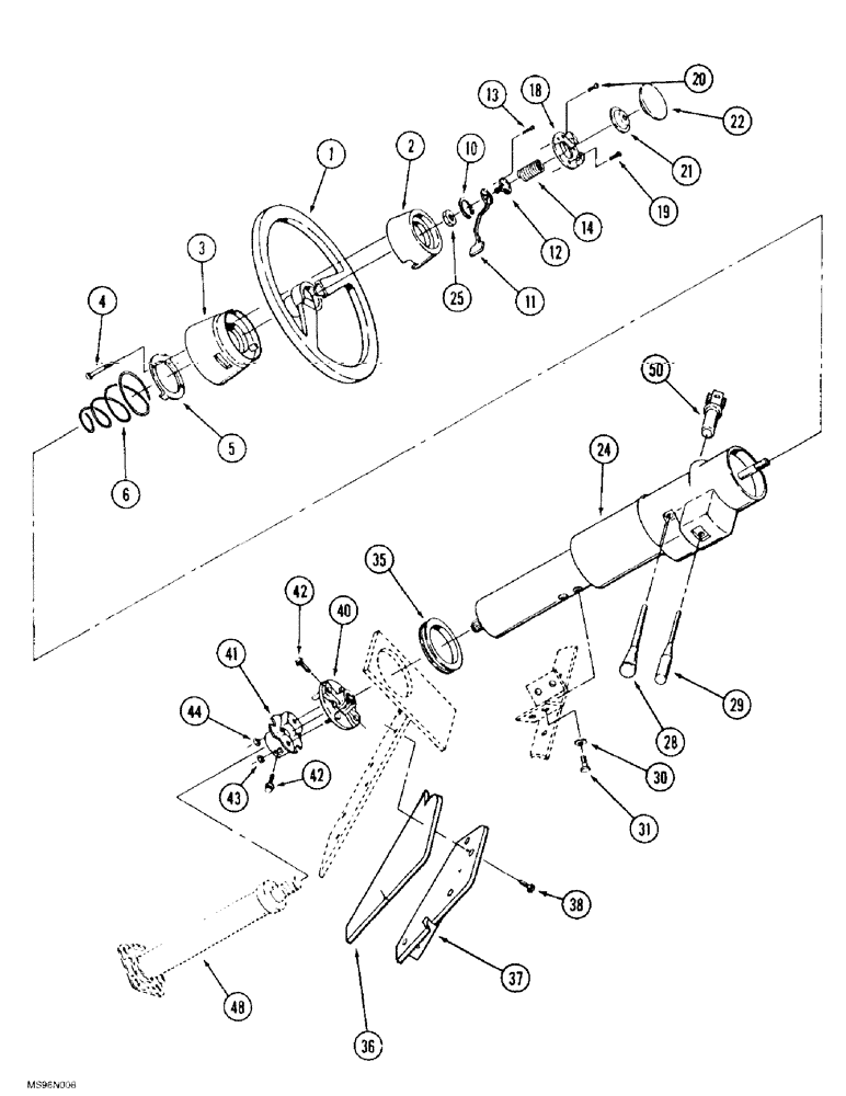
STEERING WHEEL

WHEEL ASSEMBLY - steering, Includes: Ref. 1 - 6

1шт.

1

60-1827T2

WHEEL (STEERING)

WHEEL - steering, no longer available, order 2-3755T92 wheel assembly

1шт.

2

60-1828T1

CAP

COVER - hub, upper

1шт.

3

60-1829T1

COVER

- hub, lower

1шт.

4

19-5791

SELF-TAP SCREW,Cross Pan Hd, #6 x 1 1/4"

SCREW - machine, self-tapping, pan head, No. 6 NS x 1-1/4 inch

2шт.

5

60-1830T1

RETAINER

- spring

1шт.

6

60-1831T1

SPRING

- compression, telescoping

1шт.

10

18-1570

RING, SNAP

RING - snap, locking

1шт.

11

60-1951T1

CONTROL LEVER

LEVER - release, telescoping

1шт.

12

18-1565

LOCK SCREW,5/16" - 18 x 0.95"

SCREW - release, telescoping

1шт.

13

60-6469T1

SCREW

- machine, flat head, No. 10 NF x 1/4 inch

2шт.

14

60-1820T1

SPRING

- horn button

1шт.

15

19-135

CABLE TIE

STRAP - tie, nylon, not shown

1шт.

18

60-1819T1

PLATE

- base

1шт.

19

260-14510

SELF-TAP SCREW,Hex Wash Hd, #10 x 5/8"

SCREW - self-tapping, pan Phillips, No. 10-16 x 5/8 inch

3шт.

20

260-14436

SELF-TAP SCREW,Cross Pan Hd, #8 x 2 1/4"

SCREW - self-tapping, pan Phillips, No. 8-18 x 2-1/4 inch

1шт.

21

A13092

CAP

CUP - contact

1шт.

22

60-1822T1

BUTTON

- horn

1шт.

24

1-7630

STEERING COLUMN

COLUMN ASSEMBLY - steering, tilt and telescoping, parts list Figures 5-06 and 5-08

1шт.

25

425-159

JAM NUT,Jam, 9/16"-18, G5

- hex, jam, 9/16 inch NF

1шт.

28

18-1567T1

CONTROL LEVER

LEVER - tilt actuating

1шт.

29

1-4188T1

CONTROL LEVER

LEVER - turn signal, wiper, washer and hi-low beam

1шт.

30

446363

WASHER,5/16"

- flat, 3/8 x 7/8 x 1/16 inch

4шт.

31

614-8016

BOLT,Hex, M8 x 1.25 x 16mm, Cl 8.8, Full Thd

- hex, full threads, 8 - 1.25 x 16 mm

4шт.

35

32-327

GROMMET

- column

1шт.

36

60-7109T1

FOAM

SEAL - foam, steering column access

1шт.

37

60-7110T1

COVER

PLATE - cover, access

1шт.

38

281-14712

SELF-TAP SCREW,Hex Washer, 1/4" - 20 x 3/4"

SCREW - self-tapping, hex washer head, 1/4 NC x 3/4 inch

6шт.

40

60-4436T1

FLANGE

- coupling, column

1шт.

41

60-4437T1

FLANGE

- coupling, steering shaft

1шт.

42

CAS7807271

SCREW

- 12 point, special

2шт.

43

451399

NUT,5/16"-18, G5, Hvy

- hex, 5/16 inch NF

1шт.

44

9420821

NUT

- hex, 3/8 inch NF

1шт.

48

REF

INSTRUCTION

SHAFT ASSEMBLY - steering lower, See Figure 5-04 for correct assembly and component parts

1шт.

50

22-752T1

IGNITION SWITCH

LOCK ASSEMBLY - ignition, Includes: Ref. 51

1шт.

51

A77313

SET OF 2 KEYS

KEY - set of two, not shown

1шт.

Выбрано товаров: 36