Запчасти Case IH 9390 (6-026) - POWER SHIFT TRANSMISSION ASSEMBLY, CLUTCH CONTROL VALVE ASSEMBLY (06) - POWER TRAIN

Схема запчастей Case IH 9390 - (6-026) - POWER SHIFT TRANSMISSION ASSEMBLY, CLUTCH CONTROL VALVE ASSEMBLY (06) - POWER TRAIN
7
23
12
11
17
5
20
2
8
1
4
14
16
25
18
25
9
13
17
24
2
19
21
6
16
22
15
3
10
25
FIT
1:1
100%

Артикул

Название

Примечание

Количество

90-8454T91

GEARBOX ASSY

TRANSMISSION ASSEMBLY - Powershift, replaces 90-7016T91 transmission, parts list Figures 6-006 - 6-032, Includes: Ref. 1 - 25

1шт.

90-8201T91

VALVE

ASSEMBLY - clutch control, Includes: Ref. 1 - 25

1шт.

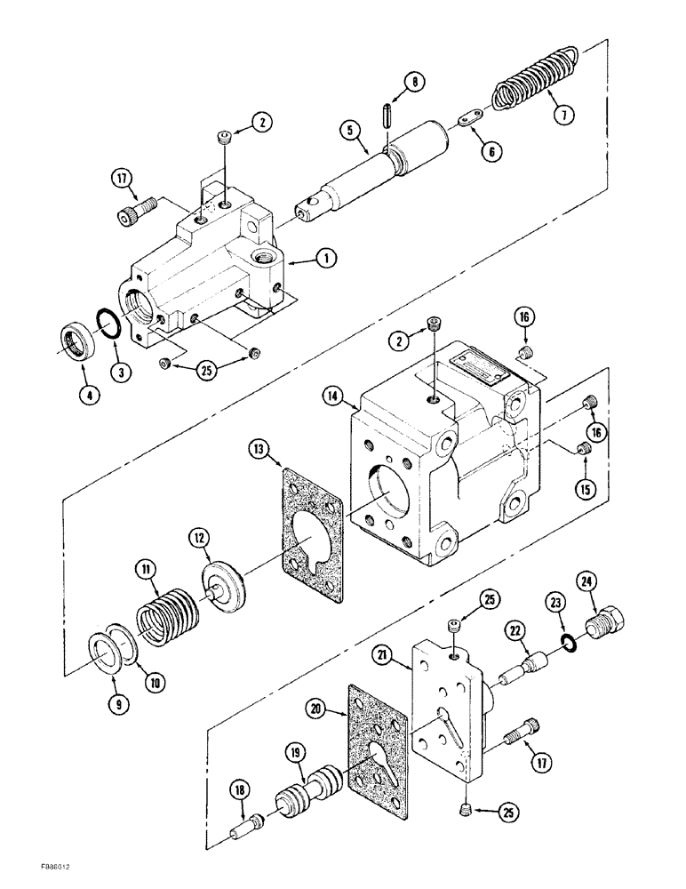
1

S6090S00F

HOUSING

COVER - control stem

1шт.

2

STX99700F

PLUG

- stem cover port

3шт.

3

S6120S00F

O-RING

- control stem

1шт.

Part of transmission rebuild gasket kit P/N 33-1559T2.

1шт.

4

S6110S00F

OIL SEAL

- control stem

1шт.

Part of transmission rebuild gasket kit P/N 33-1559T2.

1шт.

5

S6100S00F

HOUSING

STEM - control

1шт.

6

S6080S00F

LINK, CONNECTING

LINK - connecting

1шт.

7

90-8199T1

SPRING

- tension

1шт.

8

S6130S00F

PIN, ROLL

PIN - roll

1шт.

9

S6200S00F

SPACER

- 31 x 1.2 mm thick

1шт.

10

S6140S00F

SHIM,1.0mm Thk

(30 mm) 1.0mm Thk

1шт.

11

S6150S00F

SPRING

- compression

1шт.

12

S6060S00F

SPRING SEAT

SEAT - spring

1шт.

13

S6070S00F

GASKET

- control stem cover

1шт.

Part of transmission rebuild gasket kit P/N 33-1559T2.

1шт.

14

S6050S00F

HOUSING

BODY - modulator

1шт.

15

S6240S00F

ORIFICE

PLUG - orifice

1шт.

16

S6230S00F

ORIFICE

PLUG - orifice

2шт.

17

S6260S00F

SCREW

BOLT - socket head, special

8шт.

18

S6160S00F

PIN

POPPET - spool

1шт.

19

S6040S00F

SPOOL

- modulator

1шт.

20

S6030S00F

GASKET

- valve cover

1шт.

Part of transmission rebuild gasket kit P/N 33-1559T2.

1шт.

21

S6020S00F

COVER

- valve

1шт.

22

S6010S00F

SPOOL

- reducing

1шт.

23

S6180S00F

O-RING

- plug

1шт.

Part of transmission rebuild gasket kit P/N 33-1559T2.

1шт.

24

S6170S00F

PLUG

- hex, valve cover

1шт.

25

S6220S00F

PLUG

- valve cover

6шт.

33-1559T2

GASKET

KIT - gasket, transmission rebuild, Includes: Ref. 3, 4, 13, 20 and 23 and parts on Figures 6-006 - 6-028

1шт.

Выбрано товаров: 33