Запчасти Case IH 1070 (228) - DRAWBAR, WITH HITCH (09) - CHASSIS/ATTACHMENTS

Схема запчастей Case IH 1070 - (228) - DRAWBAR, WITH HITCH (09) - CHASSIS/ATTACHMENTS
20
4
21
2
3
34
4
9
10
28
7
6
18
16
33
26
27
25
1
15
5
22
29
19
30
8
31
17
32
FIT
1:1
100%

Артикул

Название

Примечание

Количество

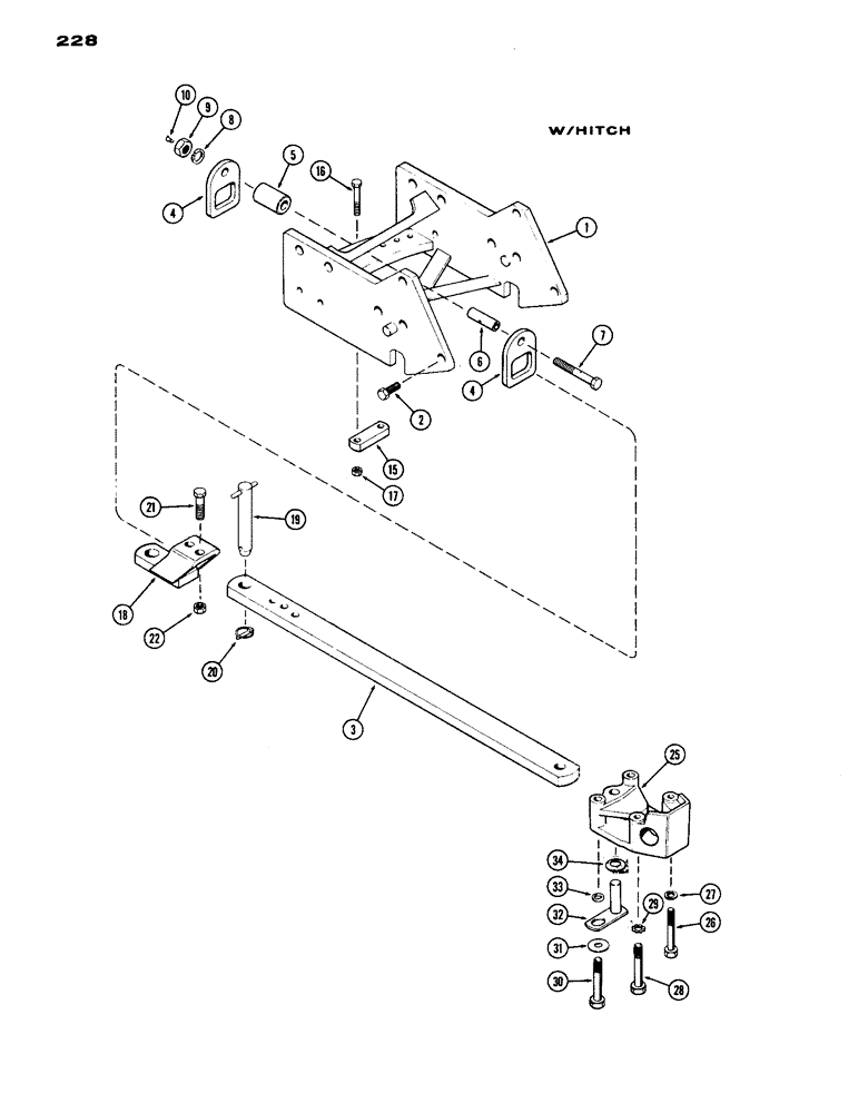
1

A60600

SUPPORT ASSY. drawbar

1шт.

2

113-747

X

BOLT, 3/4 x 2-1/4" N.C. hex

8шт.

3

A60433

DRAWBAR

ASSY. standard, Order (1) A65750 drawbar and (1) A604167 bracket

1шт.

4

A60440

BRACKET

drawbar

2шт.

5

A59151

ROLLER

drawbar

1шт.

6

A60418

SLEEVE

drawbar

1шт.

7

A59165

BOLT

drawbar roller

1шт.

8

92-12

LOCK WASHER,3/4"

WASHER, LOCK, 3/4"

1шт.

9

25-1012

NUT,3/4"-10, G5

1шт.

10

219-1

LUBE NIPPLE,1/8" - 27 NPTF

FITTING lube, 1/8" P.T.

1шт.

15

A58347

STRAP

drawbar clamp

1шт.

16

13-880

BOLT,Hex, 1/2" - 13 x 5", Gr 5

2шт.

17

25-108

NUT,1/2"-13, G5

1/2" N.C. hex.

2шт.

A60408

ATTACHMENT yoke, machinery item, Includes Ref. 18 - 22

1шт.

18

NSS

NOT SOLD SEPARAT

YOKE ASSY. drawbar

1шт.

19

A57998

PIN

ASSY. drawbar, Order A65764, Includes Ref. 20

1шт.

20

A30338

PIN

klik

1шт.

21

113-758

X

BOLT, 3/4 x 3-3/4" N.C hex

2шт.

22

129-572

NUT,3/4"-10, G8

2шт.

25

A59603

BRACKET

drawbar pivot pin

1шт.

26

113-672

BOLT

5/8 x 5-1/4" N.C. hex

2шт.

27

92-10

LOCK WASHER,5/8"

WASHER, LOCK, 5/8"

2шт.

28

113-755

BOLT, 3/4 x 5-3/4" N.C. hex

1шт.

29

A34651

LOCK WASHER

shakeproof, 3/4" ext

1шт.

30

113-756

BOLT

3/4 x 6" N.C. hex

1шт.

31

92-12

LOCK WASHER,3/4"

WASHER, LOCK, 3/4"

2шт.

32

A59605

PIN

ASSY. drawbar, Order A65762

1шт.

33

A57929

SPACER

drawbar pivot

1шт.

34

A35270

WASHER

drawbar anti-rattle spring

1шт.

Выбрано товаров: 29