Запчасти Case IH 1070 (240) - STEPS (09) - CHASSIS/ATTACHMENTS

Схема запчастей Case IH 1070 - (240) - STEPS (09) - CHASSIS/ATTACHMENTS
7
13
4
17
2
5
18
11
6
3
14
23
1
19
12
20
FIT
1:1
100%

Артикул

Название

Примечание

Количество

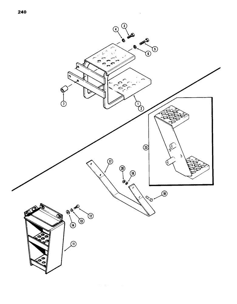
1

A59340

STEP ASSY. R.H., L.H. shown, w/o cab

1шт.

2

A59341

STEP ASSY. L.H., w/o cab

1шт.

3

13-824

BOLT,Hex, 1/2" - 13 x 1-1/2", Gr 5, Full Thd

w/o Cab Hex, 1/2"-13 x 1 1/2", G5, Full Thd

1шт.

4

92-8

LOCK WASHER,1/2"

w/o cab 1/2"

1шт.

5

13-1056

BOLT,Hex, 5/8" - 11 x 3-1/2", Gr 5

5/8 x 3-1/2" N.C. hex., w/o cab

2шт.

6

92-10

LOCK WASHER,5/8"

WASHER, LOCK, , w/o Cab 5/8"

2шт.

7

A60897

TUBE step mounting spacer, w/o cab

2шт.

11

A61143

STEP

ASSY. cab mounting, w/ cab

1шт.

12

13-206

SCREW

BOLT, 3/8 x 3/4" N.C. hex., w/ cab

4шт.

13

192-21

LOCK WASHER,3/8"

WASHER, LOCK, , w/Cab 3/8"

4шт.

14

195-526

WASHER,7/16" x 7/8" x .083"

7/16 x 7/8 x 3/32", w/ cab

4шт.

A64599

ATTACHMENT step extension, machinery item, Includes Ref. 17 - 20, w/ cab

1шт.

17

NSS

NOT SOLD SEPARAT

STEP extension, Order A64599, w/ cab

1шт.

18

113-410

BOLT,Hex, 1/2" - 13 x 1-1/2", Gr 5, Full Thd

w/ Cab Hex, 1/2"-13 x 1 1/2", G5, Full Thd

4шт.

19

192-23

LOCK WASHER,1/2"

WASHER, LOCK, , w/Cab 1/2"

4шт.

20

129-105

NUT,Hex, 1/2" - 13, Gr 5

w/Cab 1/2"-13, G5

4шт.

A43094

CLUTCH

ATTACHMENT step, servicing, Includes Ref. 23, w/ cab

1шт.

23

A32659

STEP

servicing, w/ cab

1шт.

Выбрано товаров: 18