Запчасти Case IH 1070 (275A) - CAB, INSTRUMENT PANEL, CONTROLS & WIRING, W/O AIR CINDITIONER HINSON (09) - CHASSIS/ATTACHMENTS

Схема запчастей Case IH 1070 - (275A) - CAB, INSTRUMENT PANEL, CONTROLS & WIRING, W/O AIR CINDITIONER HINSON (09) - CHASSIS/ATTACHMENTS
8
1
11
10
3
15
4
12
9
7
17
5
6
18
17
11
18
16
2
12
FIT
1:1
100%

Артикул

Название

Примечание

Количество

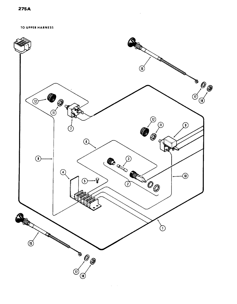
1

A42583

HARNESS ASSY. instrument panel wire

1шт.

2

A8006

NOZZLE HOLDER

HOLDER panel fuse

1шт.

3

223-20

FUSE,20 Amp, Type SFE

20 amp

1шт.

4

A42511

BLOCK

wiring, terminal

1шт.

5

187-1052

SELF-TAP SCREW,Sltd Pan, Hd, #8 x 5/8"

SCREW, no. 8 x 5/8" sltd. pan hd.

2шт.

6

A42563

WIRE panel, red

1шт.

7

A42566

SWITCH

blower

1шт.

8

A42565

ELECTRICAL WIRE

WIRE panel, yellow

1шт.

9

A42660

SWITCH

wiper motor, Replaces A42576

1шт.

10

A42564

WIRE panel, green

1шт.

11

A42561

JAM NUT,Hex, 7/16" - 28, RH Thd

7/16" N.F. jam

2шт.

12

A42578

KNOB

switch

2шт.

15

A42577

CONTROL

CABLE defroster control, Includes Ref. 17 and 18

1шт.

16

A42614

CABLE

heater control, Includes Ref. 17 and 18

1шт.

17

92-12

LOCK WASHER,3/4"

WASHER, LOCK, 3/4"

1шт.

18

129-148

JAM NUT,Jam, 3/4"-10, G5

3/4" N.C. half hex.

1шт.

Выбрано товаров: 16