Запчасти Case IH 1070 (118) - RANGE SHIFT MECHANISM, RAILS AND FORKS, POWER SHIFT (06) - POWER TRAIN

Схема запчастей Case IH 1070 - (118) - RANGE SHIFT MECHANISM, RAILS AND FORKS, POWER SHIFT (06) - POWER TRAIN
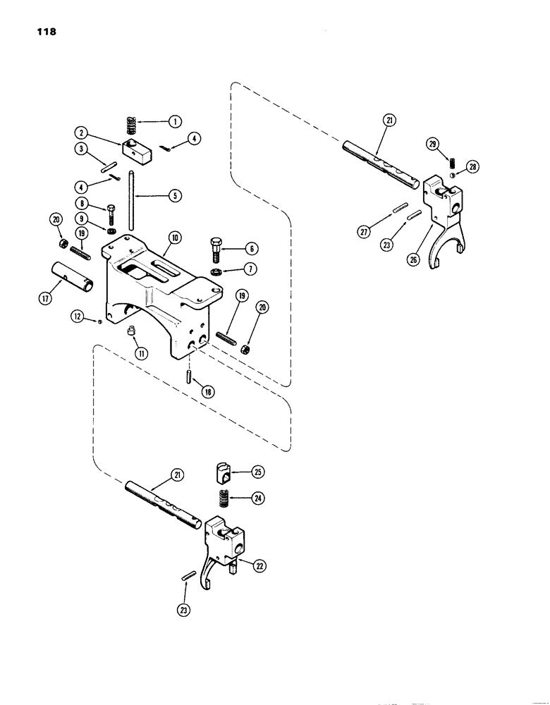
21
7
27
18
19
5
20
3
26
9
20
24
22
11
29
23
12
4
8
4
28
6
23
1
19
2
10
21
17
25
FIT
1:1
100%

Артикул

Название

Примечание

Количество

1

A61705

SPRING

neutral switch, 1-35/64" free length, 21/32" O.D., Replaces A60837

1шт.

2

A60836

LEVER

neutral switch

1шт.

3

A61030

PIN

pivot, neutral switch

1шт.

4

132-3

COTTER PIN,1/16" x 3/8"

Pin, Split (Cotter), , Lever to cover 1/16" x 3/8"

2шт.

5

A60713

ROD

neutral switch

1шт.

6

A32042

STEP BOLT

BOLT dowel, 1-15/16 x 7/16" N.C. hex.

1шт.

7

193-12

LOCK WASHER,Ext Tooth, 0.52" ID x 0.89" OD, STL, PLN

WASHER, LOCK, Ext Tooth, 1/2"

1шт.

8

13-620

BOLT,Hex, 3/8" - 16 x 1-1/4", Gr 5, Full Thd

3/8 x 1-1/2" N.C. hex.

2шт.

9

193-10

LOCK WASHER,Ext Tooth, 0.391" ID x 0.682" OD, STL, PLN

WASHER, LOCK, Ext Tooth, 3/8"

2шт.

10

A61187

BRACKET

ASSY. range shift control, Replaces A60716, Includes Ref. 11 and 12

1шт.

11

A60714

PIN

ball return

1шт.

12

211-28

BALL,13/32" Dia

., chrome steel, grade 3 13/32" Dia

1шт.

17

A59118

TUBE

range shift interlock

2шт.

18

138-2048

PIN,5/16" x 5/8", Coiled

range shafts to bracket 5/16" x 5/8", Coiled

2шт.

19

83-628

SET SCREW,Hex Soc, 3/8"-16 x 1 3/4"

SCREW set, 3/8 x 1-3/4" N.C., hdless, hex. sckt. hd

2шт.

19

83-632

SET SCREW,Hex Soc, 3/8"-16 x 2"

SCREW set, 3/8 x 2" N.C. hex. sckt. hdless

2шт.

20

25-146

JAM NUT,Jam, 3/8"-16, G5

3/8" N.C. hex., jam

4шт.

21

A61031

SHAFT

RAIL range shift

2шт.

22

A59108

FORK

range shift, 2nd and 4th

1шт.

23

138-98

LOCK PIN,3/16" x 1 1/4", Slotted

PIN, , Holds spring in forks 3/16" x 1 1/4", Slotted

4шт.

24

A58492

SPRING

range shift fork detent lock, 1-1/4" free length

2шт.

25

A58491

CLIP

LOCK detent, range shift fork, Order A65961

2шт.

26

A59107

FORK

range shift, 1st and 3rd

1шт.

27

138-2002

PIN,3/16" x 1 1/4", Coiled

Holds spring in forks 3/16" x 1 1/4", Coiled

2шт.

28

211-14

BALL,9/16" Dia

detent, ., grade 3, steel 9/16" Dia

2шт.

29

A59588

SPRING

range shift fork detent ball, 11/16" free length

2шт.

Выбрано товаров: 26