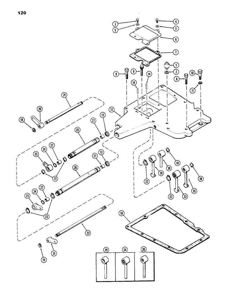
Запчасти Case IH 1070 (120) - GEAR SHIFT MECHANISM, COVERS AND SHAFTS, MECHANICAL SHIFT (06) - POWER TRAIN

Схема запчастей Case IH 1070 - (120) - GEAR SHIFT MECHANISM, COVERS AND SHAFTS, MECHANICAL SHIFT (06) - POWER TRAIN
19
25
31
29
18
27
28
14
2
6
23
3
7
3
22
26
19
9
24
4
20
27
8
34
27
24
22
1
27
22
11
5
5
10
21
30
36
14
22
19
23
33
13
35
19
8
12
13
FIT
1:1
100%

Артикул

Название

Примечание

Количество

1

A20990

SWITCH

- safety, neutral start

1шт.

2

G49402

SHIM,.010" Thk

Neutral start switch (19/32 x 1 x .010") .010" Thk

1шт.

3

113-217

PREV TORQUE BOLT,Locking, 3/8"-16 x 1", G5, Full Thd

BOLT, Locking, 3/8"-16 x 1", G5, Full Thd

1шт.

4

13-610

BOLT,Hex, 3/8" - 16 x 5/8", Gr 5, Full Thd

3шт.

5

95-6

WASHER,3/8"

7/16 x 1 x 5/64"

4шт.

6

A59114

COVER

gear shift lever

1шт.

7

A59115

GASKET

cover, gear shift lever

1шт.

8

13-840

BOLT,Hex, 1/2" - 13 x 2-1/2", Gr 5

1/2 x 2-1/2" N.C. hex.

9шт.

9

166-91

12 PT SCREW,Flg, 1/2" - 13 x 2 1/2, Gr 8

BOLT, 1/2 x 2-1/2" N.C. ferry cap

1шт.

10

A32042

STEP BOLT

BOLT dowel, 7/16 x 1-21/32" N.C. hex.

1шт.

11

193-12

LOCK WASHER,Ext Tooth, 0.52" ID x 0.89" OD, STL, PLN

WASHER, LOCK, Ext Tooth, 1/2"

1шт.

12

A59031

COVER ASSY. trans. front top w/ seals, Includes Ref. 13

1шт.

13

A28211

OIL SEAL

oil, ext. gear shift lever shaft, 1 x 1-1/4 x 1/8"

2шт.

14

A58950

PIN

dowel, external gear shift lever shaft, 3/8 x 1-3/8"

2шт.

18

A62114

GASKET,0.79mm Thk

trans. top front cover, Replaces A58941

1шт.

19

A59594

RING

snap, retaining, internal shift shaft

4шт.

20

A59666

LEVER

range shift, 14 int. teeth, 3-1/2" long

1шт.

21

A59592

SHAFT

control lever, internal range shift

1шт.

22

B18208

SNAP RING,#100, Ext

gear shift shaft #100, Ext

6шт.

23

A64936

LEVER

reverse, 1st and 2nd, Replaces A60369

2шт.

24

A58949

O-RING,0.614" ID x 0.754" OD

internal gear shift lever shaft, 5/8 x 3/4 x 1/16"

6шт.

25

A59032

SHAFT

ASSY. external reverse shift lever w/ bushings

1шт.

26

A58245

SHAFT

ASSY. external gear shift lever w/ bushings, Includes Ref. 27

1шт.

27

A57709

BUSHING

external gear shift and reverse shift lever shaft

2шт.

28

A61278

LEVER

shift, reverse, 23 int. teeth, 1st used trans. ser. no. 2358770, Order A62266

1шт.

29

A58951

CAMSHAFT

LEVER shift, reverse, 23 int. teeth, used prior to trans. ser. no. 2358770

1шт.

30

A59590

LEVER

shift, range

1шт.

31

A64935

LEVER

gear shift, 3rd and 4th, 14 int. teeth, 2-3/4" long

1шт.

32

A59591

SHAFT

control lever, internal gear shift

1шт.

33

A61281

LEVER

gear shift, 1st and 2nd, 23 int. teeth, 1st used trans. ser. no. 2358770, Order A62265

1шт.

34

A58956

LEVER

gear shift, 1st and 2nd, 23 int. teeth, used prior to trans. ser. no. 2358770, Order A62265

1шт.

35

A61280

LEVER

gear shift, 3rd and 4th, 14 int. teeth, 1st used trans. ser. no. 2358770, Order A62264

1шт.

36

A59595

LEVER

gear shift, 3rd and 4th, 14 int. teeth, used priot to trans. ser. no. 2358770, Order A62264

1шт.

Выбрано товаров: 33