Запчасти Case IH 1070 (0228) - FRONT END WEIGHTS (05) - STEERING

Схема запчастей Case IH 1070 - (0228) - FRONT END WEIGHTS (05) - STEERING
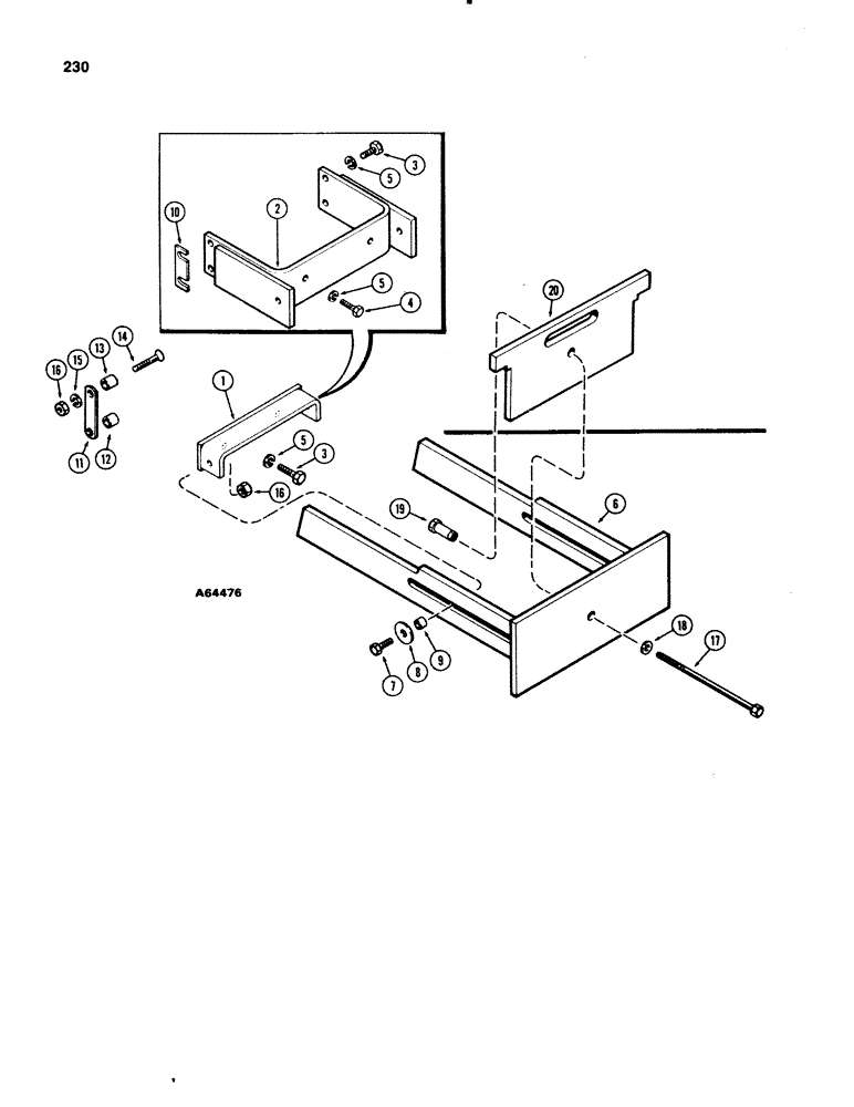
12
1
17
15
7
19
20
13
2
10
5
5
18
14
3
16
11
4
9
3
16
5
6
8
FIT
1:1
100%

Артикул

Название

Примечание

Количество

1

A60536

WEIGHT

KIT - front end wrapper (Machine Item), Includes: Ref. 2 - 8

1шт.

2

A59352

WEIGHT

- wrapper, RH (Machine Item)

1шт.

3

A59353

WEIGHT

- wrapper, LH (Machine Item)

1шт.

4

113-730

BOLT,Hex, 3/4" - 10 x 2-3/4", Gr 5

- 3/4 x 2-3/4" NC hex

4шт.

5

113-710

BOLT,Hex, 3/4" - 10 x 4", Gr 5

2шт.

6

92-12

LOCK WASHER,3/4"

WASHER, LOCK, 3/4"

6шт.

7

113-618

BOLT,Hex, 5/8" - 11 x 4", Gr 5

- 5/8 x 4" NC hex

2шт.

8

92-10

LOCK WASHER,5/8"

WASHER, LOCK, 5/8"

2шт.

13

A60537

WEIGHT

KIT - adapter, front end wrapper (Machine Item) (Used w/A60536 weight kit) (1 adapter only per tractor), Includes: Ref. 14 - 16

1шт.

14

A59354

ADAPTER

- wrapper weight (Machine Item)

1шт.

15

A59351

BOLT

- 3/4 x 7" NC hex

2шт.

16

195-46

WASHER,3/4" x 1 3/4" x .148"

- 13/16 x 1-3/4 x 5/32"

2шт.

21

A60538

WEIGHT

KIT - additional, front end wrapper (Used w/A60537 weight kit) (Machine Item), Includes: Ref. 22 - 26

1шт.

22

A59355

WEIGHT

- additional front end (Machine Item)

1шт.

23

111-708

CARRIAGE BOLT,Short NK, 3/4"-10 x 4", G2

BOLT - 3/4 x 4" NC carr

2шт.

24

195-46

WASHER,3/4" x 1 3/4" x .148"

- 13/16 x 1-3/4 x 5/32"

2шт.

25

92-12

LOCK WASHER,3/4"

WASHER, LOCK, 3/4"

2шт.

26

25-1012

NUT,3/4"-10, G5

2шт.

Выбрано товаров: 18