Запчасти Case IH 1070 (0278) - GEAR SHIFT MECHANISM, COVERS AND SHAFTS, MECHANICAL SHIFT (06) - POWER TRAIN

Схема запчастей Case IH 1070 - (0278) - GEAR SHIFT MECHANISM, COVERS AND SHAFTS, MECHANICAL SHIFT (06) - POWER TRAIN
10
20
2
34
15
31
29
13
35
15
1
27
34
18
4
5
30
18
14
23
17
9
16
20
9
13
32
22
2
15
24
15
12
11
19
7
23
26
18
21
7
8
6
3
FIT
1:1
100%

Артикул

Название

Примечание

Количество

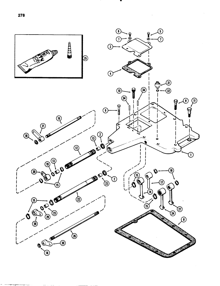
1

A59031

COVER ASSY - transmission front top, Includes: Ref. 2

1шт.

2

A28211

OIL SEAL

- oil

2шт.

3

A59114

COVER

- gear shift lever

1шт.

4

A59115

GASKET

- cover (Order 345-61 adhesive) (See Ref 35)

1шт.

5

113-217

PREV TORQUE BOLT,Locking, 3/8"-16 x 1", G5, Full Thd

BOLT, Locking, 3/8"-16 x 1", G5, Full Thd

1шт.

6

13-610

BOLT,Hex, 3/8" - 16 x 5/8", Gr 5, Full Thd

3шт.

7

95-6

WASHER,3/8"

- 7/16 x 1 x 5/64"

4шт.

8

A62114

GASKET,0.79mm Thk

- transmission cover

1шт.

9

13-840

BOLT,Hex, 1/2" - 13 x 2-1/2", Gr 5

- 1/2 x 2-1/2" NC hex

9шт.

10

166-91

12 PT SCREW,Flg, 1/2" - 13 x 2 1/2, Gr 8

BOLT - 1/2 X 2-1/2" NC Ferry cap

1шт.

11

A32042

STEP BOLT

BOLT - 7/16 x 1-21/32" NC hex, dowel

1шт.

12

A59032

SHAFT

ASSY - external reverse, Includes: Ref. 13

1шт.

13

A57709

BUSHING

- shaft

2шт.

14

A62266

LEVER

- shift reverse (Replaces A61278)

1шт.

15

B18208

SNAP RING,#100, Ext

shaft #100, Ext

6шт.

16

A59592

SHAFT

- internal range

1шт.

17

A59590

LEVER

- shift, range

1шт.

18

D32101

SNAP RING,#62, Ext

Ring, Snap, , internal shaft (replaces A59594) #62, Ext

4шт.

19

A58949

O-RING,0.614" ID x 0.754" OD

- 3/4 x 5/8 x 1/16"

1шт.

20

A64936

LEVER

- reverse, 1st & 2nd (Replaces A60369)

2шт.

21

A59666

LEVER

- range shift

1шт.

22

A58245

SHAFT

ASSY - external gear shift, Includes: Ref. 23

1шт.

23

A57709

BUSHING

- shaft

2шт.

24

A62264

LEVER

- gear shift, 1st & 2nd (Replaces A61281)

1шт.

14 Tooth .5633/.5583 Hole

1шт.

26

A59591

SHAFT

- internal gear shaft

1шт.

27

A62265

LEVER

- gear shift, 3rd & 4th (Replaces A61280)

1шт.

23 Tooth .9383/.9333 Hole

1шт.

29

A58949

O-RING,0.614" ID x 0.754" OD

- 3/4 x 5/8 x 1/16"

1шт.

30

A64935

LEVER

- gear shift, 3rd & 4th (Replaces A60363)

1шт.

31

A20990

SWITCH

- safety, neutral start

1шт.

32

G49402

SHIM,.010" Thk

Neutral start switch .010" Thk

1шт.

34

A58950

PIN

- dowel, external gear shift lever shaft

2шт.

35

345-61

SEALANT

SEALANT - rubber adhesive (3 oz. tube)

1шт.

Выбрано товаров: 34