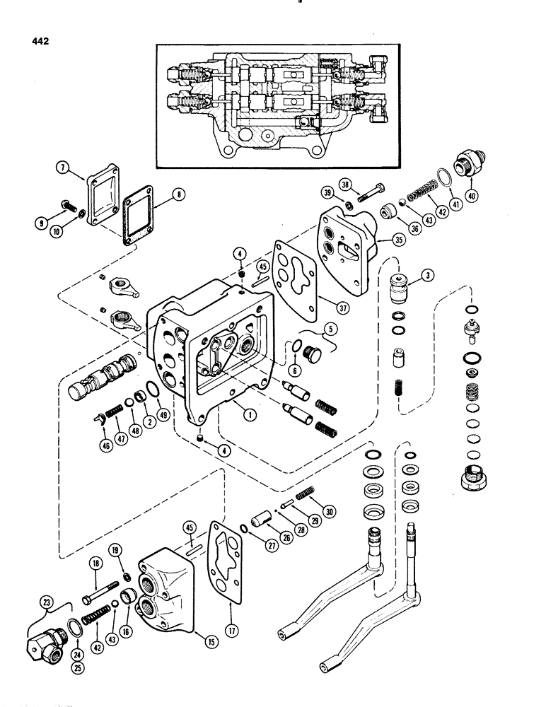
Запчасти Case IH 1070 (0442) - A42248 AUXILIARY VALVE, USED PRIOR TO TRACTOR SERIAL NUMBER 8709725 (08) - HYDRAULICS

Схема запчастей Case IH 1070 - (0442) - A42248 AUXILIARY VALVE, USED PRIOR TO TRACTOR SERIAL NUMBER 8709725 (08) - HYDRAULICS
9
24
18
28
46
8
43
4
6
35
2
19
40
42
7
15
42
5
23
45
25
48
27
37
1
41
38
29
16
49
10
45
43
39
47
4
30
17
36
3
26
FIT
1:1
100%

Артикул

Название

Примечание

Количество

A42248

VALVE

ASSY - auxiliary (w/90 deg. outler fitting on RH side), Includes: Ref. 1 - 87

1шт.

1

A57534

BODY

ASSY - valve (Order 1-A141405 & 2-A66469 spools), Includes: Ref. 2 - 4

1шт.

2

NSS

NOT SOLD SEPARAT

SEAT - ball, check valve

1шт.

3

NSS

NOT SOLD SEPARAT

SLEEVE - relief valve pilot

1шт.

4

221-849

PLUG,Hex Soc, 1/8"-27

- pipe, 1/8" hex socket hd

4шт.

5

86512512

PLUG,7/8" - 14 ORB

Assy, Body port, Incl. Ref. 6 Hex Hd, 7/8"-14 ORB

1шт.

6

237-6010

O-RING,0.097" Thk x 0.755" ID, -910, Cl 6, 90 Duro

- 5/8 x 3/4 x 3/32"

4шт.

7

A57552

CAP

- valve body

1шт.

8

A76374

GASKET

- valve boy cap (Replaces A30854)

1шт.

9

75-414

SCREW,Rd, 1/4" x 7/8"

- 1/4 x 7/8" NC round head machine

4шт.

10

92-4

LOCK WASHER,1/4"

WASHER, LOCK, 1/4"

4шт.

15

A57565

VALVE

HEAD ASSY - valve, RH, Includes: Ref. 16

1шт.

16

NSS

NOT SOLD SEPARAT

SEAT - valve head

2шт.

17

A57561

GASKET

- head, RH

1шт.

18

13-628

BOLT,Hex, 3/8" - 16 x 1-3/4", Gr 5

2шт.

18

13-640

BOLT,Hex, 3/8" - 16 x 2-1/2", Gr 5

- 3/8 x 2-1/2" NC hex

2шт.

19

92-6

LOCK WASHER,3/8"

4шт.

23

A57562

ADAPTER

ASSY - swivel, RH (See Fig. 452), Includes: Ref. 24 and 25

2шт.

24

218-5008

O-RING,0.116" Thk x 0.924" ID, -912, Cl 6, 90 Duro

- 3/4 x 59/64 x 1/8"

1шт.

25

A27365

O-RING,0.103" Thk x 0.75" ID, -116, Cl 5, 75 Duro

- 3/4 x 59/16 x 3/32"

1шт.

26

A62272

GUIDE

SEAT - thermal valve (Order A137335)

2шт.

27

A27891

O-RING,0.103" Thk x 0.362" ID, -110, Cl 5, 75 Duro

- thermal valve, 3/8 x 9/16 x 3/32"

2шт.

28

211-3

BALL,1/8" Dia

- meter, steel 1/8" Dia

2шт.

29

A62272

GUIDE

- ball, thermal valve (Order A137594)

2шт.

30

A57396

SPRING

- valve (1-7/64" free length, 21/64" Diameter)

2шт.

35

A57564

VALVE

HEAD ASSY - valve, LH

1шт.

36

NSS

NOT SOLD SEPARAT

SEAT - valve head

2шт.

37

A57560

GASKET

- valve head, LH

1шт.

38

13-644

BOLT,Hex, 3/8" - 16 x 2-3/4", Gr 5

- 3/8 x 2-3/4" NC hex

4шт.

39

92-6

LOCK WASHER,3/8"

4шт.

40

A57569

FITTING

- remote valve outlet (See Figure 452)

2шт.

41

218-5008

O-RING,0.116" Thk x 0.924" ID, -912, Cl 6, 90 Duro

- 3/4 x 59/64 x 1/8"

2шт.

42

A30877

SPRING

- check valve

4шт.

43

211-13

BALL,1/2" Dia

- check valve 1/2" Dia

4шт.

45

A57559

SPOOL

- auxiliary

4шт.

46

A27364

GUIDE

- auxiliary ball check

4шт.

47

A27452

SPRING

- auxiliary valve (1-1/8" free length, 1/2" diameter)

4шт.

48

211-15

BALL,5/8" Dia

- meter, steel 5/8" Dia

4шт.

49

A64434

O-RING,0.93" ID x 1.142" x 0.106"

- 15/16 x 1-1/8 x 3/32"

4шт.

Выбрано товаров: 39