Запчасти Case IH 1070 (0396) - D-O-M UPPER SENSING LINKAGE (09) - CHASSIS/ATTACHMENTS

Схема запчастей Case IH 1070 - (0396) - D-O-M UPPER SENSING LINKAGE (09) - CHASSIS/ATTACHMENTS
9
3
24
37
2
10
17
18
21
15
33
5
6
19
23
25
16
20
11
22
38
36
8
32
30
31
16
35
4
7
34
39
13
1
12
FIT
1:1
100%

Артикул

Название

Примечание

Количество

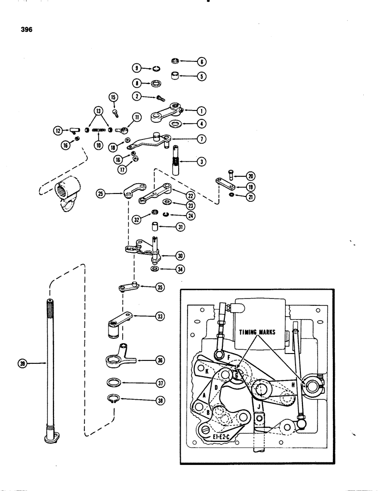
1

A32320

LEVER

- draft control, link H

1шт.

2

166-27

SCREW - 5/16 x 1-1/4" NC Ferry cap

1шт.

3

A59599

SHAFT - manual, draft control

1шт.

4

A33316

WASHER - 1-1/32 x 1-11/16 x 12 ga

1шт.

5

A33314

SPACER

- 53/64 x 1-3/64 x 9/16"

1шт.

6

A32309

SEAL,18.8mm ID x 25.5mm OD x 3.1mm Thk

- oil, manual shaft (3/4 x 1 x 1/8")

1шт.

7

A57088

LINK

LEVER - draft control, link F

1шт.

8

F20286

WASHER

- 29/32 x 1-3/8 x 16 ga

1шт.

9

F62205

RING, SNAP

RING - snap, link retaining

1шт.

10

A32347

ROD

- link

1шт.

11

A35134

BEARING

- rod

1шт.

12

A27382

BALL

JOINT - link

1шт.

13

25-155

JAM NUT,Jam, 5/16"-24, G5

- 5/16" NF hex, jam

2шт.

15

13-514

BOLT,Hex, 5/16" - 18 x 7/8", Gr 5

1шт.

16

92-5

LOCK WASHER,5/16"

2шт.

17

25-155

JAM NUT,Jam, 5/16"-24, G5

- 5/16" NF hex, jam

2шт.

18

A32395

WASHER

SPACER - ball joint, 25/64 x 9/16 x 16 ga

1шт.

19

A32331

LINK

LEVER - draft control, link J

1шт.

20

A32334

PIN

- link to valve spool

1шт.

21

G46146

SNAP RING,#37, Ext

Ring, Snap, , pin retaining #37, Ext

1шт.

22

A64597

LINK

- draft control, link G (Replaces A32335)

1шт.

23

B18080

WASHER

- 21/32 x 1-1/4 x 16 ga

1шт.

24

A26828

RING

- snap, link retaining

1шт.

25

A57365

LEVER

- draft control, link D

1шт.

30

A32310

LINK

- draft control, link C

1шт.

31

A32914

SPACER

- hub, 21/32 x 3/4 x 1"

1шт.

32

A32308

OIL SEAL

- oil, 5/8 x 7/8 x 1/8"

1шт.

33

A33393

LEVER

- draft control, link K

1шт.

34

A57090

WASHER

- 21/32 x 1-1/8 x 23 ga

1шт.

35

A57362

LINK

LEVER - draft control, link B

1шт.

36

A64598

LEVER

- draft control, link A (Replaces A32324)

1шт.

37

B18302

WASHER

- 1-17/32 x 2 x 3/32"

1шт.

38

R13338

SNAP RING,#150, Ext

Ring, Snap, , link #150, Ext

1шт.

39

A34834

SHAFT

- draft signal

1шт.

Выбрано товаров: 34