Запчасти Case IH 1070 (0406) - QUICK HITCH COUPLER, CATERGORY II (09) - CHASSIS/ATTACHMENTS

Схема запчастей Case IH 1070 - (0406) - QUICK HITCH COUPLER, CATERGORY II (09) - CHASSIS/ATTACHMENTS
15
9
12
11
19
18
16
24
17
11
17
2
4
5
7
27
8
25
1
22
20
5
18
21
10
3
23
6
26
FIT
1:1
100%

Артикул

Название

Примечание

Количество

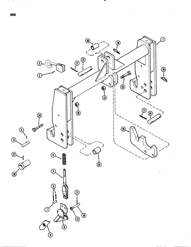
A65707

ATTACHMENT - hitch coupler (Mach. Item) (Replaces A62898), Includes: Ref. 1 - 25

1шт.

1

NSS

NOT SOLD SEPARAT

FRAME - welded (Order A65707)

1шт.

2

A45456

HANDLE

- hitch release (Replaces A44472)

2шт.

3

A45018

ROD

- handle to tripping device (Replaces A44467)

2шт.

4

A45461

SPRING

- release rod (Replaces A44476)

2шт.

5

135-75

GROOVED PIN,1/4" x 1", Type A

PIN - roll, 1/4 x 1"

2шт.

6

A45454

LEVER

- lock, R.H. (Replaces A44468)

1шт.

6

A45457

LEVER

- lock, L.H. (Replaces A44469)

1шт.

7

A45460

PIN

- 1-3/8" long

2шт.

8

132-48

COTTER PIN,1/8" x 1"

Pin, Split (Cotter), 1/8" x 1"

4шт.

9

A44470

LEVER

- lower trip ratchet, R.H.

1шт.

9

A44471

LEVER

- lower trip ratcher, L.H.

1шт.

10

A45459

PIN

- 2-1/2" long

2шт.

11

135-56

GROOVED PIN,3/16" x 1 1/2", Type A

PIN - roll, 3/16 x 1-1/2"

2шт.

12

195-41

WASHER,5/8"

- 21/32 x 1-15/16 x 1/8"

2шт.

15

A43542

SLEEVE

- lower draft arm pin

2шт.

16

A45462

PIN

- lower, draft arm

2шт.

17

132-202

COTTER PIN,3/8" x 2 1/2"

Pin, Split (Cotter), 3/8" x 2 1/2"

3шт.

18

T50113

PIN

- clinch, draft arm pin

3шт.

19

A44475

LUG

- upper hitch attaching

1шт.

20

A44474

SLEEVE

- upper draft arm pin

1шт.

21

A43541

PIN

- upper, draft arm

1шт.

22

113-716

BOLT,Hex, 3/4" - 10 x 3", Gr 5

2шт.

23

129-108

NUT,3/4"-10, G5

2шт.

24

113-425

BOLT,Hex, 1/2" - 13 x 3", Gr 5

2шт.

25

131-1182

LOCK NUT,1/2"-13, GA

NUT - 1/2" N.C. hex., center lock

2шт.

26

T32995

ADAPTER

- coupler (1-1/8" I.D.) (for Cat. II implement)

2шт.

27

138-188

LOCK PIN,7/16" x 1 1/2", Slotted

Pin, 7/16" x 1 1/2", Slotted

2шт.

Выбрано товаров: 28