Запчасти Case IH 1070 (0504) - CONTROL CONSOLE, USED PRIOR TO TRACTOR SERIAL NUMBER 8693001 (09) - CHASSIS/ATTACHMENTS

Схема запчастей Case IH 1070 - (0504) - CONTROL CONSOLE, USED PRIOR TO TRACTOR SERIAL NUMBER 8693001 (09) - CHASSIS/ATTACHMENTS
4
10
8
7
11
3
12
6
10
11
9
5
10
1
2
11
9
FIT
1:1
100%

Артикул

Название

Примечание

Количество

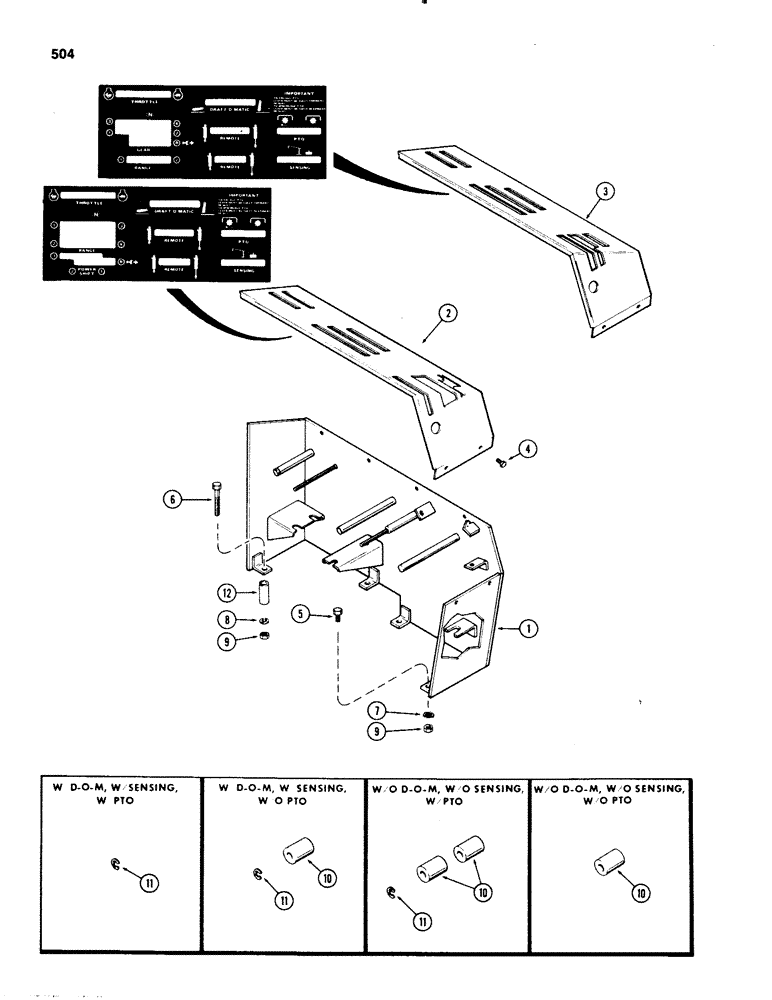
1

A62422

CONSOLE ASSY - control

1шт.

2

A59786

COVER

- console, power shift (Includes decal)

1шт.

See figure 550 for decal kit

1шт.

3

A59787

COVER

- console, mechanical shift (Includes decal)

1шт.

See figure 550 for decal kit

1шт.

4

113-1

BOLT,Hex, 1/4" - 20 x 1/2", Gr 5

6шт.

5

13-614

BOLT,Hex, 3/8" - 16 x 7/8", Gr 5, Full Thd

1шт.

5

13-630

BOLT,Hex, 3/8" - 16 x 1-7/8", Gr 5

- 3/8 x 1-7/8" NC hex

1шт.

6

13-648

BOLT,Hex, 3/8" - 16 x 3", Gr 5

- 3/8 x 3" NC hex

1шт.

7

193-46

LOCK WASHER,Ext-Int Tooth, 3/8"

WASHER - Shakeproof, 3/8" internal/external

3шт.

8

92-6

LOCK WASHER,3/8"

1шт.

9

25-106

NUT,3/8"-16, G5

- 3/8" NC hex

3шт.

10

A59994

SPACER

- D-O-M sensing & PTO (See Insets)

1шт.

11

A27785

CIRCLIP,#62, .480" Dia, E-Type

Ring, Retaining, (see insets) #62, .480" Dia, E-Type

1шт.

12

A65472

SPACER

- console (Replaces T32627)

1шт.

Выбрано товаров: 15