Запчасти Case IH 1070 (0094) - BATTERY - CABLES - BATTERY BOX (04) - ELECTRICAL SYSTEMS

Схема запчастей Case IH 1070 - (0094) - BATTERY - CABLES - BATTERY BOX (04) - ELECTRICAL SYSTEMS
7
12
6
2
11
3
9
4
5
14
8
13
1
1
15
10
FIT
1:1
100%

Артикул

Название

Примечание

Количество

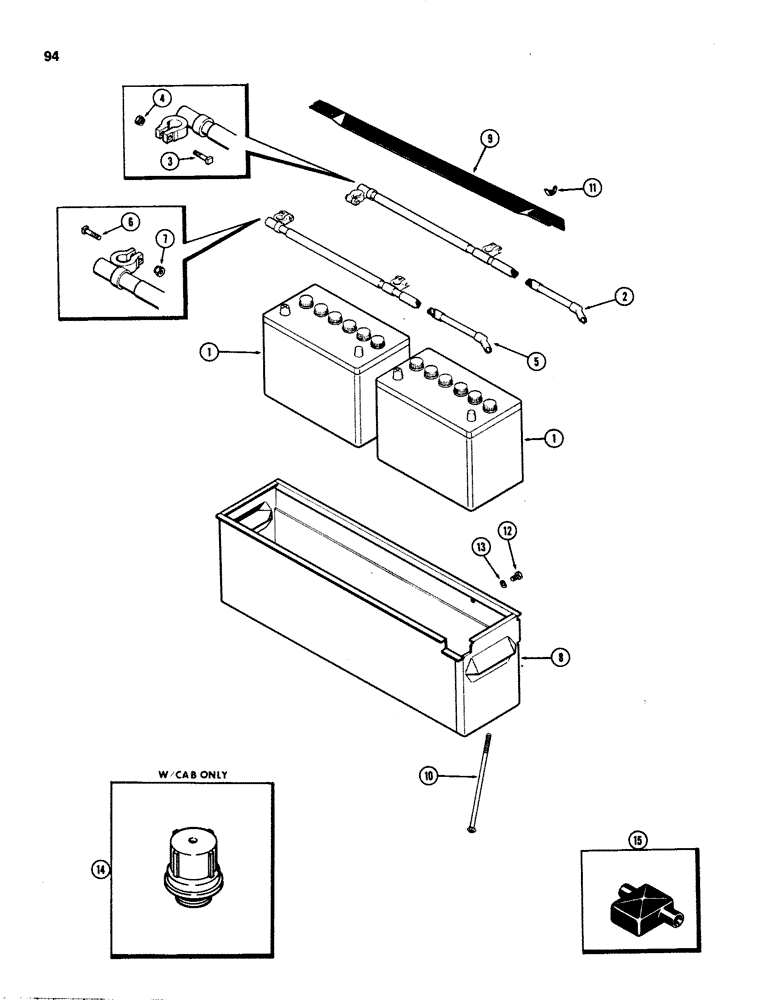
1

A38411

DRY BATTERY

- 12 volt

2шт.

Models with cab are equipped with batteries having non-spill caps. When replacing a battery having non-spill caps with A38411 service replacement battery, the caps from the oil battery or (6) A60553 caps should be installed on the new battery

1шт.

2

A59728

CABLE

ASSY - battery, negative (ground), Includes: Ref. 3 and 4

1шт.

3

117-108

SQUARE BOLT,5/18" - 16 x 1 3/8", Gr 5

- 5/16 x 1-3/8" NC, square head

2шт.

4

129-516

NUT

- 5/16" NC hex, w/shoulder

2шт.

5

A65817

CABLE

ASSY - battery, positive (Replaces A62141), Includes: Ref. 6 and 7

1шт.

6

117-108

SQUARE BOLT,5/18" - 16 x 1 3/8", Gr 5

- 5/16 x 1-3/8" NC, square head

2шт.

7

129-516

NUT

- 5/16" NC hex, w/shoulder

2шт.

8

A62137

BOX

- battery

1шт.

9

A59173

CLAMP

- battery hold down

1шт.

10

11-5160

BOLT

- battery hold down

2шт.

11

G49020

NUT

- 5/16" NC, wing

2шт.

12

13-514

BOLT,Hex, 5/16" - 18 x 7/8", Gr 5

1шт.

13

92-5

LOCK WASHER,5/16"

1шт.

14

A60553

CAP

- battery, non-spill vent

12шт.

15

A139372

CAP

- battery (Use on 2 middle terminals)

1шт.

Выбрано товаров: 16