Запчасти Case IH 1070 (0162) - HYDROSTATIC STEERING SYSTEM, 1ST USED TRACTOR SERIAL NUMBER 8741587 (05) - STEERING

Схема запчастей Case IH 1070 - (0162) - HYDROSTATIC STEERING SYSTEM, 1ST USED TRACTOR SERIAL NUMBER 8741587 (05) - STEERING
16
2
18
15
45
40
22
4
9
42
12
6
21
19
3
7
39
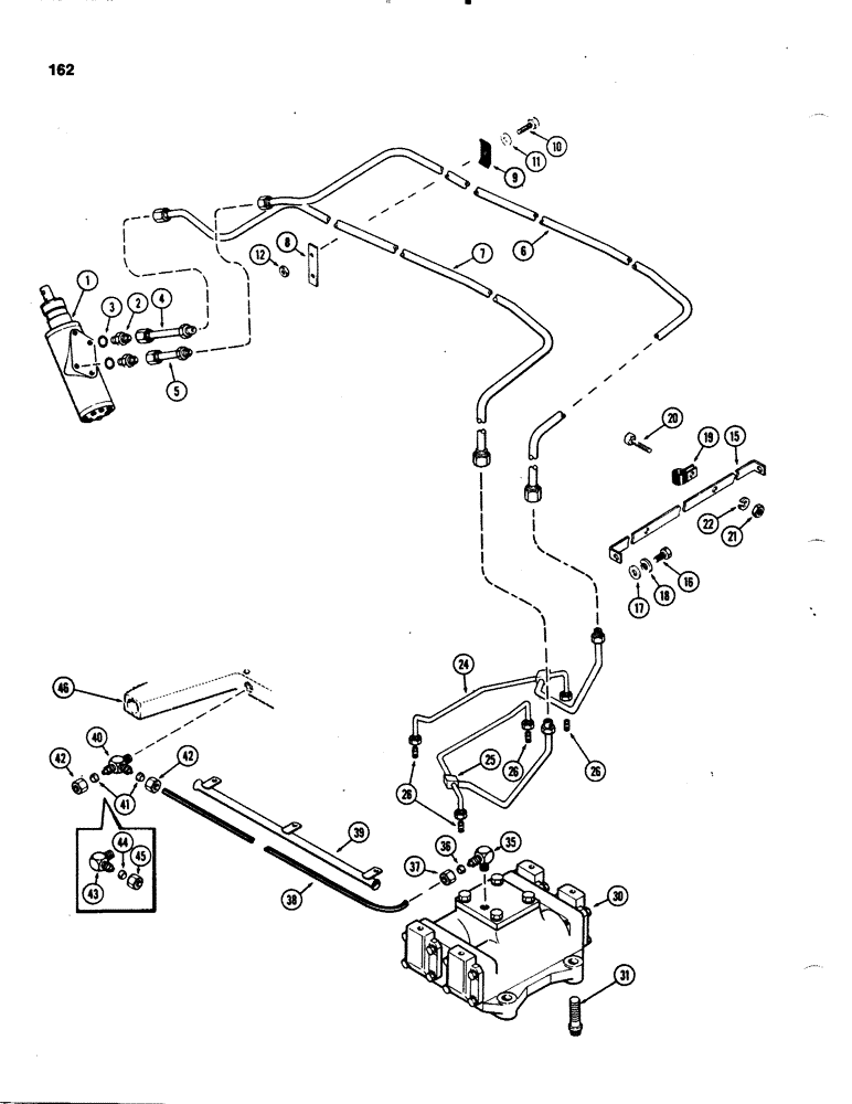
1
5
37
26
41
43
20
38
46
24
26
35
31
30
17
11
36
8
42
25
26
10
44
FIT
1:1
100%

Артикул

Название

Примечание

Количество

1

REF

INSTRUCTION

PUMP ASSY - steering (See Figures 192 & 194)

1шт.

2

A36663

CONNECTOR, ELEC

CONNECTOR - tube to pump (9/16"-18 x 3/4"-16), Includes: Ref. 3

4шт.

3

218-5005

O-RING,0.078" Thk x 0.468" ID, -906, Cl 6, 90 Duro

6-1, 90 Duro, .468" ID x .078" Thk

1шт.

4

A135522

TUBE - LH turn (6-1/2" long)

1шт.

5

A64501

TUBE

- RH turn (5" long)

1шт.

6

A64516

TUBE

- RH turn, Serial Range: pump-crossover

1шт.

7

A64905

TUBE - LH turn, Serial Range: pump-crossover

1шт.

8

A60223

PLATE - mounting, tube clip

1шт.

9

A60404

CLIP

- tube

2шт.

10

13-420

BOLT,Hex, 1/4" - 20 x 1-1/4", Gr 5

2шт.

11

195-18

WASHER,1/4"

- 9/32 x 5/8 x 1/16"

2шт.

12

25-104

NUT,1/4"-20, G5

2шт.

15

A61087

SUPPORT

- clamp, Serial Range: tube-grille

1шт.

16

113-151

BOLT,Hex, 5/16" - 18 x 3/4", Gr 5, Full Thd

- 5/16 x 3/4" NC hex

2шт.

17

195-128

WASHER,5/16"

- 3/8 x 1-1/8 x 5/64"

2шт.

18

92-5

LOCK WASHER,5/16"

2шт.

19

49838

CLAMP

- tube

2шт.

20

113-29

BOLT,Hex, 1/4" - 20 x 3/4", Gr 5, Full Thd

- 1/4 x 3/4" NC hex

2шт.

21

25-104

NUT,1/4"-20, G5

2шт.

22

195-127

WASHER - 5/16 x 3/4 x 1/16"

2шт.

24

A66606

TUBE

ASSY - crossover, RH turn

1шт.

25

A66607

TUBE ASSY - crossover, LH turn

1шт.

26

218-5057

HYD CONNECTOR,9/16" - 18 JIC x 9/16" - 18 ORB

CONNECTOR - 3/8" tube, 9/16" NF

4шт.

30

REF

INSTRUCTION

ACTUATOR ASSY - (w/adj front axle) (See Figure 202)

1шт.

31

A62066

SCREW,Ferry 3/4" - 10 x 2 1/2", Alloy Steel

- 3/4 x 2-1/2" NC ferry head cap

4шт.

35

222-5111

ELBOW,9/16"-24 x 1/8" NPTF

- 90deg., 3/8" OD x 1/4" PT, Includes: Ref. 36 and 37

1шт.

36

222-5186

SLEEVE,3/8" Tube

- for 3/8" Tube

1шт.

37

222-5181

NUT,9/16"-24

NUT - for 3/8" tube

1шт.

38

A60723

BASE PLATE

TUBE - nylon, Serial Range: actuator-trans

1шт.

39

A59925

TUBE

- conduit

1шт.

40

222-5120

TEE,7/16"-24 x 1/4" NPT Run

- reducing, 3/8" OD x 1/4" PT (w/power brakes), Includes: Ref. 41 and 42

1шт.

41

222-5186

SLEEVE,3/8" Tube

- for 3/8" Tube

2шт.

42

222-5181

NUT,9/16"-24

NUT - for 3/8" tube

2шт.

43

222-5111

ELBOW,9/16"-24 x 1/8" NPTF

- 3/8" OD x 1/4" PT (w/hydraulic brakes), Includes: Ref. 44 and 45

1шт.

44

222-5186

SLEEVE,3/8" Tube

- for 3/8" Tube

1шт.

45

222-5181

NUT,9/16"-24

NUT - for 3/8" tube

1шт.

46

REF

INSTRUCTION

COVER - trans (See Fig. 272 & 278)

1шт.

Выбрано товаров: 37