Запчасти Case IH 1090 (230) - D-O-M LOWER SENSING LINKAGE (08) - HYDRAULICS

Схема запчастей Case IH 1090 - (230) - D-O-M LOWER SENSING LINKAGE (08) - HYDRAULICS
42
27
1
16
36
38
43
23
40
32
2
4
41
26
35
17
18
19
37
39
5
31
9
6
21
8
25
11
28
15
13
30
3
29
7
14
12
20
22
FIT
1:1
100%

Артикул

Название

Примечание

Количество

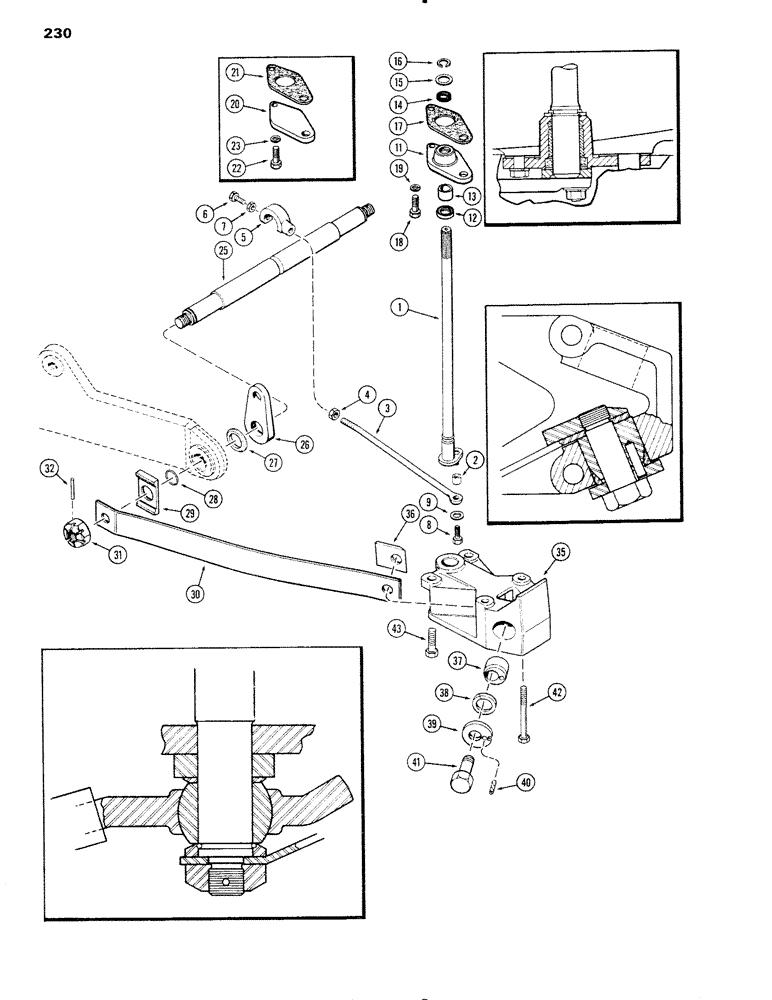
1

A34834

SHAFT

- draft signal

1шт.

2

A34836

SPACER

- shaft to link, 5/16 x 1/2 x 15/32"

1шт.

3

A33405

LINK

- draft signal control

1шт.

4

25-158

JAM NUT,Jam, 1/2"-20, G5

- 1/2" N.F. hex., jam

1шт.

5

A33006

LOCK

- signal link

1шт.

6

13-618

BOLT,Hex, 3/8" - 16 x 1-1/8", Gr 5

1шт.

7

25-146

JAM NUT,Jam, 3/8"-16, G5

- 3/8" N.C. hex., jam

1шт.

8

13-514

BOLT,Hex, 5/16" - 18 x 7/8", Gr 5

1шт.

9

95-5

WASHER,3/8" x 7/8" x .083"

- 3/8 x 7/8 x 5/64"

1шт.

11

A32203

BUSHING

SUPPORT - signal shaft

1шт.

12

A23903

OIL SEAL

- oil, support, 1 x 1-1/2 x 1/4"

1шт.

13

A31082

BUSHING

BEARING - support, 1 x 1-1/4 x 1"

1шт.

14

A9394

RING

QUAD RING - support, 1 x 1-1/4 x 9/64"

1шт.

15

B18275

WASHER

- 1-1/32 x 1-1/2 x 12 ga.

1шт.

16

A33315

RING

- snap, shaft retaining

1шт.

17

A32210

GASKET

- support

1шт.

18

13-618

BOLT,Hex, 3/8" - 16 x 1-1/8", Gr 5

1шт.

19

92-6

LOCK WASHER,3/8"

1шт.

20

A32387

COVER - signal shaft (used w/o hitch)

1шт.

21

A32210

GASKET

- cover

1шт.

22

13-616

BOLT,Hex, 3/8" - 16 x 1", Gr 5, Full Thd

1шт.

23

92-6

LOCK WASHER,3/8"

1шт.

25

A57587

BAR

- cross, D-O-M wishbone

1шт.

26

A32953

LINK

- support, bar

2шт.

27

A62435

WASHER

- draft arm pivot, 1-1/2 x 1-7/8 x 9/64"

2шт.

28

A57588

RING

- snap, Serial Range: arm-bar

2шт.

29

A57589

PLATE

- spacer

2шт.

30

A57581

SPRING

- D-O-M wishbone

2шт.

For Satisfactory Operation It Is Recommended That Springs Be Installed In Pairs

1шт.

31

A33404

NUT

- retaining, Serial Range: spring-shaft

1шт.

32

138-2014

PIN,3/16" x 1 7/8", Coiled

2шт.

35

A61416

BRACKET

- drawbar pivot pin

1шт.

36

A57583

CLAMP

- wishbone adjusting

2шт.

37

A57582

CLAMP

CAM - wishbone adjusting

2шт.

38

A57584

RING

- cam adjusting

2шт.

39

A57585

WASHER

- clamp, adjusting cam

2шт.

40

138-2042

PIN,5/16" x 1 1/4", Coiled

2шт.

41

A57943

STEP BOLT

BOLT - spring cam

2шт.

42

113-675

BOLT - 5/8 x 5-1/2" N.C. hex.

2шт.

43

113-747

X

BOLT - 3/4 x 2-1/4" N.C. hex.

2шт.

Выбрано товаров: 40