Запчасти Case IH 1090 (014) - OIL COOLER, (451B) DIESEL ENGINE (02) - ENGINE

Схема запчастей Case IH 1090 - (014) - OIL COOLER, (451B) DIESEL ENGINE (02) - ENGINE
16
17
18
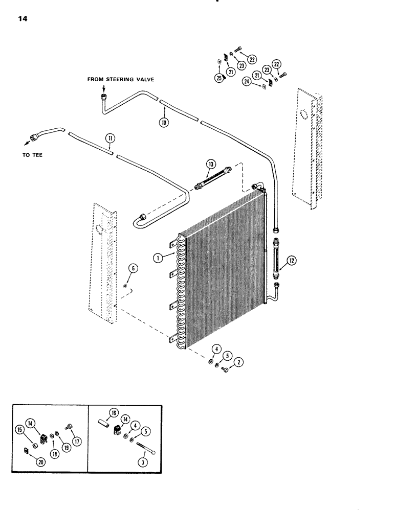
6
14
23
25
20
2
5
4
23
22
4
21
5
11
19
3
24
21
14
10
13
1
22
15
12
FIT
1:1
100%

Артикул

Название

Примечание

Количество

1

A61454

COOLER

- oil

1шт.

2

13-416

BOLT,Hex, 1/4" - 20 x 1", Gr 5

7шт.

3

13-448

BOLT,Hex, 1/4" - 20 x 3", Gr 5

1шт.

4

95-4

WASHER,1/4"

- 5/16 x 3/4 x 1/16"

8шт.

5

92-4

LOCK WASHER,1/4"

WASHER, LOCK, 1/4"

8шт.

6

131-611

NUT,Ret, 1/4"-20

- 1/4" Tinnerman

8шт.

10

A61455

TUBE - oil cooler, upper (Replaces A60402)

1шт.

11

A61456

TUBE

- oil cooler, lower

1шт.

12

A61458

HOSE,0.50" ID x 6.60", SAE 30R2 Type 3 PER SAE J30

RADIATOR HOSE, , Tube to Cooler, Upper 0.50" ID x 6.60", SAE 30R2 Type 3 PER SAE J30

1шт.

13

A60399

HOSE

- tube to cooler, lower (8" long)

1шт.

14

49838

CLAMP

- oil cooler tube lower

2шт.

15

A61457

SPACER - cooler to clamp, lower (9/32 x 3/4 x 7/16")

1шт.

16

A61813

SPACER - cooler to clamp, upper (23/64 x 35/64 x 2")

1шт.

17

13-416

BOLT,Hex, 1/4" - 20 x 1", Gr 5

Includes Ref: 18 Hex, 1/4"-20 x 1", G5

1шт.

18

95-4

WASHER,1/4"

- 5/16 x 3/4 x 1/16"

1шт.

19

92-4

LOCK WASHER,1/4"

WASHER, LOCK, 1/4"

1шт.

20

131-611

NUT,Ret, 1/4"-20

- 1/4" Tinnerman

1шт.

21

A60404

CLIP

- tube mounting

2шт.

22

13-420

BOLT,Hex, 1/4" - 20 x 1-1/4", Gr 5

2шт.

23

195-18

WASHER,1/4"

- 9/32 x 5/8 x 1/16"

2шт.

24

131-611

NUT,Ret, 1/4"-20

- 1/4" Tinnerman

1шт.

25

25-104

NUT,1/4"-20, G5

1шт.

Выбрано товаров: 22