Запчасти Case IH 1090 (282) - CONTROL CONSOLE (09) - CHASSIS/ATTACHMENTS

Схема запчастей Case IH 1090 - (282) - CONTROL CONSOLE (09) - CHASSIS/ATTACHMENTS
3
9
7
11
10
7
8
6
2
11
4
11
10
1
10
8
5
FIT
1:1
100%

Артикул

Название

Примечание

Количество

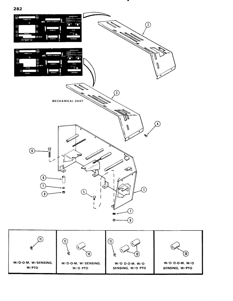
1

A62422

CONSOLE ASSY. - control (1st used trac. SN8670148)

1шт.

1

A60657

CONSOLE ASSY. - control (Used prior to trac. SN8670148)

1шт.

2

A59786

COVER

- control console (Power Shift)

1шт.

3

A59787

COVER

- control console (Mechanical Shift)

1шт.

4

113-22

BOLT,Hex, 1/4" - 20 x 1/2", Gr 5, Full Thd

- 1/4 x 1/2" N.C. hex.

6шт.

5

13-614

BOLT,Hex, 3/8" - 16 x 7/8", Gr 5, Full Thd

1шт.

5

13-630

BOLT,Hex, 3/8" - 16 x 1-7/8", Gr 5

- 3/8 x 1-7/8" N.C. hex.

1шт.

6

13-648

BOLT,Hex, 3/8" - 16 x 3", Gr 5

- 3/8 x 3" N.C. hex.

1шт.

7

193-46

LOCK WASHER,Ext-Int Tooth, 3/8"

WASHER - Shakeproof, 3/8" int./ext.

3шт.

8

25-106

NUT,3/8"-16, G5

- 3/8" N.C. hex.

3шт.

9

T32627

SPACER,5/8" Tube x 2"

- console

1шт.

10

A59994

SPACER

- D-O-M sensing & P.T.O. (See Insets)

1шт.

11

A27785

CIRCLIP,#62, .480" Dia, E-Type

Ring, Retaining, (see insets) #62, .480" Dia, E-Type

1шт.

Выбрано товаров: 13