Запчасти Case IH 1090 (366) - CAB, AIR CONDITIONER (09) - CHASSIS/ATTACHMENTS

Схема запчастей Case IH 1090 - (366) - CAB, AIR CONDITIONER (09) - CHASSIS/ATTACHMENTS
42
35
17
5
19
31
9
33
1
25
30
13
15
9
4
36
18
32
27
42
21
20
10
24
22
16
11
23
6
5
28
19
3
20
23
12
34
26
2
8
7
4
42
42
21
FIT
1:1
100%

Артикул

Название

Примечание

Количество

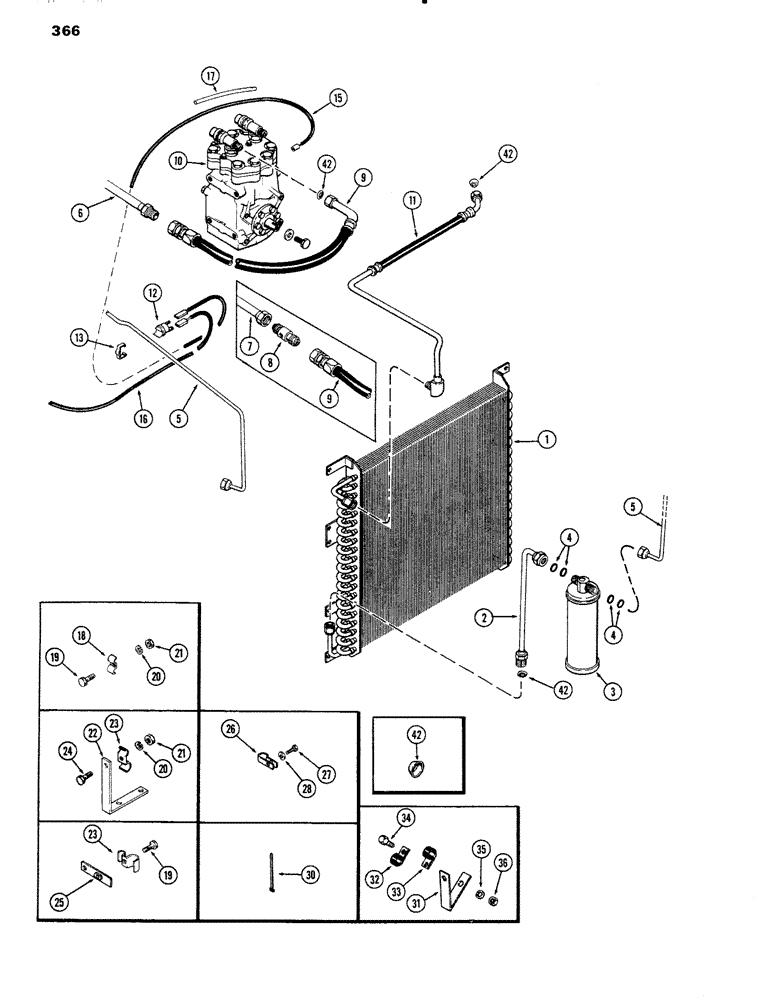
1

A61812

COIL

- condenser

1шт.

2

A64579

TUBE

- condenser to receiver (Replaces A61816)

1шт.

3

A61688

TANK

RECEIVER - drier

1шт.

4

A61198

O-RING,0.07" Thk x 0.301" ID, -11

"O" RING - 5/16 x 7/16 x 1/16"

4шт.

5

A64581

TUBE

- receiver to cab (Replaces A61818)

1шт.

6

A62225

TUBE

- cab to compressor (Replaces A61213)

1шт.

7

A61213

TUBE

- cab to compressor (Used prior to trac. SN8665014) (Order A62225)

1шт.

8

A61189

UNION - tube to hose (only w/A61213 tube) (Used prior to trac. SN8665014)

1шт.

9

A61207

HOSE

-, Serial Range: cab-compressor

1шт.

10

REF

INSTRUCTION

COMPRESSOR - (Tecumseh)(Order from Figure: 368)

1шт.

10

REF

INSTRUCTION

COMPRESSOR - (York)(Order from Figure: 370)

1шт.

11

A64580

HOSE

- compressor to condenser (Replaces A61817)

1шт.

12

A61291

THERMOSTAT

- high temperature

1шт.

13

A61789

CLAMP

- thermostat

1шт.

15

A61755

ELECTRICAL WIRE

WIRE - thermostat to compressor clutch

1шт.

16

A42931

ELECTRICAL WIRE

WIRE - thermostat to cab harness

1шт.

17

A62053

HARNESS

LOOM - wire

1шт.

18

A61199

CLIP

- tube

1шт.

19

13-48

BOLT,Hex, 1/4" - 20 x 1/2", Gr 5

1шт.

20

92-4

LOCK WASHER,1/4"

WASHER, LOCK, 1/4"

1шт.

21

25-104

NUT,1/4"-20, G5

1шт.

22

A61819

BRACKET - air cond. tube mtg.

1шт.

23

A61704

CLAMP - tubes

2шт.

24

13-614

BOLT,Hex, 3/8" - 16 x 7/8", Gr 5, Full Thd

- 1/4 x 7/8" N.C. hex.

2шт.

25

A64397

BRACKET

- air cond. tube mtg. (Replaces A62254)

1шт.

26

A7922

CLIP

- clutch lead wire

1шт.

27

13-612

BOLT,Hex, 3/8" - 16 x 3/4", Gr 5, Full Thd

1шт.

28

92-6

LOCK WASHER,3/8"

1шт.

30

L11541

CABLE TIE,203.2mm L, Nylon

STRAP -, Serial Range: wires-tubes

2шт.

31

A62206

BRACKET - air cond. tubes

1шт.

32

49885

CLAMP

CLIP - tube, 5/8"

1шт.

33

49845

CLAMP

CLIP - tube, 3/8"

1шт.

34

13-614

BOLT,Hex, 3/8" - 16 x 7/8", Gr 5, Full Thd

1шт.

35

92-6

LOCK WASHER,3/8"

1шт.

36

25-106

NUT,3/8"-16, G5

- 3/8" N.C. hex.

1шт.

42

222-993

GASKET,3/8 Tube, Fl, Copper

1шт.

42

222-994

GASKET,1/2 Tube, Fl, Copper

- copper (for 1/2" tube)

1шт.

42

222-995

SEALING WASHER,15.88mm ID

- copper (for 5/8" tube)

1шт.

Выбрано товаров: 38