Запчасти Case IH 1090 (046) - FUEL TANK MOUNTING, (451B) DIESEL ENGINE (03) - FUEL SYSTEM

Схема запчастей Case IH 1090 - (046) - FUEL TANK MOUNTING, (451B) DIESEL ENGINE (03) - FUEL SYSTEM
30
2
4
9
15
11
10
24
31
6
1
19
3
17
18
21
23
22
8
20
10
7
16
5
FIT
1:1
100%

Артикул

Название

Примечание

Количество

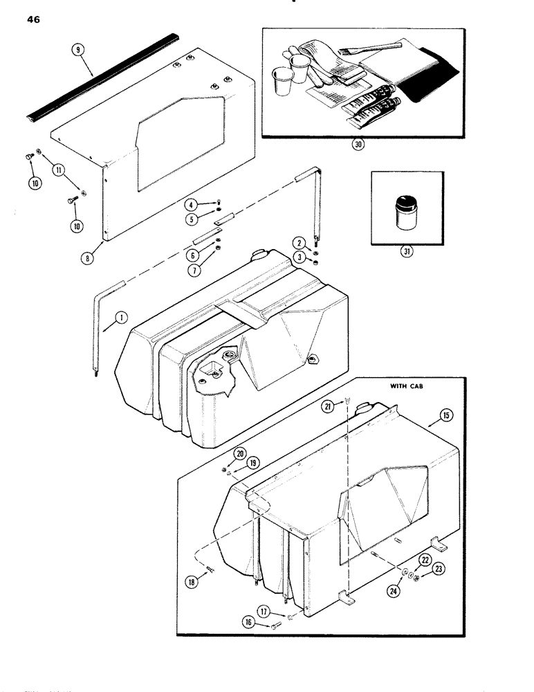
1

A62055

STRAP

ASSY. - fuel tank mounting

4шт.

2

95-6

WASHER,3/8"

- 7/16 x 1 x 5/64"

4шт.

3

25-106

NUT,3/8"-16, G5

- 3/8" N.C. hex.

4шт.

4

75-49

SCREW - 1/4 x 9/16" rd. hd.

2шт.

5

95-4

WASHER,1/4"

- 5/16 x 3/4 x 1/16"

2шт.

6

92-4

LOCK WASHER,1/4"

WASHER, LOCK, 1/4"

2шт.

7

25-104

NUT,1/4"-20, G5

2шт.

8

A59270

COVER - fuel tank (w/o cab)

1шт.

9

A64866

GUARD

MOLDING - fuel tank cover (Replaces A59498)

1шт.

10

113-206

BOLT,Hex, 3/8" - 16 x 3/4", Gr 5, Full Thd

8шт.

11

195-104

WASHER,3/8"

- 7/16 x 1 x 3/32"

8шт.

15

A62681

COVER

- fuel tank (w/cab)

1шт.

16

113-209

BOLT,Hex, 3/8" - 16 x 1-1/2", Gr 5

8шт.

17

192-21

LOCK WASHER,3/8"

WASHER, LOCK, 3/8"

12шт.

18

113-102

BOLT,Hex, 5/16" - 18 x 3/4", Gr 5

Hex, 5/16"-18 x 3/4", G5, Full Thd

3шт.

19

92-5

LOCK WASHER,5/16"

3шт.

20

9635082

NUT,5/16" - 18, Gr 5

3шт.

21

113-286

BOLT,Hex, 3/8" - 16 x 3/4", Gr 8, Full Thd

- 3/8 x 3/4" N.C. hex.

2шт.

22

195-81

WASHER

- 7/16 x 7/8 x 3/32"

2шт.

23

129-103

NUT,Hex, 3/8" - 16, Gr 5

NUT, 3/8"-16, G5

2шт.

24

A62687

SHIM,.11" Thk

Cover .11" Thk

1шт.

30

A44265

KIT

- fuel tank repair (does not include adhesive)

1шт.

31

A44266

KIT

ADHESIVE - tank repair

1шт.

Выбрано товаров: 23