Запчасти Case IH 1090 (066) - ELECTRICAL EQUIPMENT AND WIRING, (451B) DIESEL ENGINE, TRANSMISSION HARNESS (04) - ELECTRICAL SYSTEMS

Схема запчастей Case IH 1090 - (066) - ELECTRICAL EQUIPMENT AND WIRING, (451B) DIESEL ENGINE, TRANSMISSION HARNESS (04) - ELECTRICAL SYSTEMS
8
13
9
18
17
28
26
2
27
4
26
5
25
6
25
12
16
19
15
28
10
7
20
11
3
1
FIT
1:1
100%

Артикул

Название

Примечание

Количество

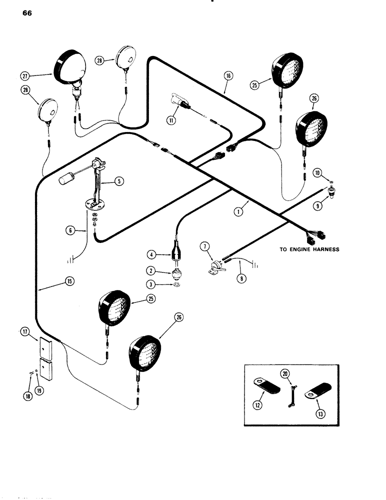
1

A62413

HARNESS

- transmission wire (Replaces A61132)

1шт.

2

A20990

SWITCH

- safety, neutral start

1шт.

3

G49402

SHIM,.010" Thk

Neutral start switch .010" Thk

1шт.

4

A61028

BOOT

- neutral start switch

1шт.

5

A62092

UNIT

- fuel sending (Replaces A59491)

1шт.

6

A59710

ELECTRICAL WIRE

WIRE - fuel gauge sender ground

1шт.

7

A33977

SWITCH

- hand brake warning

1шт.

8

A59711

ELECTRICAL WIRE

WIRE - hand brake switch ground

1шт.

9

A21462

SENDER UNIT

UNIT - transmission temperature sending

1шт.

10

129-661

NUT

- #10 N.F. hex., brass

1шт.

11

A8170

SOCKET

- auxiliary outlet (See Fig. 92)

1шт.

12

A37179

CLIP

- transmission sending wire

1шт.

13

A22880

CLIP

- trans. wire harness & fuel sending unit

1шт.

15

A62412

HARNESS

- fender wire, R.H. (Replaces A59708)

1шт.

16

A59709

HARNESS

- fender wire, L.H.

1шт.

17

A59720

SHIELD - fender wire harness, L.H. (for 12" fender)(26-13/16" long)

1шт.

17

A59721

SHIELD - fender wire harness, R.H. (for 12" fender)(26-13/16" long)

1шт.

17

A60893

GUARD

SHIELD - fender wire harness, R.H. & L.H. (for 24" fender)(14-5/16" long)

2шт.

18

13-58

BOLT,Hex, 5/16" - 18 x 1/2", Gr 5

4шт.

19

92-5

LOCK WASHER,5/16"

4шт.

20

A62547

CLAMP

- fender, Serial Range: wires-fender

7шт.

25

A59701

LAMP

- front head driving (See Fig. 88)

2шт.

26

A59724

HEADLAMP

LAMP - front cultivator (for 12" fender)(See Fig. 90)

2шт.

26

A59723

LAMP

- front cultivator (for 24" fender)(See Fig. 90)

2шт.

27

A59703

LAMP

- rear flood & tail (See Fig. 92)

1шт.

28

A34853

LAMP

- flasher (See Fig. 84)

2шт.

Выбрано товаров: 26