Запчасти Case IH 1090 (118) - FRONT END WEIGHTS (05) - STEERING

Схема запчастей Case IH 1090 - (118) - FRONT END WEIGHTS (05) - STEERING
22
21
35
1
33
6
37
24
34
17
23
38
15
9
3
18
5
20
2
4
31
16
19
32
8
7
36
10
30
11
FIT
1:1
100%

Артикул

Название

Примечание

Количество

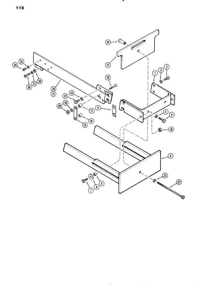
1

A61321

FRAME

- front adapter

1шт.

2

13-1232

BOLT,Hex, 3/4" - 10 x 2", Gr 5

4шт.

3

92-12

LOCK WASHER,3/4"

WASHER, LOCK, 3/4"

4шт.

4

13-1256

BOLT,Hex, 3/4" - 10 x 3-1/2", Gr 5

2шт.

5

92-12

LOCK WASHER,3/4"

WASHER, LOCK, 3/4"

2шт.

6

A61331

FRAME - front weight

1шт.

7

13-1244

BOLT,Hex, 3/4" - 10 x 2-3/4", Gr 5

2шт.

8

A61334

WASHER - weight frame

2шт.

9

A61567

SPACER

- weight frame guide (Replaces A62109)

2шт.

10

25-1012

NUT,3/4"-10, G5

2шт.

11

A62597

SHIM - front frame adapter

2шт.

15

A61336

STRAP

- front weight frame clamp

2шт.

16

A61567

SPACER

- weight frame, guide (Replaces A62109)

2шт.

17

A61566

SPACER - weight frame guide (Replaces A62110)

2шт.

18

19-1264

PLOW BOLT

BOLT - 3/4 x 4" N.C. plow hd.

4шт.

19

92-12

LOCK WASHER,3/4"

WASHER, LOCK, 3/4"

4шт.

20

25-1012

NUT,3/4"-10, G5

4шт.

21

A61345

WEIGHT - front add on (75 pounds each)(Mach. Item)

1шт.

22

A61342

BOLT - 1/2 x 5" N.C. hex. (use w/1 thru 7 weights)

1шт.

22

A61343

BOLT - 1/2 x 12" N.C. hex. (use w/8 thru 14 weights)

1шт.

22

A61344

BOLT - 1/2 x 18" N.C. hex. (use w/15 thru 20 weights)

1шт.

23

A61341

WASHER

- front weight clamp

1шт.

24

A61338

NUT

TUBE NUT - front weight clamp

1шт.

30

A61346

RAIL - side, R.H.

1шт.

31

A61347

RAIL - side, L.H.

1шт.

32

13-1232

BOLT,Hex, 3/4" - 10 x 2", Gr 5

Side rail Hex, 3/4"-10 x 2", G5

8шт.

33

92-12

LOCK WASHER,3/4"

WASHER, LOCK, , Side rail 3/4"

8шт.

34

13-820

BOLT,Hex, 1/2" - 13 x 1-1/4", Gr 5, Full Thd

Side rail Hex, 1/2"-13 x 1 1/4", G5, Full Thd

2шт.

35

92-8

LOCK WASHER,1/2"

side rail 1/2"

2шт.

36

13-1040

BOLT,Hex, 5/8" - 11 x 2-1/2", Gr 5

Side rail Hex, 5/8"-11 x 2 1/2", G5

4шт.

37

92-10

LOCK WASHER,5/8"

WASHER, LOCK, , Side rail 5/8"

4шт.

38

195-2097

WASHER,15/16" x 1 3/4" x .083"

- 15/16 x 1-3/4 x 14 ga., side rail

4шт.

Выбрано товаров: 32