Запчасти Case IH 1090 (142) - GEAR AND RANGE SHIFT LINKAGE, MECHANICAL SHIFT (06) - POWER TRAIN

Схема запчастей Case IH 1090 - (142) - GEAR AND RANGE SHIFT LINKAGE, MECHANICAL SHIFT (06) - POWER TRAIN
49
37
21
29
5
25
35
13
40
39
43
12
23
20
28
1
38
51
10
41
41
30
38
3
46
42
25
36
14
2
12
22
39
27
19
50
8
11
24
47
19
7
33
28
47
18
1
3
6
34
52
4
45
44
17
22
48
26
26
9
48
FIT
1:1
100%

Артикул

Название

Примечание

Количество

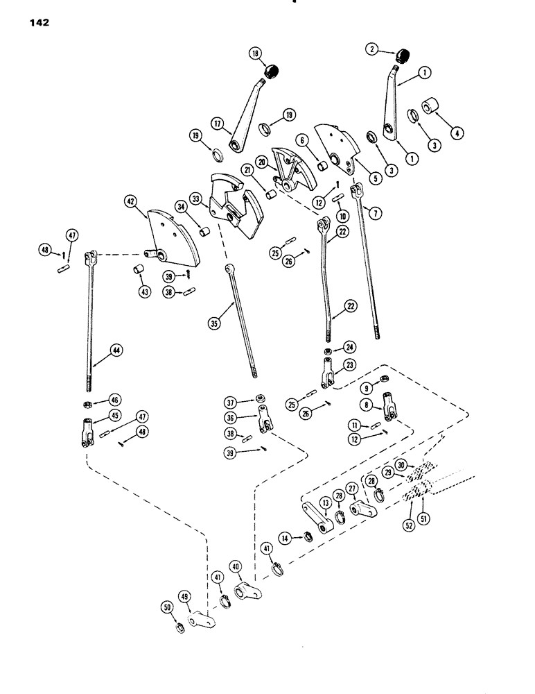
1

A59661

LEVER

- hand, range shift

1шт.

2

A65699

KNOB

- range shift lever (Replaces A62078)

1шт.

3

A59662

WASHER

- range shift lever

2шт.

4

A59664

SPACER

- range shift lever shaft

1шт.

5

A61862

QUADRANT

- range shift lever, Includes Ref: 6

1шт.

6

A59429

BUSHING,15.95mm ID x 19.13mm OD x 12.83mm L

- quadrant

1шт.

7

A59775

ROD

- range shift

1шт.

8

213-4

ADJUSTABLE CLEVIS,3/8"-24 x 2 1/2"

YOKE - range shift rod

1шт.

9

25-116

NUT,Hex, 3/8"-24, G5

- 3/8" N.F. hex.

1шт.

10

A59258

PIN

- range shift linkage

1шт.

11

141-4

CLEVIS PIN,3/8" x 1.060"

PIN, CLEVIS, 3/8" x 1.060"

1шт.

12

132-30

COTTER PIN,3/32" x 1 1/4"

Pin, Split (Cotter), 3/32" x 1 1/4"

2шт.

13

A59666

LEVER

- range shift

1шт.

14

A59594

RING

- snap, range shift lever

1шт.

17

A60360

LEVER

- hand, gear shift

1шт.

18

A65699

KNOB

- gear shift lever (Replaces A62078)

1шт.

19

A59662

WASHER

- gear shift lever

2шт.

20

A61874

QUADRANT

- reverse gear shift, Includes Ref: 21

1шт.

21

A61866

BUSHING,15.95mm ID x 19.13mm OD x 18.41mm L

- quadrant

1шт.

22

A60358

ROD

- reverse shift

1шт.

23

213-4

ADJUSTABLE CLEVIS,3/8"-24 x 2 1/2"

YOKE - gear shift rod

1шт.

24

25-116

NUT,Hex, 3/8"-24, G5

- 3/8" N.F. hex.

1шт.

25

A59258

PIN

- gear shift linkage

2шт.

26

132-30

COTTER PIN,3/32" x 1 1/4"

Pin, Split (Cotter), 3/32" x 1 1/4"

2шт.

27

A64936

LEVER

- reverse shift (Replaces A60369)

1шт.

28

B18208

SNAP RING,#100, Ext

reverse lever #100, Ext

1шт.

29

A59592

SHAFT

- internal range shift

1шт.

30

A59032

SHAFT

- external gear shift

1шт.

33

A61869

QUADRANT

- gear shift, 1st & 2nd, Includes Ref: 34

1шт.

34

A61871

BUSHING,15.95mm ID x 19.13mm OD x 6.48mm L

- quadrant

1шт.

35

A60389

ROD

- gear shift, 1st & 2nd

1шт.

36

213-4

ADJUSTABLE CLEVIS,3/8"-24 x 2 1/2"

YOKE - gear shift

1шт.

37

25-116

NUT,Hex, 3/8"-24, G5

- 3/8" N.F. hex.

1шт.

38

A59258

PIN

- gear shift linkage

2шт.

39

132-30

COTTER PIN,3/32" x 1 1/4"

Pin, Split (Cotter), 3/32" x 1 1/4"

2шт.

40

A64936

LEVER

- shift, 1st & 2nd (Replaces A60369)

1шт.

41

B18208

SNAP RING,#100, Ext

lever #100, Ext

2шт.

42

A61864

QUADRANT

- gear shift, 3rd & 4th, Includes Ref: 43

1шт.

43

A61866

BUSHING,15.95mm ID x 19.13mm OD x 18.41mm L

- quadrant

1шт.

44

A59775

ROD

- gear shift, 3rd & 4th

1шт.

45

213-4

ADJUSTABLE CLEVIS,3/8"-24 x 2 1/2"

YOKE - gear shift

1шт.

46

25-116

NUT,Hex, 3/8"-24, G5

- 3/8" N.F. hex.

1шт.

47

A59258

PIN

- gear shift linkage

2шт.

48

132-30

COTTER PIN,3/32" x 1 1/4"

Pin, Split (Cotter), 3/32" x 1 1/4"

2шт.

49

A64935

LEVER

- gear shift, 3rd & 4th (Replaces A60363)

1шт.

50

A59594

RING

- shift lever

1шт.

51

A58245

SHAFT

- external, gear shift lever

1шт.

52

A59591

SHAFT

- internal gear shift lever

1шт.

Выбрано товаров: 48