Запчасти Case IH 1090 (148) - GEAR SHIFT MECHANISM, COVERS AND SHAFTS, MECHANICAL SHIFT (06) - POWER TRAIN

Схема запчастей Case IH 1090 - (148) - GEAR SHIFT MECHANISM, COVERS AND SHAFTS, MECHANICAL SHIFT (06) - POWER TRAIN
31
15
29
33
7
7
6
32
5
4
12
16
18
15
23
10
9
8
11
2
21
14
18
9
15
30
23
13
34
15
3
20
27
22
1
34
18
20
17
26
24
2
19
13
FIT
1:1
100%

Артикул

Название

Примечание

Количество

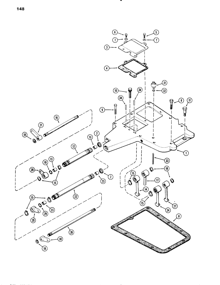
1

A59031

COVER ASSY. - transmission front top, Includes: Ref. 2

1шт.

2

A28211

OIL SEAL

- oil

2шт.

3

A59114

COVER

- gear shift lever

1шт.

4

A59115

GASKET

- cover

1шт.

5

113-217

PREV TORQUE BOLT,Locking, 3/8"-16 x 1", G5, Full Thd

BOLT, Locking, 3/8"-16 x 1", G5, Full Thd

1шт.

6

13-610

BOLT,Hex, 3/8" - 16 x 5/8", Gr 5, Full Thd

3шт.

7

95-6

WASHER,3/8"

- 7/16 x 1 x 5/64"

4шт.

8

A62114

GASKET,0.79mm Thk

- transmission cover

1шт.

9

13-840

BOLT,Hex, 1/2" - 13 x 2-1/2", Gr 5

- 1/2 x 2-1/2" N.C. hex.

9шт.

10

166-91

12 PT SCREW,Flg, 1/2" - 13 x 2 1/2, Gr 8

BOLT - 1/2 x 2-1/2" N.C. Ferry cap

1шт.

11

A32042

STEP BOLT

BOLT - 7/16 x 1-21/32" N.C. hex., dowel

1шт.

12

A59032

SHAFT

ASSY. - external reverse, Includes: Ref. 13

1шт.

13

A57709

BUSHING

- shaft

2шт.

14

A61278

LEVER

- shift, reverse

1шт.

15

B18208

SNAP RING,#100, Ext

shaft #100, Ext

6шт.

16

A59592

SHAFT

- internal range

1шт.

17

A59590

LEVER

- shift, range

1шт.

18

A59594

RING

- snap, internal shaft

4шт.

19

A58949

O-RING,0.614" ID x 0.754" OD

"O" RING - 3/4 x 5/8 x 1/16"

1шт.

20

A64936

LEVER

- reverse, 1st & 2nd gear shift (Replaces A60369)

2шт.

21

A59666

LEVER

- range shift

1шт.

22

A58245

SHAFT

ASSY. - external gear shift, Includes: Ref. 23

1шт.

23

A57709

BUSHING

- shaft

2шт.

24

A61281

LEVER

- gear shift, 3rd & 4th

1шт.

26

A59591

SHAFT

- internal gear shaft

1шт.

27

A61280

LEVER

- shift, 1st & 2nd

1шт.

29

A58949

O-RING,0.614" ID x 0.754" OD

"O" RING - 3/4 x 5/8 x 1/16"

1шт.

30

A64935

LEVER

- gear shift, 3rd & 4th (Replaces A60363)

1шт.

31

A20990

SWITCH

- safety, neutral start

1шт.

32

G49402

SHIM,.010" Thk

Neutral start switch .010" Thk

1шт.

33

A59116

ROD

- neutral start (3-3/8" long)(Used prior to trans. S/N 2374490)

1шт.

33

A62843

ROD - neutral start (3-5/16" long)(1st used trans. S/N 2374490)

1шт.

34

A58950

PIN

- dowel, external gear shift lever shaft

2шт.

Выбрано товаров: 33