Запчасти Case IH 1170 (184) - HOOD (09) - CHASSIS/ATTACHMENTS

Схема запчастей Case IH 1170 - (184) - HOOD (09) - CHASSIS/ATTACHMENTS
30
19
21
18
23
22
16
34
42
7
31
8
9
6
2
31
17
32
41
36
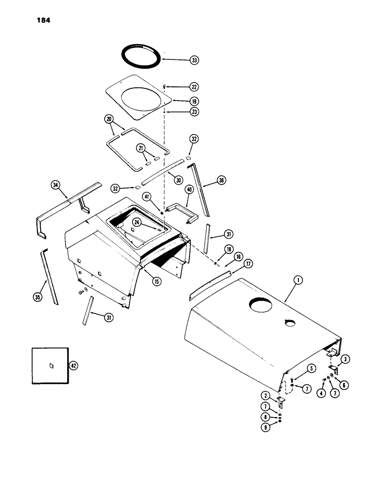
1
33
3
5
15
40
20
24
32
7
7
35
4
FIT
1:1
100%

Артикул

Название

Примечание

Количество

1

A61638

HOOD ASSY. - front

1шт.

A60960 Hood with three holes as shown on Figure 186.

1шт.

2

A62742

BRACKET

- R.H., Serial Range: hood-grille

1шт.

3

A62743

BRACKET

- L.H., Serial Range: hood-grille

1шт.

4

280345

BOLT,Hex, 5/16" - 18 x 7/8", Gr 5, Full Thd

- 5/16 x 7/8" N.C. hex.

4шт.

5

113-144

BOLT

- 5/16 x 1" N.C. hex.

2шт.

6

195-80

WASHER - 3/8 x 1-1/8 x 1/16"

2шт.

7

95-5

WASHER,3/8" x 7/8" x .083"

- 3/8 x 7/8 x 5/64"

8шт.

8

92-5

LOCK WASHER,5/16"

6шт.

9

9635082

NUT,5/16" - 18, Gr 5

- 5/16" N.C. hex.

2шт.

15

A61640

HOOD

ASSY. - rear

1шт.

16

A64876

COVER

- rear hood (Replaces A59395 screen)

1шт.

17

182-522

SCREW,Cross Pan Hd, #6 - 32 x 1/2"

- #6-32 x 1/2" pan hd.

3шт.

18

131-618

NUT

- #6 Tinnerman

3шт.

19

A61642

COVER - hood access

1шт.

20

A59400

SEAL

- hood access cover, outer

2шт.

To Be Attached With Adhesive 345 - 22

1шт.

21

A62045

SEAL

- hood access cover, center

1шт.

To Be Attached With Adhesive 345 - 22

1шт.

22

A61044

STUD

- wing head, rear hood cover

3шт.

23

A61045

RETAINER

- stud, rear hood cover

3шт.

24

A61045

RETAINER

RECEPTACLE CLIP - rear hood cover

3шт.

30

A59406

SEAL

- rear hood center

1шт.

To Be Attached With Adhesive 345 - 22

1шт.

31

A59408

SEAL

- rear hood, outer

2шт.

To Be Attached With Adhesive 345 - 22

1шт.

32

A62122

SEAL

- rear hood, upper

2шт.

To Be Attached With Adhesive 345 - 22

1шт.

33

A64482

MOLDING

- air cleaner (Replaces A62282)

1шт.

To Be Attached With Adhesive 345 - 22

1шт.

34

A64864

GUARD

MOLDING - rear hood & inst. panel

1шт.

To Be Attached With Adhesive 345 - 22

1шт.

35

A60940

MOLDING

- rear hood lower, R.H.

1шт.

To Be Attached With Adhesive 345 - 22

1шт.

36

A60941

EJECTOR

MOLDING - rear hood lower, L.H.

1шт.

To Be Attached With Adhesive 345 - 22

1шт.

40

A60530

HANDLE

- R.H. & L.H.

2шт.

41

230-4216

LOCK NUT,3/8"-16, GA

NUT - 3/8" N.C. hex., lock, handle

4шт.

42

A59366

PLUG

- handle hole (used w/o hood handle)

1шт.

Выбрано товаров: 0