Запчасти Case IH 1170 (274) - CAB, RADIO (09) - CHASSIS/ATTACHMENTS

Схема запчастей Case IH 1170 - (274) - CAB, RADIO (09) - CHASSIS/ATTACHMENTS
11
22
14
20
8
11
12
23
5
7
3
6
10
13
2
24
1
4
10
14
15
21
16
FIT
1:1
100%

Артикул

Название

Примечание

Количество

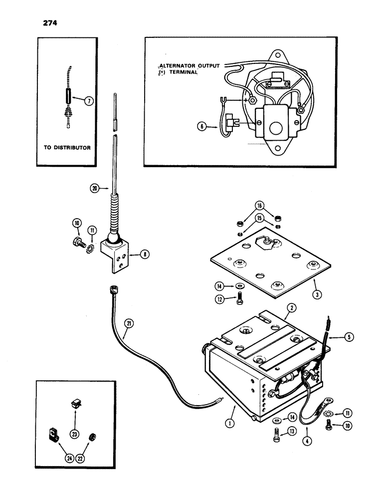
A62456

RADIO

KIT - (Replaces A61804 & A61805) (for complete installation also order 1-A62457 antenna kit), Includes: Ref. 1 - 24

1шт.

1

NSS

NOT SOLD SEPARAT

RADIO - w/speaker

1шт.

2

NSS

NOT SOLD SEPARAT

PLATE - radio mounting, w/bolts

1шт.

3

NSS

NOT SOLD SEPARAT

PLATE - roof mounting adapter

1шт.

4

NSS

NOT SOLD SEPARAT

STRAP - ground

1шт.

5

NSS

NOT SOLD SEPARAT

WIRE - lead in (hot)(60")

1шт.

6

NSS

NOT SOLD SEPARAT

CAPACITOR - alternator

1шт.

7

NSS

NOT SOLD SEPARAT

SUPRESSOR - distributor (not used diesel models)

1шт.

8

NSS

NOT SOLD SEPARAT

BRACKET - antenna mounting

1шт.

NSS

NOT SOLD SEPARAT

PADS - shock, rubber

4шт.

10

187-1036

SELF-TAP SCREW,Hex Washer, 1/4" - 20 x 1/2"

SCREW - antenna brkt. & ground strap (1/4 x 1" hex.)

4шт.

11

193-73

LOCK WASHER,Ext-Int Tooth, 1/4"

WASHER - Shakeproof, 1/4" int./ext.

4шт.

12

13-410

BOLT,Hex, 1/4" - 20 x 5/8", Gr 5, Full Thd

Adapter plate Hex, 1/4"-20 x 5/8", G5, Full Thd

2шт.

13

13-416

BOLT,Hex, 1/4" - 20 x 1", Gr 5

Adapter plate Hex, 1/4"-20 x 1", G5

2шт.

14

95-4

WASHER,1/4"

- 5/16 x 3/4 x 1/16"

4шт.

15

92-4

LOCK WASHER,1/4"

WASHER, LOCK, 1/4"

4шт.

16

25-104

NUT,1/4"-20, G5

4шт.

A62457

ANTENNA

KIT, Includes: Ref. 20 - 24

1шт.

20

NSS

NOT SOLD SEPARAT

ANTENNA

1шт.

21

NSS

NOT SOLD SEPARAT

CABLE - lead-in (84" long)

1шт.

22

A23870

GROMMET

- antenna lead thru frame

1шт.

23

A62079

CLIP

- radio wire

5шт.

24

A20541

CLIP

- antenna, Serial Range: wire-headliner

6шт.

Выбрано товаров: 23