Запчасти Case IH 1175 (110) - GEAR SHIFT COVER, LEVERS AND SHAFTS (06) - POWER TRAIN

Схема запчастей Case IH 1175 - (110) - GEAR SHIFT COVER, LEVERS AND SHAFTS (06) - POWER TRAIN
9
33
22
11
15
13
20
23
13
30
7
20
4
12
5
6
31
29
15
2
23
1
3
18
27
14
2
21
8
16
33
32
15
17
18
15
19
9
10
7
18
35
24
26
FIT
1:1
100%

Артикул

Название

Примечание

Количество

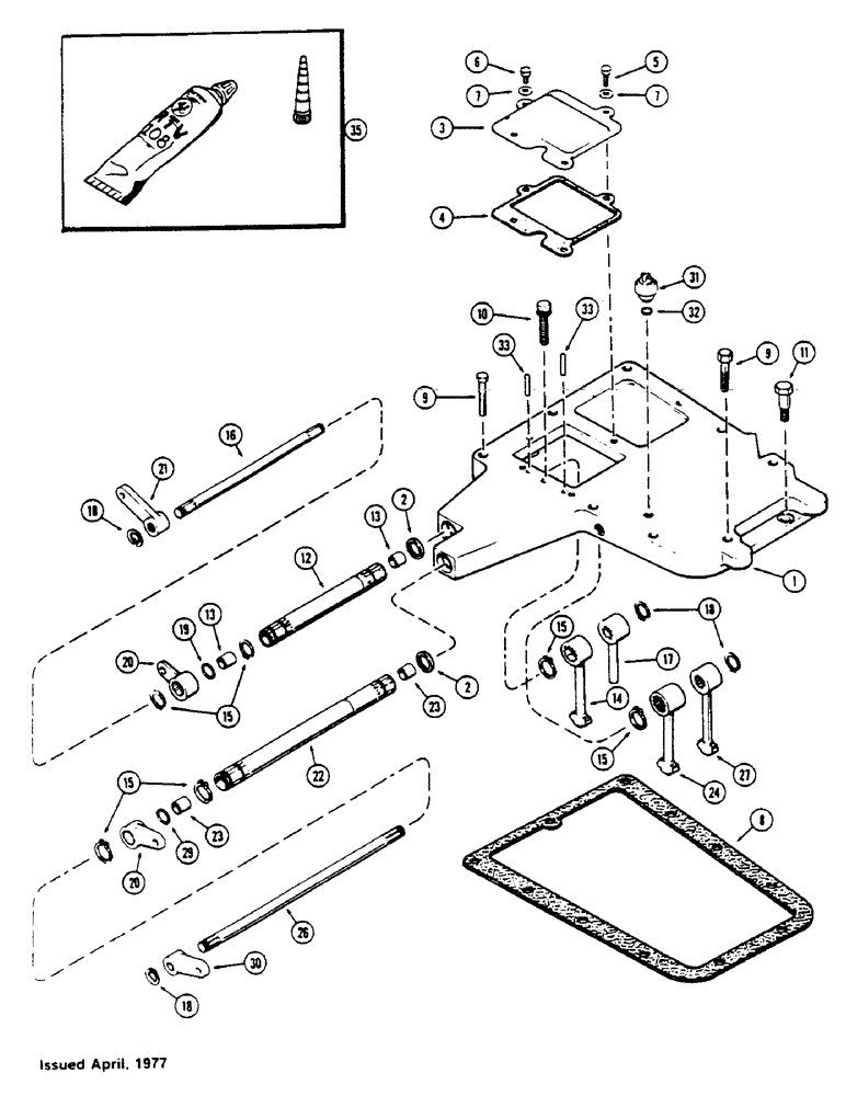
1

A59031

COVER ASSY. - front top, trans. case, Includes: Ref. 2

1шт.

2

A28211

OIL SEAL

- oil

1шт.

3

A59114

COVER

- shift levers

1шт.

4

A59115

GASKET

- cover (Order 345-61 adhesive) (See Ref. 35)

1шт.

5

113-217

PREV TORQUE BOLT,Locking, 3/8"-16 x 1", G5, Full Thd

BOLT, Locking, 3/8"-16 x 1", G5, Full Thd

1шт.

6

13-610

BOLT,Hex, 3/8" - 16 x 5/8", Gr 5, Full Thd

3шт.

7

95-6

WASHER,3/8"

- 7/16 x 1 x 5/64"

4шт.

8

A62114

GASKET,0.79mm Thk

- cover

1шт.

9

13-840

BOLT,Hex, 1/2" - 13 x 2-1/2", Gr 5

- 1/2 x 2-1/2" N.C. hex

9шт.

10

166-91

12 PT SCREW,Flg, 1/2" - 13 x 2 1/2, Gr 8

SCREW - cap, 1/2 x 2-1/2" N.C. 12 pt. Ferry

1шт.

11

A32042

STEP BOLT

BOLT - dowel (7/16 x 1-21/32" hex.)

1шт.

12

A59032

SHAFT

ASSY. - reverse, external, Includes: Ref. 13

1шт.

13

A57709

BUSHING

- shaft

2шт.

14

A62266

LEVER

- reverse shift (Replaces A61278)

1шт.

15

B18208

SNAP RING,#100, Ext

lever shaft #100, Ext

6шт.

16

A59592

SHAFT

- range, internal

1шт.

17

A59590

LEVER

- range shift

1шт.

18

A59594

RING

- snap, internal shaft

4шт.

19

A58949

O-RING,0.614" ID x 0.754" OD

- shaft (3/4 x 5/8 x 1/16")

1шт.

20

A64936

LEVER

- shaft, 1st and 2nd reverse shift (Replaces A60369)

2шт.

21

A59666

LEVER

- shaft, range shift

1шт.

22

A58245

SHAFT

ASSY. - external, gear shift, Includes: Ref. 23

1шт.

23

A57709

BUSHING

- shaft

2шт.

24

A62265

LEVER

- fork shift, 3rd and 4th gear (Replaces A61281)

1шт.

26

A59591

SHAFT

- internal, gear shift

1шт.

27

A62264

LEVER

- fork shift, 1st and 2nd gear (Replaces A61280)

1шт.

29

A58949

O-RING,0.614" ID x 0.754" OD

- shaft (3/4 x 5/8 x 1/16")

1шт.

30

A64935

LEVER

- shaft, 3rd and 4th gear (Replaces A60363)

1шт.

31

A20990

SWITCH

- safety, neutral start

1шт.

32

G49401

SHIM,.005" Thk

Safety switch .005" Thk

1шт.

32

G49402

SHIM,.010" Thk

Safety switch .010" Thk

1шт.

33

A58950

PIN

- dowel, external shaft

2шт.

35

345-61

SEALANT

SEALANT - rubber adhesive (3 oz. tube)

1шт.

Выбрано товаров: 33