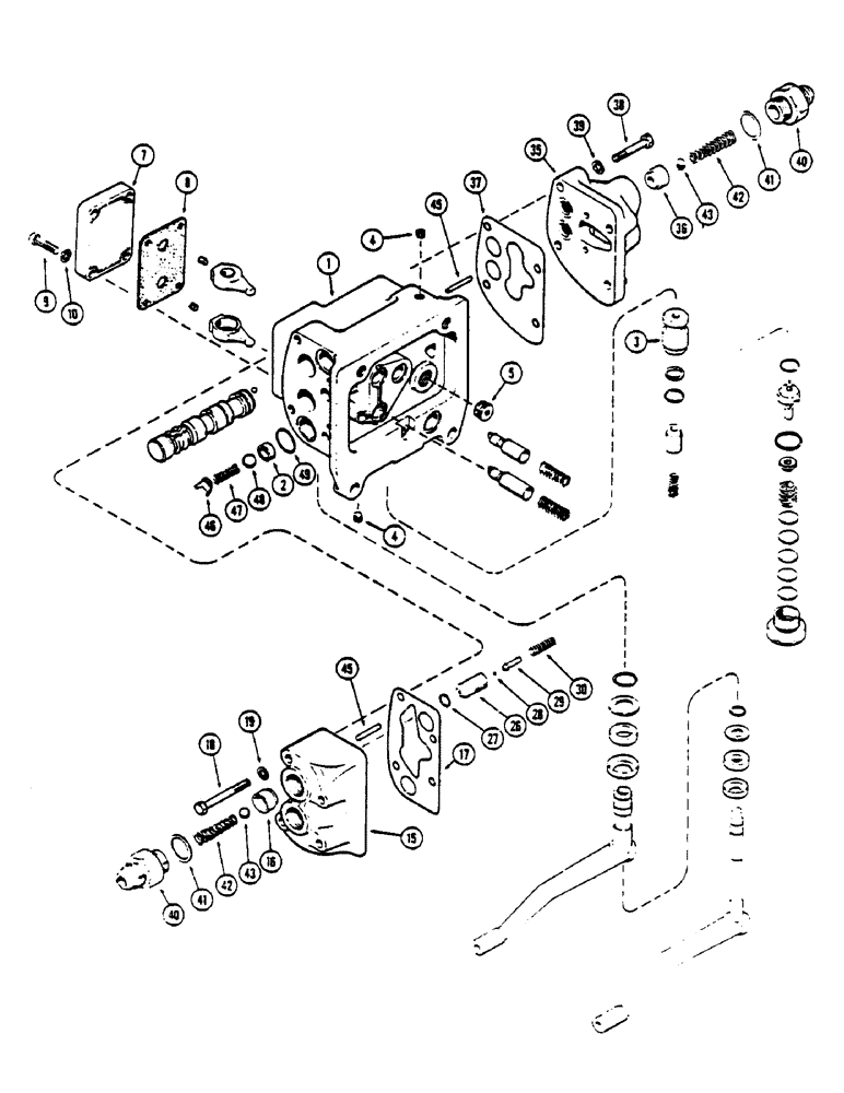
Запчасти Case IH 1175 (169C) - A66503 AUXILIARY VALVE, USED PRIOR TO TRANSMISSION SERIAL NUMBER 2465931 (08) - HYDRAULICS

Схема запчастей Case IH 1175 - (169C) - A66503 AUXILIARY VALVE, USED PRIOR TO TRANSMISSION SERIAL NUMBER 2465931 (08) - HYDRAULICS
48
40
40
41
5
38
42
1
4
3
16
46
8
37
39
36
35
49
2
29
43
42
18
17
28
41
27
30
26
9
10
4
19
45
7
43
45
15
47
FIT
1:1
100%

Артикул

Название

Примечание

Количество

A66503

VALVE

ASSY. - auxiliary (wstr. outlet fitting on R.H. side), Includes: Ref. 1 - 49

1шт.

1

A66628

BODY

ASSY. - valve (Order A141405), Includes: Ref. 2 - 5

1шт.

2

A57537

SEAT

- ball, check valve

4шт.

3

A57536

SLEEVE

- pilot, relief valve

1шт.

4

221-849

PLUG,Hex Soc, 1/8"-27

- 1/8" hex. socket hd. pipe

4шт.

5

221-843

PLUG,Hex Soc, 3/8"-18

- 3/8" hex. sckt. hd. pipe

1шт.

7

A66435

CAP

- valve body

1шт.

8

A76374

GASKET

- cap

1шт.

9

13-416

BOLT,Hex, 1/4" - 20 x 1", Gr 5

4шт.

10

92-4

LOCK WASHER,1/4"

WASHER, LOCK, 1/4"

4шт.

15

A57565

VALVE

HEAD ASSY. - R.H. valve, Includes: Ref. 16

1шт.

16

NSS

NOT SOLD SEPARAT

SEAT - valve head

2шт.

17

A57561

GASKET

- R.H. head

1шт.

18

13-628

BOLT,Hex, 3/8" - 16 x 1-3/4", Gr 5

2шт.

18

13-640

BOLT,Hex, 3/8" - 16 x 2-1/2", Gr 5

- 3/8 x 2-1/2" N.C. hex.

2шт.

19

92-6

LOCK WASHER,3/8"

4шт.

26

A62273

SEAT

- thermal valve

2шт.

27

A27891

O-RING,0.103" Thk x 0.362" ID, -110, Cl 5, 75 Duro

- thermal valve, 3/8 x 9/16 x 3/32"

2шт.

28

211-3

BALL,1/8" Dia

- thermal valve, . 1/8" Dia

2шт.

29

A62272

GUIDE

- ball, thermal valve

2шт.

30

A57396

SPRING

- valve

2шт.

35

A57564

VALVE

HEAD ASSY. - L.H. valve, Includes: Ref. 36

1шт.

36

NSS

NOT SOLD SEPARAT

SEAT - valve head

2шт.

37

A57560

GASKET

- L.H. head

1шт.

38

13-644

BOLT,Hex, 3/8" - 16 x 2-3/4", Gr 5

- 3/8 x 2-3/4" N.C. hex.

4шт.

39

92-6

LOCK WASHER,3/8"

4шт.

40

A64708

FITTING

- remote hose (See Figure 184 and 185C)

4шт.

41

218-5098

FITTING

O-RING - 3/4 x 59/64 x 1/8"

4шт.

42

A66473

SPRING

- check valve

4шт.

43

211-13

BALL,1/2" Dia

- check valve 1/2" Dia

4шт.

45

A57559

SPOOL

- auxiliary

4шт.

46

A27364

GUIDE

- ball, check valve

4шт.

47

A27452

SPRING

- check valve

4шт.

48

211-15

BALL,5/8" Dia

- check valve, . 5/8" Dia

4шт.

49

A58602

O-RING,0.103" Thk x 0.924" ID, -119, Cl 5, 75 Duro

- 15/16 x 1-1/8 x 3/32"

4шт.

Выбрано товаров: 35