Запчасти Case IH 1175 (176) - D-O-M UPPER SENSING LINKAGE (08) - HYDRAULICS

Схема запчастей Case IH 1175 - (176) - D-O-M UPPER SENSING LINKAGE (08) - HYDRAULICS
23
24
34
8
15
1
18
10
2
6
36
13
21
12
3
20
38
16
5
25
39
4
9
32
19
37
31
7
30
16
17
22
35
33
11
FIT
1:1
100%

Артикул

Название

Примечание

Количество

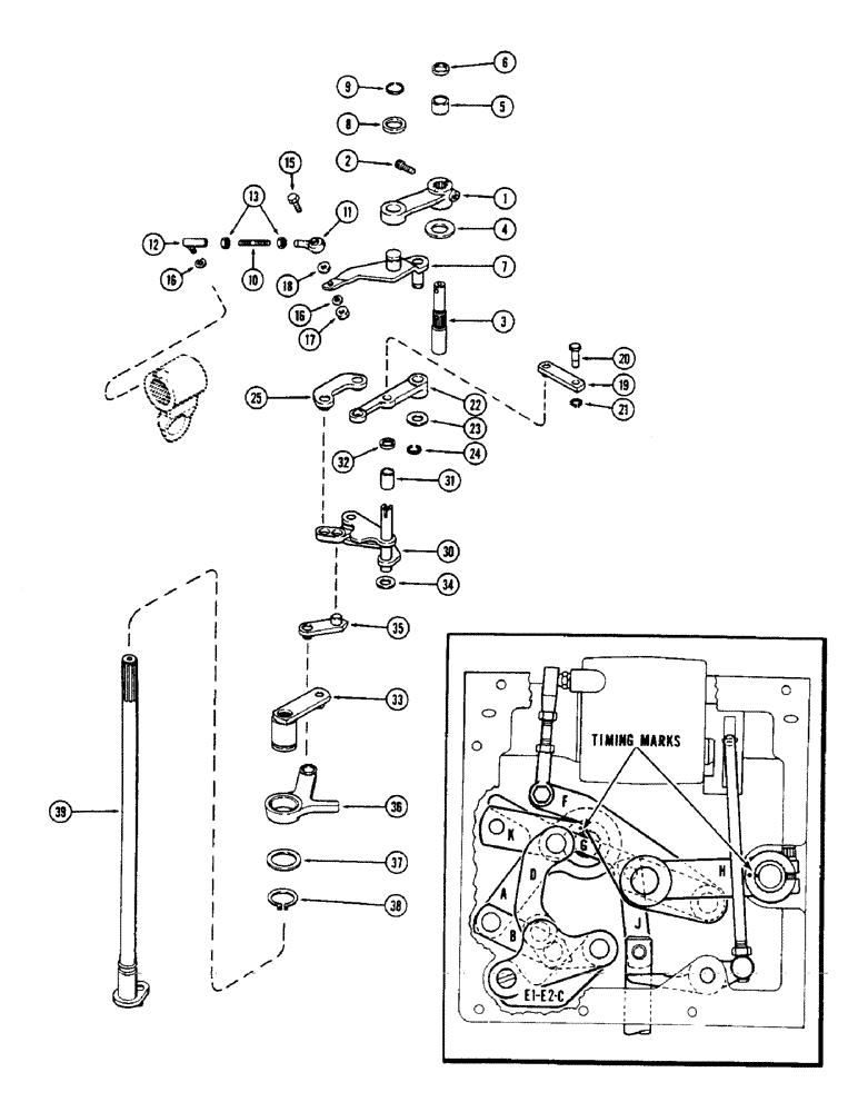
1

A32320

LEVER

- draft control (Link "H")

1шт.

2

166-27

SCREW - cap, 5/16 x 1-1/4" N.C. ferry

1шт.

3

A59599

SHAFT - manual, draft control

1шт.

4

A33316

WASHER - plain (1-1/32 x 1-11/16" x 12 ga.)

1шт.

5

A33314

SPACER

- manual shaft (53/64 x 1-3/64 x 9/16")

1шт.

6

A32309

SEAL,18.8mm ID x 25.5mm OD x 3.1mm Thk

- oil, manual shaft (3/4 x 1 x 1/8")

1шт.

7

A57088

LINK

LEVER - draft control (Link "F")

1шт.

8

F20286

WASHER

- (29/32 x 1-3/8" x 16 ga.)

1шт.

9

F62205

RING, SNAP

RING - snap

1шт.

10

A32347

ROD

- Link "F"

1шт.

11

A35134

BEARING

EYE - rod, Serial Range: end-link

1шт.

12

A27382

BALL

JOINT - rod

1шт.

13

25-155

JAM NUT,Jam, 5/16"-24, G5

- jam, 5/16" N.F. hex.

2шт.

15

13-514

BOLT,Hex, 5/16" - 18 x 7/8", Gr 5

1шт.

16

92-5

LOCK WASHER,5/16"

2шт.

17

25-155

JAM NUT,Jam, 5/16"-24, G5

- jam, 5/16" N.F. hex.

2шт.

18

A32395

WASHER

SPACER - ball joint (25/64 x 9/16" x 16 ga.)

1шт.

19

A32331

LINK

LEVER - draft control (Link "J")

1шт.

20

A32334

PIN

- link to valve spool

1шт.

21

G46146

SNAP RING,#37, Ext

Ring, Snap, , pin #37, Ext

1шт.

22

A64597

LINK

- draft control (Link "G") (Replaces A32335)

1шт.

23

B18080

WASHER

- plain (21/32 x 1-1/4" x 16 ga.)

1шт.

24

A26828

RING

- snap, link retaining

1шт.

25

A57365

LEVER

- draft control (Link "D")

1шт.

30

A32310

LINK

- draft control (Link "C")

1шт.

31

A32914

SPACER

- hub (21/32 x 3/4 x 1"), Includes: Ref. 32

1шт.

32

A32308

OIL SEAL

- oil (5/8 x 7/8 x 1/8")

1шт.

33

A33393

LEVER

- draft control (Link "K")

1шт.

34

A57090

WASHER

- plain (21/32 x 1-1/8" x 23 ga.)

1шт.

35

A57362

LINK

LEVER - draft control (Link "B")

1шт.

36

A64598

LEVER

- draft control (Link "A") (Replaces A32324)

1шт.

37

B18302

WASHER

- plain (1-17/32 x 2 x 3/4")

1шт.

38

R13338

SNAP RING,#150, Ext

Ring, Snap, , link #150, Ext

1шт.

39

A34834

SHAFT

- draft signal

1шт.

Выбрано товаров: 34