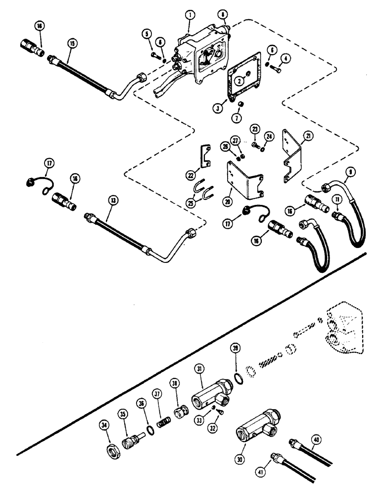
Запчасти Case IH 1175 (184) - BREAK-AWAY COUPLING AND LINES, PRESSURE COUPLINGS (08) - HYDRAULICS

Схема запчастей Case IH 1175 - (184) - BREAK-AWAY COUPLING AND LINES, PRESSURE COUPLINGS (08) - HYDRAULICS
33
30
16
25
21
38
16
40
4
41
16
34
8
27
15
32
37
17
1
39
35
9
2
5
17
20
6
7
6
36
11
22
16
13
23
26
3
24
31
FIT
1:1
100%

Артикул

Название

Примечание

Количество

1

REF

INSTRUCTION

VALVE ASSY - auxiliary (See Figure 168)

1шт.

2

A32348

GASKET,16.54mm ID x 23.29mm OD x 3.5mm Thk

Valve, 21/32 x 29/32 x 9/64"

1шт.

3

A32349

GASKET

, Serial Range: Valve-housing

1шт.

4

13-820

BOLT,Hex, 1/2" - 13 x 1-1/4", Gr 5, Full Thd

2шт.

5

13-824

BOLT,Hex, 1/2" - 13 x 1-1/2", Gr 5, Full Thd

2шт.

6

92-8

LOCK WASHER,1/2"

4шт.

7

25-108

NUT,1/2"-13, G5

Hex

2шт.

8

A64708

FITTING

Outlet, RH and LH hose (7/8" N.F. x 1-1/16" N.F. x 1-3/4" long)

4шт.

9

A66791

HOSE

Hydraulic, LH upper

1шт.

11

A66793

HOSE

Hydraulic, LH lower

1шт.

13

A66792

HOSE

Hydraulic, RH lower

1шт.

15

A66790

HOSE

Hydraulic, RH upper

1шт.

16

REF

INSTRUCTION

COUPLING ASSY - female (See Figure 187A)

4шт.

17

A135004

PLUG

Dust, female couplings

4шт.

20

A66786

SPARE PART Mounting, RH coupling

1шт.

21

A66787

BRACKET

SPARE PART Mounting, LH coupling

1шт.

22

A135057

SPARE PART Bracket, RH

1шт.

23

13-1020

BOLT,Hex, 5/8" - 11 x 1-1/4", Gr 5, Full Thd

4шт.

24

92-10

LOCK WASHER,5/8"

4шт.

25

A66788

CLAMP

, Serial Range: Coupling-bracket

4шт.

26

192-19

LOCK WASHER,Helical Spring, 0.256" ID, CST, ZND

8шт.

27

7770

NUT,Hex, 1/4 - 20, Cl 5

8шт.

A65107

REGULATOR

KIT - speed, remote cylinder, hydraulic, Incl. Ref. 30 - 39

1шт.

30

A65105

VALVE

ASSY - hyd. cyl. speed, Incl. Ref. 31 - 38

1шт.

31

NSS

NOT SOLD SEPARAT

BODY - regulator, hydraulic cylinder speed

1шт.

32

A31095

SCREW,Hex, #8 - 32 x 15/32"

Speed regulator stop, hydraulic cylinder

1шт.

33

192-106

WASHER

Lock, #8, hydraulic cylinder speed regulator

1шт.

34

A31094

JAM NUT

Adjusting screw locking, hydraulic cylinder speed regulator

1шт.

35

A31093

ADJUSTMENT SCREW,7/8" - 14 x 2 11/32", Gr 2

Speed regulation adjusting, hydraulic cylinder

1шт.

36

A30097

O-RING,0.549" ID x 0.755" OD x 0.103"

Hydraulic cylinder speed regulator

1шт.

37

A27452

SPRING

Piston, hydraulic cylinder speed regulator

1шт.

38

A31092

PISTON

Speed regulation, hydraulic cylinder

1шт.

39

218-5008

O-RING,0.116" Thk x 0.924" ID, -912, Cl 6, 90 Duro

3/4 x 59/64 x 1/8", hydraulic cylinder speed regulator

1шт.

40

A60395

HOSE,12.7mm ID x 726.95mm L

Upper RH, 28-5/8" long, hydraulic cylinder speed regulator

1шт.

41

A32998

HYDRAULIC HOSE,15.88mm ID x 787.4mm L, SAE 100R1

Lower RH, 31-5/8" long, hydraulic cylinder speed regulator

1шт.

Выбрано товаров: 35