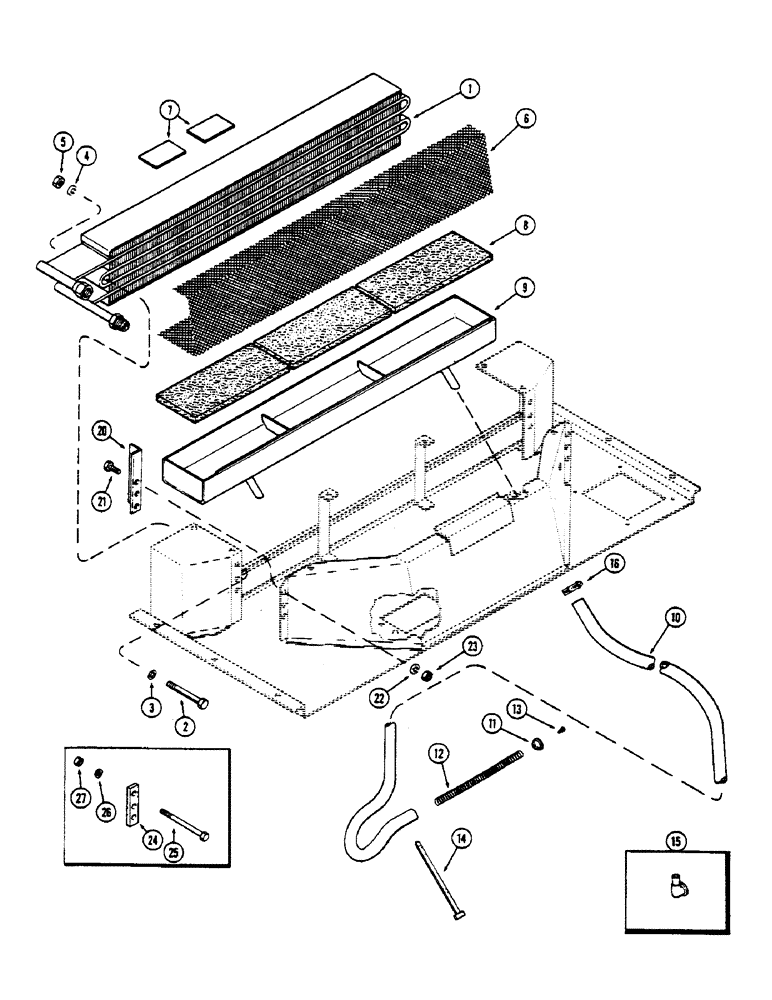
Запчасти Case IH 1175 (288) - CAB, AIR CONDITIONER, DRAINAGE SYSTEM, USED PRIOR TO CAB SERIAL NUMBER 7814176 (09) - CHASSIS

Схема запчастей Case IH 1175 - (288) - CAB, AIR CONDITIONER, DRAINAGE SYSTEM, USED PRIOR TO CAB SERIAL NUMBER 7814176 (09) - CHASSIS
11
3
20
1
22
4
15
14
8
12
9
21
10
2
23
27
5
7
24
13
16
25
6
26
FIT
1:1
100%

Артикул

Название

Примечание

Количество

1

F89638

CORE, RADIATOR

CORE - air conditioner evaporation

1шт.

2

113-18

BOLT,Hex, 1/4" - 20 x 3-3/4", Gr 5

- 1/4 x 3-3/4" N.C. hex. (used w/o heater core)

3шт.

3

A30171

WASHER

- 17/64 x 1 x 1/16"

3шт.

4

192-19

LOCK WASHER,Helical Spring, 0.256" ID, CST, ZND

WASHER, LOCK, 1/4"

3шт.

5

7770

NUT,Hex, 1/4 - 20, Cl 5

1/4"-20, G5

3шт.

6

A42904

SCREEN - evaporator, front

1шт.

7

NSS

NOT SOLD SEPARAT

TAPE - screens, 2" wide x 3" long

2шт.

8

A42903

PAD - foam core spacer

3шт.

9

F63577

PAN

- condensate (Replaces F89639)

1шт.

10

NSS

NOT SOLD SEPARAT

HOSE - drip, 75" long (Order A42698)

2шт.

A42698

HOSE

- drip (50' roll)

1шт.

11

F63328

SEAT, VALVE

VALVE - drip hose (1st used tractor serial no. 8693001)

2шт.

12

F63327

SPRING

- valve (1st used tractor serial no. 8693001)

2шт.

13

151-704

CLIP

- valve, Shakeproof (1st used tractor serial no. 8693001)

2шт.

14

F63329

STRAP

- drip hose (Order F63873) (1st used tractor serial no. 8693001)

2шт.

15

F63228

VALVE - drip hose to tractor, Serial Range: -8693001

2шт.

16

214-253

HOSE CLAMP,#10, 0.56" - 1.06", Type F Worm

CLAMP - hose, 9/16 to 1-1/16"

2шт.

20

A42628

FILLER - plenum, R.H. (w/air cond. only)

1шт.

20

A42629

FILLER - plenum, L.H. (w/air cond. only)

1шт.

21

113-2

BOLT,Hex, 1/4" - 20 x 5/8", Gr 5

4шт.

22

192-19

LOCK WASHER,Helical Spring, 0.256" ID, CST, ZND

WASHER, LOCK, 1/4"

4шт.

23

7770

NUT,Hex, 1/4 - 20, Cl 5

1/4"-20, G5

4шт.

24

F63382

CABINET

SPACER - core (used w/heater and air cond.)

2шт.

25

113-43

BOLT - 1/4 x 4-1/2" N.C. hex.

4шт.

26

192-19

LOCK WASHER,Helical Spring, 0.256" ID, CST, ZND

WASHER, LOCK, 1/4"

4шт.

27

7770

NUT,Hex, 1/4 - 20, Cl 5

1/4"-20, G5

4шт.

Выбрано товаров: 26