Запчасти Case IH 1175 (323A) - AIR CONDITIONER, CONDENSER AND RECEIVER DRYER (09) - CHASSIS

Схема запчастей Case IH 1175 - (323A) - AIR CONDITIONER, CONDENSER AND RECEIVER DRYER (09) - CHASSIS
8
4
12
14
11
9
7
3
13
6
2
1
10
5
FIT
1:1
100%

Артикул

Название

Примечание

Количество

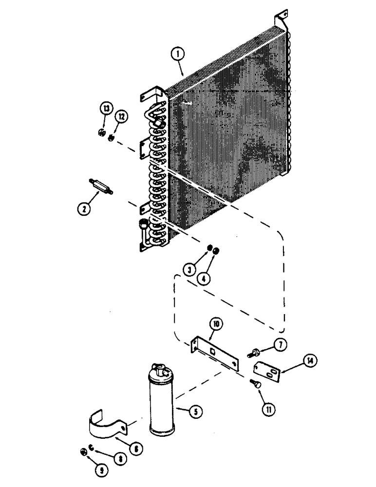
1

A61812

COIL

- condenser

1шт.

2

A66278

STUD - 1/4" N.C. x 3-1/4" special hex

8шт.

3

95-4

WASHER,1/4"

- 5/16 x 3/4 x 1/16"

16шт.

4

7770

NUT,Hex, 1/4 - 20, Cl 5

1/4"-20, G5

8шт.

5

A61688

TANK

RECEIVER - dryer

1шт.

6

A61193

CLAMP

- receiver dryer

1шт.

7

13-512

BOLT,Hex, 5/16" - 18 x 3/4", Gr 5

3шт.

8

92-5

LOCK WASHER,5/16"

3шт.

9

9635082

NUT,5/16" - 18, Gr 5

- 5/16" N.C. hex

3шт.

10

A62131

BRACKET - receiver dryer

1шт.

11

13-48

BOLT,Hex, 1/4" - 20 x 1/2", Gr 5

2шт.

12

92-4

LOCK WASHER,1/4"

WASHER, LOCK, 1/4"

2шт.

13

25-104

NUT,1/4"-20, G5

2шт.

14

A65304

STRAP - support, mounting, Serial Range: bracket-grille

1шт.

Выбрано товаров: 14