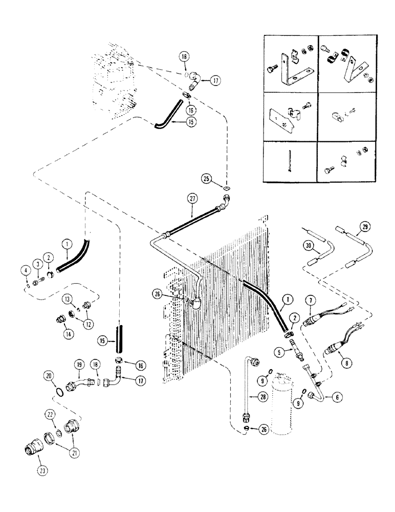
Запчасти Case IH 1175 (328) - AIR CONDITIONER, HOSES AND TUBES, WITH SAFETY SWITCH, USED PRIOR TO TRACTOR SERIAL NUMBER 8731899 (09) - CHASSIS

Схема запчастей Case IH 1175 - (328) - AIR CONDITIONER, HOSES AND TUBES, WITH SAFETY SWITCH, USED PRIOR TO TRACTOR SERIAL NUMBER 8731899 (09) - CHASSIS
14
20
26
18
30
29
15
17
1
16
19
9
2
12
16
5
2
28
1
6
25
4
8
22
26
18
23
15
3
17
21
27
9
13
7
FIT
1:1
100%

Артикул

Название

Примечание

Количество

A65772

SWITCH

KIT - tube, safety switch, Includes: Ref. 1 - 9

1шт.

1

NSS

NOT SOLD SEPARAT

HOSE - cab to receiver drier, 82-1/2" (Order A65802)

1шт.

A65802

HOSE

- (5/16" I.D. x 68-1/2" Cut to desired length)

1шт.

2

A65795

COLLAR CLAMP

CLAMP - hose (5/16" O.D. screw type)

2шт.

3

A65796

ADAPTOR - quick connect

1шт.

4

A61195

O-RING,0.364" ID x 0.5" OD

"O" RING - coupling, 23/64 x 1/2 x 1/16"

1шт.

5

A65793

FITTING -, Serial Range: hose-tube

1шт.

6

A65792

TUBE

- receiver drier

1шт.

7

A65779

SWITCH

- high pressure cut-out

1шт.

8

A65785

SWITCH

- low pressure cut-out

1шт.

9

A61198

O-RING,0.07" Thk x 0.301" ID, -11

"O" RING - 5/16 x 7/16 x 1/16"

2шт.

A65786

CLIP

- hose and tube (See Item 55 on Fig. 330) (3/4 x 3/8")

1шт.

A65773

CLIP - hose and tube (See Item 55 on Fig. 330) (3/4 x 5/8")

2шт.

12

A61196

COUPLING, BREAK AWAY

COUPLING ASSY. - tractor hose, Includes: Ref. 13

1шт.

13

A42667

GASKET

"O" RING - coupling

1шт.

14

A42663

COUPLING,1/2" - 20 NPT

COUPLING ASSY. - cab tube

1шт.

15

A65797

HOSE

- cab to compressor, 62-1/2"

1шт.

16

A65791

COLLAR CLAMP

CLAMP - hose (5/8" O.D. screw type)

2шт.

17

A65789

ELBOW - hose to compressor and adaptor

2шт.

18

222-995

SEALING WASHER,15.88mm ID

- copper flare (5/8" O.D. tube)

2шт.

19

A65788

ADAPTER

ADAPTOR - hose to cab coupling

1шт.

20

A61197

O-RING,1.78mm Thk x 27mm ID

"O" RING - adaptor to coupling, 1-3/64 x 1-3/16 x 1/16"

1шт.

21

A61194

COUPLING, BREAK AWAY

COUPLING ASSY. - tractor tube, Includes: Ref. 22

1шт.

22

A42668

GASKET

- coupling

1шт.

23

A42664

COUPLING, BREAK AWAY

COUPLING ASSY. - cab tube

1шт.

25

222-994

GASKET,1/2 Tube, Fl, Copper

- 45 Degrees, 1/2" O.D. tube

1шт.

26

222-993

GASKET,3/8 Tube, Fl, Copper

2шт.

27

A64580

HOSE

-, Serial Range: condenser-compressor

1шт.

28

A64579

TUBE

-, Serial Range: condenser-receiver

1шт.

29

A61755

ELECTRICAL WIRE

WIRE - low pressure switch to compressor, 36"

1шт.

A62053

HARNESS

LOOM - wire

1шт.

30

A42931

ELECTRICAL WIRE

WIRE - high pressure switch to cab, 197"

1шт.

Выбрано товаров: 32