Запчасти Case IH 1175 (058) - BATTERY BOX AND CABLES (04) - ELECTRICAL SYSTEMS

Схема запчастей Case IH 1175 - (058) - BATTERY BOX AND CABLES (04) - ELECTRICAL SYSTEMS
3
12
4
7
10
19
6
18
2
5
11
1
14
1
13
15
FIT
1:1
100%

Артикул

Название

Примечание

Количество

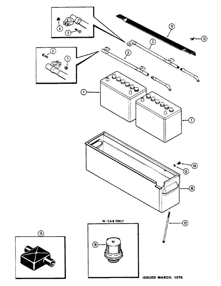
1

A38411

DRY BATTERY

- 12 volt

2шт.

MODELS WITH CAB ARE EQUIPPED WITH BATTERIES HAVING NON-SPILL CAPS. WHEN REPLACING A BATTERY HAVING NON-SPILL CAPS WITH A38411 SERVICE REPLACEMENT BATTERY, THE CAPS FROM THE OLD BATTERY OR (6) A60553 CAPS SHOULD BE INSTALLED ON THE NEW BATTERY.

1шт.

2

A59728

CABLE

ASSY. - battery gound (negative post), Includes: Ref. 3 and 4

1шт.

3

117-108

SQUARE BOLT,5/18" - 16 x 1 3/8", Gr 5

- clamp, 5/16 x 1-3/8" N.C. sq. hd.

2шт.

4

129-516

NUT

- 5/16" N.C. hex.

2шт.

5

A65817

CABLE

ASSY. - battery to starter (positive post) (Replaces A62141), Includes: Ref. 6 and 7

1шт.

6

117-108

SQUARE BOLT,5/18" - 16 x 1 3/8", Gr 5

- clamp, 5/16 x 1-3/8" N.C. sq. hd.

2шт.

7

129-516

NUT

- 5/16" N.C. hex.

2шт.

10

A62137

BOX

ASSY. - battery

1шт.

11

A59173

CLAMP

- hold down, battery

1шт.

12

11-5160

BOLT

- 5/16 x 10" N.C. rd. hd. sq. nk.

2шт.

13

G49020

NUT

- wing, 5/16" N.C.

2шт.

14

113-113

BOLT,Hex, 5/16" - 18 x 7/8", Gr 5

1шт.

15

192-20

LOCK WASHER,Helical Spring, 0.318" ID, CST, ZND

WASHER, LOCK, 5/16"

1шт.

18

A60553

CAP

- battery, no-spill (use w/cab)

12шт.

19

A139372

CAP

- battery (Use on 2 middle terminals)

1шт.

Выбрано товаров: 16