Качественные детали и логистика
Оригинальные и аналоговые запчасти с доставкой по России, Казахстану и Беларуси
©2022 PartSell ООО "Система" ИНН 2463123282 ОГРН 1212400004838
Центральный офис: г. Красноярск, Академика Киренского, д.87, пом.4
Телефон: 8 (800) 777-65-74 Email: zakaz@partsell.ru
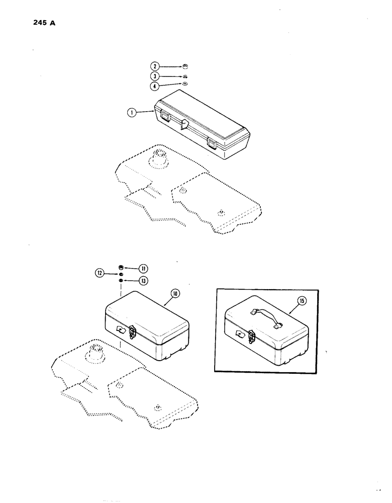
(245A) - TOOL BOX
№
Артикул
Название
Примечание
Количество
1
A66152
BOX
- tool (plastic) (w/or w/o cab)
1шт.
2
129-103
NUT,Hex, 3/8" - 16, Gr 5
NUT, 3/8"-16, G5
2шт.
3
192-21
LOCK WASHER,3/8"
WASHER, LOCK, 3/8"
4
195-104
WASHER,3/8"
- 7/16 x 1 x 5/64"
10
A61174
- tool, mounting (w/o cab) (metal) (Order A66152)
11
25-106
NUT,3/8"-16, G5
- 3/8" N.C. hex.
4шт.
12
92-6
13
95-6
15
A61788
BOX, TOOL
BOX - tool, loose (w/cab) (metal) (Order A66152)
Выбрано товаров: 0