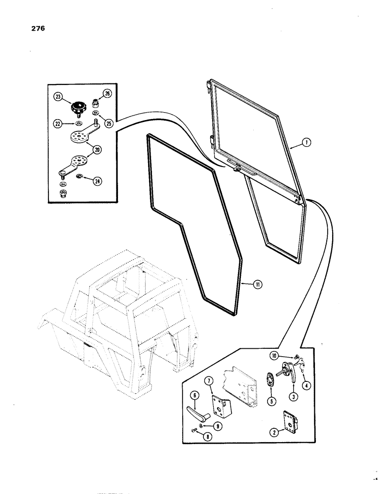
Запчасти Case IH 1270 (276) - CAB, DOOR ASSEMBLY, USED PRIOR TO CAB SERIAL NUMBER 7814176 (09) - CHASSIS/ATTACHMENTS

Схема запчастей Case IH 1270 - (276) - CAB, DOOR ASSEMBLY, USED PRIOR TO CAB SERIAL NUMBER 7814176 (09) - CHASSIS/ATTACHMENTS
23
9
26
5
10
24
25
7
11
2
3
1
20
22
6
8
4
FIT
1:1
100%

Артикул

Название

Примечание

Количество

1

F89691

DOOR ASSY. - cab, Includes: Ref. 2 - 11

1шт.

2

F89708

LATCH

LOCK - door

1шт.

3

A42572

HANDLE

- door, locking, Includes: Ref. 4

1шт.

4

A42653

SET OF 2 KEYS

KEYS - door locking

2шт.

5

A42913

GASKET

- door handle

1шт.

6

A42588

HANDLE

- door, inside

1шт.

7

F63401

COVER

- door latch

1шт.

8

173-237

SCREW,Sl Rnd Hd, #10 - 32 x 1/2"

- #10 x 1/2" N.C. rd. hd.

4шт.

9

192-18

LOCK WASHER,Helical Spring, #10, 0.196" ID, CST, ZND

WASHER, LOCK, #10

4шт.

10

179-154

SCREW,Cross Oval Hd, #10 - 24 x 5/8"

- #10 x 5/8" N.C. phillips

2шт.

11

NSS

NOT SOLD SEPARAT

WEATHERSTRIP - door, 180-1/2" (Order A42504)

1шт.

A42504

TYRE/TIRE

WEATHERSTRIP - door (50' roll)

1шт.

20

F89694

ARM ASSY.

- door, Includes: Ref. 22 - 24

1шт.

22

195-524

WASHER,5/16"

- 3/8 x 1-7/8 x 1/16"

3шт.

23

T39484

KNOB

- regulator

1шт.

24

T39518

SNAP RING,#25, Ext

Ring, Snap, , knob #25, Ext

1шт.

25

95-6

WASHER,3/8"

- 7/16 x 1 x 1/16"

2шт.

26

131-52

NUT,3/8"-16, GC

NUT - 3/8" N.C. hex. flexloc

2шт.

Выбрано товаров: 0